Для студентов МГТУ им. Н.Э.Баумана по предмету Электротехника (ЭлТех)Домашнее заданиеДомашнее задание
5,0052
2025-01-202025-01-20СтудИзба
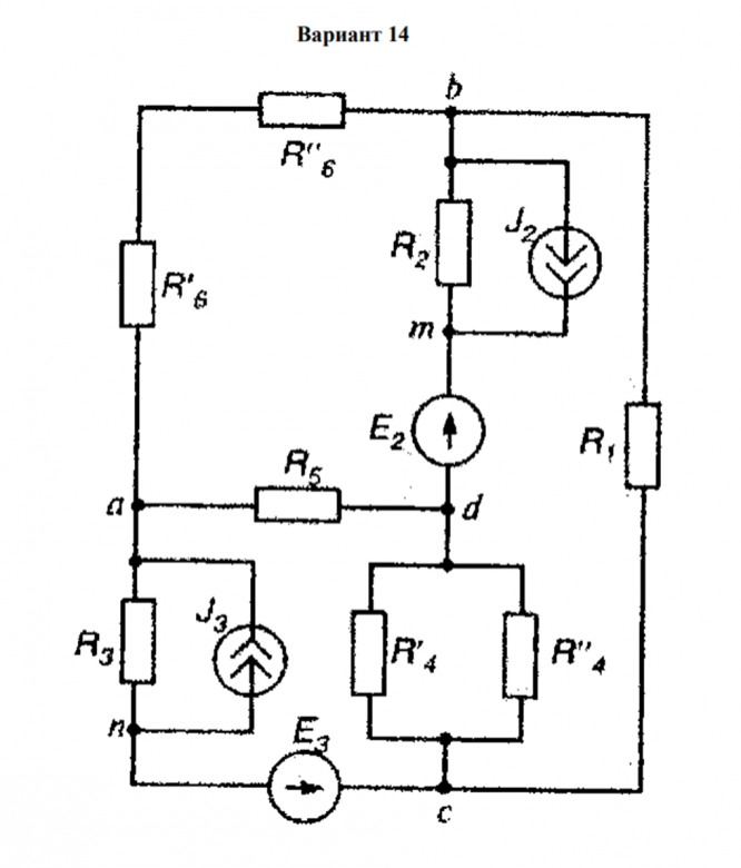
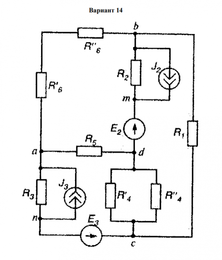
ДЗ 1: Домашнее задание вариант 14
Описание
Домашнее задание для кафедры РК-6 (преподаватель: Белоножко П.П.).
Все этапы решения должны сопровождаться подробными текстовыми пояснениями. Переход к эквивалентной схеме замещения необходимо сопроводить отдельной иллюстрацией.
- Выполнить эквивалентные преобразования исходной схемы (варианты 1 – 20). Заменить два последовательно соединенных резистивных элемента одним. Заменить два параллельно соединенных резистивных элемента одним. Заменить схемы замещения активных двухполюсников, содержащие идеальный источник тока и внутреннее сопротивление, схемами замещения, содержащими идеальный источник ЭДС и внутреннее сопротивление.
- Для преобразованной схемы составить уравнения для определения токов ветвей с использованием первого и второго законов Кирхгофа. Представить полученные уравнения в матричной форме.
- Для преобразованной схемы составить уравнения для определения токов ветвей методом контурных токов. Представить полученные уравнения в матричной форме. Получить составленную методом контурных токов систему уравнений преобразованием системы уравнений, полученной при выполнении п.2.
- Для преобразованной схемы составить уравнения для определения потенциалов узлов методом узловых потенциалов. Представить полученные уравнения в матричной форме. Получить составленную методом узловых потенциалов систему уравнений преобразованием системы уравнений, полученной при выполнении п.2.
- Записать в общем виде выражения для токов ветвей и потенциалов узлов. Допускается использование промежуточных обозначений.
- Составить уравнение энергетического баланса (для преобразованной и исходной схемы).
- Задавая самостоятельно значения параметров исходной схемы (сопротивления резистивных элементов, ЭДС источников и токи источников), написать скрипт, вычисляющий: токи ветвей (решение уравнений п.2); контурные токи (решение уравнений п.3); потенциалы узлов (решение уравнений п.4); мощность, доставляемую в цепь источниками и мощность, потребляемую резисторами (для преобразованной и исходной схемы, п.6).
- Подтвердить правильность вычислений п.7 непосредственным моделированием средствами подсистемы физического моделирования.
- Реализовать программно построение потенциальных диаграмм для всех независимых контуров (для преобразованной и исходной схемы).

Характеристики домашнего задания
Предмет
Учебное заведение
Семестр
Номер задания
Вариант
Программы
Просмотров
83
Качество
Идеальное компьютерное
Размер
2,36 Mb
Преподаватели
Список файлов
Электротехника ДЗ.pdf
Электротехника ДЗ.docx