Для студентов по предмету ЭлектроникаМОДЕЛИРОВАНИЕ ЦИФРОВЫХ УЗЛОВ С ИСПОЛЬЗОВАНИЕМ ПАКЕТОВ МНОГОЗНАЧНОЙ ЛОГИКИМОДЕЛИРОВАНИЕ ЦИФРОВЫХ УЗЛОВ С ИСПОЛЬЗОВАНИЕМ ПАКЕТОВ МНОГОЗНАЧНОЙ ЛОГИКИ
5,0053155
2022-10-062022-10-06СтудИзба
Лабораторная работа 5: МОДЕЛИРОВАНИЕ ЦИФРОВЫХ УЗЛОВ С ИСПОЛЬЗОВАНИЕМ ПАКЕТОВ МНОГОЗНАЧНОЙ ЛОГИКИ
Описание
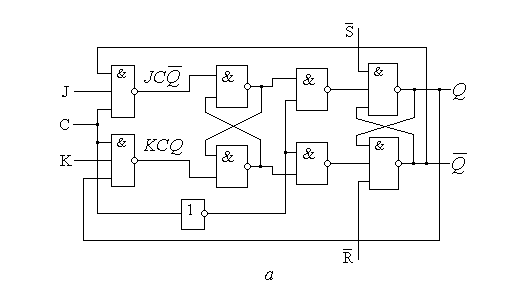
Для двухступенчатого JK-триггера с асинхронными RS-входами построить
а) модель этой схемы;
б) модель внешней среды, включающей:
• модель генератора входных сигналов, создающую в процессе моделирования тестовую последовательность импульсов для данной схемы;
модель наблюдателя-регистратора результатов эксперимента с моделью.
Провести исследование разработанных моделей как единой модели:
а) модель этой схемы;

• модель генератора входных сигналов, создающую в процессе моделирования тестовую последовательность импульсов для данной схемы;
модель наблюдателя-регистратора результатов эксперимента с моделью.
Провести исследование разработанных моделей как единой модели:
Характеристики лабораторной работы
Предмет
Номер задания
Просмотров
1
Размер
48,89 Kb
Список файлов
Lab_4.docx

Если нужен другой вариант работы или отдельная задача из любой работы, пишите в комментарии