Для студентов ИГЭУ им. Ленина по предмету Электрические машиныПараллельная работа трехфазных трансформаторовПараллельная работа трехфазных трансформаторов
5,00571
2025-03-072025-05-18СтудИзба
Лабораторная работа 3: Параллельная работа трехфазных трансформаторов
Описание
- Программа испытаний
2. Соединение обмоток трансформатора по заданным схемам и группами проверка правильности соединения опытным путем.
3.Подтверждение недопустимости параллельной работы трехфазных трансформаторов с различными группами соединений обмоток.
4. Исследование параллельной работы трехфазных трансформаторов.
- Методические указания
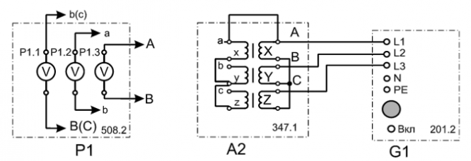
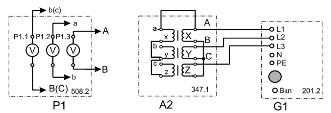
2.Проверка групп соединений обмоток трансформатора.
Группа соединения обмоток трансформатора определяет угол сдвига по фазе одноименных линейных напряжений обмоток ВН и НН. Номер группы вычисляется делением угла сдвига на 30°. Группа соединений обмоток трансформатора проверяется одним из следующих методов: прямым, двух вольтметров, моста постоянного тока. В настоящей лабораторной работе используется метод двух вольтметров.

В работе требуется проверить правильность соединения обмоток трансформатора по схемам и группам:
a) Y/Y- 0; б) Y/Y- 6; в) Y/Δ- 11; г)Y/A - 1.
Указанные схемы соединений обмоток и формулы для расчета напряжений между зажимами представлены в табл. 5.1. Перемычка в схемах проверки групп соединений обмоток ставится между зажимами А и а обмоток ВН и НН, за исключением группы Y/Y - 6, где соединяются зажимы А и х (см. графу «Векторные диаграммы напряжений» табл. 5.1).
Характеристики лабораторной работы
Предмет
Учебное заведение
Семестр
Номер задания
Программы
Теги
Просмотров
13
Качество
Идеальное компьютерное
Размер
1,56 Mb
Преподаватели
Список файлов
МАШИНЫ3.docx

🎓Помощь студентам Ивановских ВУЗов🎓 ❤️ Каждая приобретенная работа служит стимулом для добавления новых материалов и упрощает учебный процесс.