Для студентов по предмету Детали машин (ДМ)Фланцевая муфта передает расчетный вращающий момент ТФланцевая муфта передает расчетный вращающий момент Т
5,0053175
2025-03-072025-03-07СтудИзба
Задача: Фланцевая муфта передает расчетный вращающий момент Т
Описание
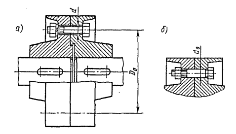
Фланцевая муфта передает расчетный вращающий момент Т. Число болтов, соединяющих стальные фланцы полумуфт, z1 = 6. Диаметр окружности, по которой расположены болты, Do. Определить диаметр болтов d, поставленных с зазором. Коэффициент запаса по сдвигу полумуфт k = 2. Коэффициент трения на стыке полумуфты f = 0,2. Материал болтов класса прочности 3.6. Затяжка болтов неконтролируемая. Нагрузка постоянная. Определить также диаметр стержня болтов d0, поставленных без зазора, если число болтов уменьшено до z2 = 3. Сделать вывод.
Дано: Т = 1000 Нм; D0 = 150 мм = 0,15 м; z1 = 6; k = 2; f = 0,2; z2 = 3 Найти: d0
![]()
Дано: Т = 1000 Нм; D0 = 150 мм = 0,15 м; z1 = 6; k = 2; f = 0,2; z2 = 3 Найти: d0

Характеристики решённой задачи
Предмет
Просмотров
1
Качество
Идеальное компьютерное
Размер
124,9 Kb
Список файлов
Детали машин-10-12.pdf

Если нужен другой вариант работы или отдельная задача из любой работы, пишите в комментарии