Курсовая работа: Привод к цепному конвейеру
Описание
Вариант №6
Содержание
2 Силовой, энергетический и кинематический расчет привода. 5
3 Расчет цилиндрических передач. 9
3.1 Расчет косозубой передачи. 9
3.2 Расчет прямозубой передачи. 19
4.... Эскизное проектирование. 30
4.2Расстояние между деталями передач. 31
4.3Размеры других участков валов. 31
5.... Конструирование зубчатых колёс. 33
6.... Определение размеров элементов корпуса редукгора. 34
Список использованной литературы.. 36
Введение
Цель курсового проекта спроектировать привод к цепному конвейеру, включающего: электродвигатель; двухступенчатый цилиндрический редуктор (редуктор - механизм, состоящий из зубчатых цилиндрических передач, служащий для передачи движения от двигателя к рабочему органу с уменьшением частоты вращения и увеличением вращающего момента и цепную передачу).
Поставленная цель решается посредством следующих задач:
- выбор электродвигателя и кинематический расчет привода;
- расчет зубчатой передачи;
- предварительный расчет валов.
1 Техническое задание
Привод к цепному конвейеру
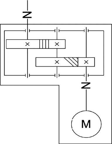
Схема привода

Рис.1 Схема привода

Рис.2 Гистограмма нагружения
Исходные данные:
Шаг цепи конвейера t = 101,8 мм
Скорость цепи v = 0,5 м/с
Усиление на цепи F = 7,3 кН
Число зубьев ведущей звездочки z1 = 13
Коэффициент использования годовой Kг = 0,7
Коэффициент использования суточный Kс = 0,67
Типовой режим нагружения III
ИжГТУ
all_at_700















