Курсовая работа: Привод к ленточному конвейеру
Описание
Содержание
Введение………………………………………………………….……….……..….3
1. Задание на проектирование……………………………………………………..4
2. Выбор электродвигателя. Расчёт кинематических и энергосиловых параметров редуктора……………………………………..………………………….……....….5
2.1 Выбор электродвигателя………………………………………....……...5
2.2 Определение передаточного числа редуктора………………..…….…6
2.3 Определение мощности и вращающих моментов на валах…….…….6
3. Расчёт передачи редуктора……………..…………………………………….…8
3.1 Выбор материалов, термообработки и допускаемых напряжений…..8
3.2 Определение расчётного крутящего момента……………………...….8
3.3 Расчёт основных геометрических параметров цилиндрической зубчатой передачи…………………………………………………………………………..…8
3.4 Определение сил в зацеплении………………….……………………..11
3.5 Проверка зубьев колёс на прочность по контактным напряжениям……………………………………………………………..….…....…11
3.6 Проверка зубьев колёс на прочность по напряжениям изгиба….….....11
3.7 Определение фактической скорости в зацеплении……………….…...12
4. Конструирование редуктора……………………………………………….…….13
4.1 Конструирование вала-шестерни …………………………………...…..13
4.2 Конструирование выходного вала……………………………….….…..13
4.3 Конструирование зубчатого колеса…………………………………….16
4.4 Разработка компоновочного чертежа редуктора………………………17
Литература ……………………………………………………….…………….……31
Введение
Объектом курсового проектирования по дисциплине являются приводы машин подъемно-транспортного и технологического назначения (например, ленточных и цепных конвейеров, подъемников, транспортёров, лебёдок, и др.), в которых используется большое количество типовых узлов и деталей.
В такие приводы входят редукторы общего назначения, при расчёте и конструировании которых происходит формирование практических навыков по всем основным разделам дисциплины.
В мою задачу входит расчет и проектирование одноступенчатого цилиндрического редуктора.
Редуктором называется закрытая зубчатая передача, предназначенная для понижения угловой скорости ведомого вала по сравнению с ведущим. При этом возрастает крутящий момент на ведомом валу.
Одноступенчатые редукторы с цилиндрическими колесами могут изготавливаться с прямыми, косыми или шевронными зубьями. Косозубые колеса целесообразно применять при окружных скоростях более 2 м/с, так как прямозубые колеса работают удовлетворительно на больших скоростях только при высокой точности изготовления.
Рекомендуемые значения передаточного числа одноступенчатых цилиндрических редукторов – 2,5…5; наибольшее значение – 6,3. Число зубьев шестерни не должно быть меньше 17-ти; обычно принимают 20…25.
Корпуса редукторов чаще всего делают литыми чугунными, реже – сварными стальными. Валы зубчатых передач редукторов монтируют на подшипниках качения или скольжения. Подшипники скольжения применяют в редукторах тяжелого машиностроения.
1. Задание на курсовой проект
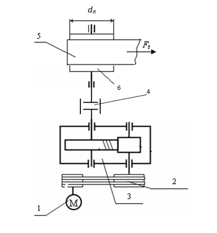
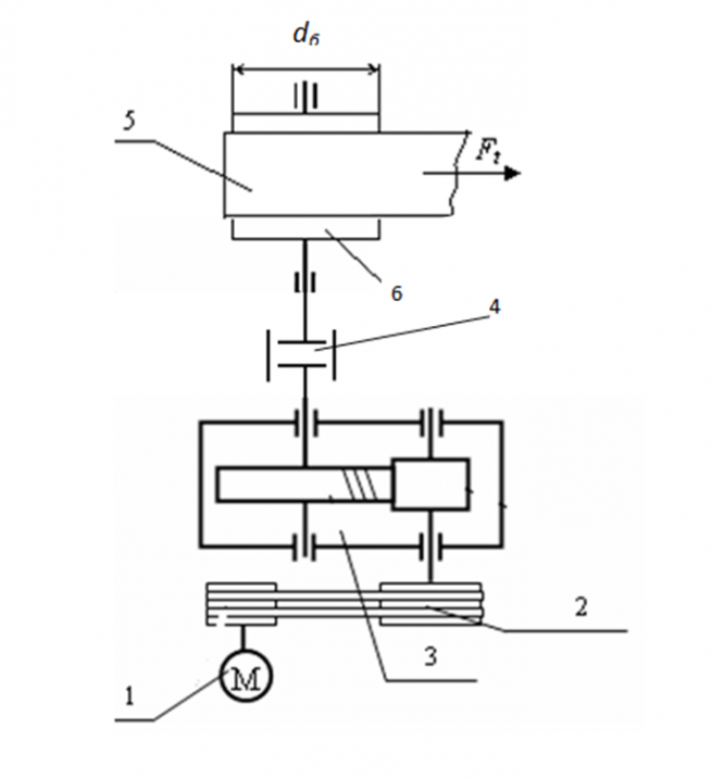
Схема привода ленточного конвейера: 1 - электродвигатель; 2 - ременная передача; 3 - редуктор цилиндрический косозубый одноступенчатый; 4 - зубчатая муфта; 5 - лента конвейера; 6 - барабан конвейера.
F, кН | V, м/с | , мм | , об/мин | |
1,8 | 1,2 | 400 | 1500 | 5,0 |
Подставить свои исходные данные и расчеты делать по ним.
Принятые обозначения: F - окружное усилие на барабане конвейера;
V - окружная скорость на барабане конвейера; - диаметра барабана;
- рекомендуемая частота вращения двигателя; - передаточное число открытой передачи (ременной).
УрГАУ
all_at_700
















