Методичка (997824), страница 10
Текст из файла (страница 10)
Рассмотрим тело до и после деформации (см. рис. 59).
Из равенства объемов
Z
и V = Хд Yд Zд = Xи Yи Zи
Yи Yд
Xи Xд
Рис.59
После логарифмирования получим:
Величины x, y, z называются действительными или истинными степенями деформации.
Для оценки степени деформации можно пользоваться и другими величинами.
Относительные степени деформации: x =
; y =
; z=
;
В обеих оценках положительной степени деформации соответствует растяжение, отрицательной - сжатие.
Величины и связаны между собой
Разложим выражение в ряд: x = ln ( 1 + x ) = x - x2/2 + x3/3 - ...
Этот ряд при x 1 - сходящийся. Отбросив все члены, кроме первого, получим x x.
Для степеней деформации, меньших 0,1 (т. е. для малых деформаций) можно считать x = x.
Соответственно, x + y + z = 0, т.к. x + y + z = 0.
Умножив равенство на объем деформированного тела, получим для всех степеней деформации Vx+ Vy + Vz= 0,
а для малых степеней деформаций Vx +Vy +Vz = 0.
Произведения объема тела на степени деформации представляют собой смещенные объемы Vc по соответствующим направлениям. Таким образом, сумма смещенных объемов равна нулю: Vcx + Vcy + Vcz = 0.
Скоростью деформации называется изменение степени деформации в единицу времени или относительное смещение объема в единицу времени.
= d/dt = dVс / Vdt.
Для малых степеней деформации = d / dt.
При постоянной скорости , а также для средней скорости:
= / t и = / t.
От скорости деформации следует отличать скорость деформирования (скорость движения деформирующего инструмента), а также скорость смещения тех или иных точек тела в процессе деформирования.
Рассмотрим растяжение двух образцов разной длины Zи1 Zи2 (рис. 60)
при одинаковой скорости деформирования, т.е. за одно и то же время зажи-
мы машины переместились на одно и то же расстояние Z. Zд1 - Zи1 = Zд2 - Zи2 = Z
Если промежуток времени t принять за единицу, то 1= / t = Z / Zи1·1,
2= / t = Z / Zи2·1 или
, т. е. мы получили, что скорости деформации разные (при одинаковой скорости деформирования).
Если промежуток времени принят за единицу, имеем также:
Vдеф = Z / t = Z / 1 = Z , откуда Z = Vдеф
где Vдеф – скорость деформирования.
Но из 1= Z / Zи1·1, откуда Z = 1Zи1 и тогда получаем зависимость между скоростью деформации, скоростью деформирования и размером образца: 1 = Vдеф / Zи1 и 2 = Vдеф / Zи2.
Скорости перемещения точек рассматриваемых тел изменяются по высоте образца линейно от нуля в месте закрепления до максимума на верхних торцовых плоскостях.
Z Z
Zи1 Zи2
Zд1 Zд2
Рис.60
Рассмотрим влияние скорости деформации на пластичность и сопротивление деформированию.
Обычно определение механических свойств металла проводят на испытательных машинах при скоростях деформирования порядка 10 мм/с.
Реальные технологические процессы проводят на прессах со скоростями 100-500 мм/с, а на молотах 5 - 10 м/с, т. е. скорости деформации и деформирования существенно выше, чем при испытаниях.
С увеличением скорости деформации напряжение текучести материала возрастает, а пластичность падает. При холодной деформации это влияние скорости на механические характеристики материала значительно ниже, чем при горячей обработке. Поэтому формулы, описывающие зависимость свойств от скорости деформации, разные для холодного и горячего деформирования.
При полном и неполном упрочнении, что соответствует холодной и неполной холодной деформации:
.
При полном и неполном разупрочнении, что соответствует горячей и неполной горячей обработке:
,
где s и s0 - напряжения текучести соответственно при скоростях деформации и 0, m и n - константы, определяемые экспериментально для различных материалов.
8.3. Закон неравномерности деформаций и дополнительных
напряжений
Равномерной называется деформация, показатели которой не зависят от координат. Пример равномерной деформации - осадка цилиндрической заготовки на плоских бойках при отсутствии контактного трения.
Однако большинство операций обработки давлением характеризуются неравномерностью деформации, которая вызывается следующими факторами:
1. Геометрические факторы
Рассмотрим поперечную осадку цилиндра диаметром D (рис.61). Из-за несоответствия формы заготовки и инструмента абсолютная деформация в различных вертикальных сечениях заготовки получается неодинаковой: в сечении А0А2 деформация максимальна (H), в окрестностях точки В тело совсем не деформировано (точка В просто переместилась в точку В1): А = h / h0 , В = 0.
Рассмотрим другой пример, где осадка производится в конических бойках (рис. 62).
Рис.62
Здесь форма заготовки полностью соответствует форме инструмента. Однако, особенности самой формы бойков делают относительную деформацию неравномерной по радиусу заготовки, хотя абсолютная деформация h одинакова для всех точек. На периферии 0 = h / h0 , а в центре 1 = h / h01 .
Т.к. h01 h0 , то 1 0.
В практике из-за несоответствия форм инструмента и заготовки чаще всего встречаются случаи, когда неравномерны и абсолютная и относительная деформации.
Неравномерность деформации, обусловленная действием геометрических факторов, проявляется в операциях листовой штамповки. Например, при гибке волокна получают разную деформацию по радиусу r и по знаку (рис.63).
К
ак видно из рисунка, наружные волокна имеют длину L1 большую, а внутренние волокна длину L2 меньшую, чем длина L0 нейтрального волокна.
Другой пример, при пробивке отверстия очаг пластической деформации сосредоточен в узкой зоне у самой кромки пуансона и матрицы, причем интенсивность деформации на самой кромке настолько велика, что приводит к местному разрушению заготовки.
-
Физические факторы
При осадке плоской заготовки на плоских бойках форма заготовки соответствует форме инструмента, и все сечения заготовки получают одинаковые абсолютные и относительные деформации = h / h0.
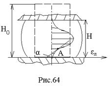
Однако, опыт показывает, что деформация по объему заготовки распределяется неравномерно. Вблизи торцов локальная относительная деформация л намного меньше, чем средняя по объему (рис. 64):
ср = (Нo - Н) / Но , а в средней части заготовки она, наоборот, значительно превосходит ср . Это объясняется влиянием трения на контактных поверхностях.
Для оценки неравномерности деформации пользуются коэффициентом Кн = л / ср, где л = а / а - относительная локальная деформация, а - база координатной сетки, а - изменение базы после деформации ( рис.65).
а а к
Рис.65
Другой показатель неравномерности - градиент неравномерности деформации Гн = tg , где - угол наклона касательной к кривой л = f (z) в
точке А. Однако, для определения Кн и Гн необходимо знать эту функцию.
Неравномерность деформации связана с неравномерным необратимым изменением отдельных частей тела.
Пусть в деформируемом теле (рис.66, а) две части А и В разграничены условной поверхностью mn. Предположим, что эти две части в результате приложения внешней силы получают различные изменения размеров. Если бы элементы А и В могли изменять свою форму обособленно друг от друга, то в результате деформации они приняли бы вид, как на рис. 66, б. Однако, т.к. при деформации соблюдается условие сплошности тела, частицы «к» элемента А взаимодействуют с частицами «к» элемента В.
Поэтому элемент В передает на элемент А силы Та, стремящиеся увеличить размеры А, а элемент А, наоборот, передает на элемент В силы Тв, стремящиеся сдержать его деформацию (рис.66, в).
Таким образом, в теле на границе элементов, деформирующихся с разной интенсивностью, возникают взаимно уравновешивающиеся внутренние напряжения и (рис.66, г). Их называют дополнительными напряжениями, т.к. они не зависят от схемы напряженного состояния, определяемой внешними силами, а возникают, как следствие разницы в деформациях отдельных элементов тела.
Это положение известно, как закон неравномерности деформации и дополнительных напряжений.
Дополнительные напряжения, так же, как и остаточные, разделяют на три рода (аналогично остаточным).
Для снижения неравномерности деформаций стремятся, чтобы заготовка соответствовала форме инструмента, используют современные нагревательные устройства и средства механизации подачи заготовок, исключающие подстуживание заготовок (избегают неравномерности температурного поля), силы контактного трения уменьшают подбором смазок.
Для того, чтобы уменьшить стадию доштамповки (окончательное формоизменение), с помощью заготовительных ручьев приближают форму заготовки к форме готовой детали, при проектировании штампов избегают резких переходов между поверхностями поковки.
8.4. Закон подобия и моделирование процессов
обработки давлением
Постановка эксперимента на натурных изделиях сопряжена с большими затратами. Поэтому часто исследования проводят на моделях, размеры которых значительно меньше размеров изделия, и переносят результаты на процесс, подлежащий освоению.
Чтобы данные, полученные в лаборатории на модели, можно было распространить на натурный объект, необходимо выполнить ряд условий, вытекающих из закона подобия.
Закон подобия устанавливает соответствие силовых условий деформации двух тел разных размеров (модели и натуры), если тела геометрически и физически подобны, а их формоизменение осуществляется в определенных условиях.
Zд следует : 














