Методичка (997824), страница 11
Текст из файла (страница 11)
При деформации модели и натуры:
-удельные силы должны быть одинаковы,
-деформирующие силы соотносятся, как квадраты отношений сходст-
венных размеров,
-работы деформации соотносятся, как кубы отношений сходственных разме-
ров.
Тела считаются геометрически подобными, если имеют одинаковую форму и постоянное отношение сходственных размеров:
Lн / Lм = Bн / Bм = Hн / Hм = n.
Величина n называется константой подобия. Отношение поверхностей натуры и модели равно квадрату, а объемов - кубу константы подобия.
Геометрическое подобие должно выполняться для всех стадий процесса деформирования. Требование геометрического подобия модели и натуры приводит к необходимости геометрического подобия деформирующих инструментов.
Физическое подобие включает следующие требования:
-
физико-химические ( химсостав, микро и макроструктуры) и механические свойства модели и натуры должны быть одинаковыми в исходном состоянии и в любой момент деформации,
-
температурные режимы деформации модели и натуры должны быть оди-
наковыми в любой момент деформации,
-
скорости и степени деформации модели и натуры должны быть одинако-
выми,
-
трение на контактных поверхностях модели и натуры должно быть одина-
ковым.
Это требование выполняется, если материал и шероховатость рабочих поверхностей штампов, качество смазки, скорость скольжения материала по инструменту одинаковы для модели и натуры. Отсюда вытекает необходимость равенства скоростей деформирования модели и натуры.
Приведенные требования физического подобия противоречивы. Например, равенство степеней и скоростей деформации требует равенства времени деформации. Если времена не равны, то процессы упрочнения и рекристаллизации при горячей деформации в модели и натуре протекают неодинаково. Поэтому при деформации с нагревом соблюдение условие равенства времен деформации необходимо. Но, с другой стороны, при равенстве времен нельзя выполнить требование одинаковости температур, т.к. имеет место разная теплоотдача модели и натуры в инструмент (из-за разных объемов и площадей поверхностей). Есть и другие противоречия.
Например для тождественного распределения температуры в модели и натуре необходимо, чтобы время их деформации удовлетворяло условию tм = tн / n2, т. к. время деформации пропорционально поверхности, а поверхно- сти модели и натуры соотносятся как n2. Отсюда следует равенство мº = ºн / n2, которое противоречит требованию о равенстве скоростей деформации.
Таким образом, точное моделирование операций пластического деформирования неосуществимо. Погрешность, вносимая при невыполнении каких- либо требований физического подобия может быть учтена коэффициентами несоответствия, т.е. поправочными коэффициентами, которые определяются опытным путем.
Например, несоответствие в скоростях деформации модели и натуры можно учесть скоростным коэффициентом с , а различия в условиях теплопередачи и температуры конца деформации - с помощью масштабного коэффициента м . qн = qмс ; qн = qмм .
9. Контактное трение
9.1. Понятие контактного касательного напряжения.
Парность сил трения
При взаимодействии деформируемого тела с инструментом на контактных поверхностях возникают силы трения, которые оказывают большое влияние на силы деформирования, на характер формоизменения, качество детали и т.д. Например, при осадке цилиндрической заготовки, чем больше шероховатость бойков, тем больше величина образующейся бочки. При осадке кольцевой заготовки на шероховатых бойках внутренний диаметр уменьшается, а на гладких смазанных - увеличивается и др.
Контактное трение - это механическое взаимодействие двух тел, препятствующее их относительному перемещению в плоскости соприкосновения тел.
Рд течение
металла
T T Rз
Тз Ти
Fи
Fз
Рд
Rи
Рис.67
Рассмотрим осадку образца силами Рд , на торцовых плоскостях которого действуют силы трения Т (см. рис. 67) .
Сила взаимодействия элементов заготовки и инструмента на площадках Fз и Fи в общем случае направлена под углом к нормали. Касательная составляющая Т силы взаимодействия R называется силой трения. В соответствии с 3-м законом Ньютона силе Rз, действующей на заготовку, соответствует такая же сила Rи, действующая на инструмент.
Таким образом, на контактной поверхности заготовки Fз возникает сила трения Тз сопротивления перемещению заготовки относительно инструмента, а на контактной поверхности Fи инструмента возникает сила трения Ти активного действия, которая стремится увлечь инструмент в направлении движения заготовки.
С
ила Тз влияет на качество поверхности заготовки, а сила Ти влияет на износ инструмента. Это положение известно, как закон о парности сил контактного трения сопротивления и активного действия. Силы трения относят к единице площади поверхности трения и величину к = lim T/F при F 0
называют контактным касательным напряжением.
При анализе силового режима и формоизменения заготовки оперируют напряжением кз, действующим со стороны инструмента на заготовку, при анализе нагрузки на инструмент оперируют напряжением ки , действующим со стороны заготовки на инструмент.
Трение в обработке давлением качественно отличается от трения в машинных парах. Во-первых, при пластическом деформировании контактная поверхность детали и инструмента непрерывно обновляется, т.к. увеличивается площадь контактной поверхности. Во-вторых, относительное перемещение деформируемого тела и инструмента в большинстве операций значительны и различны для различных точек контактной поверхности. В-третьих, при обработке металлов давлением имеют место высокие давления и температуры на контактных поверхностях.
Например, если в подшипниках и направляющих машин общего назначения контактные давления не превышают 20-40 МПа, в тяжелонагруженных парах трения кухнечно-штамповочного оборудования они возрастают до 50-100 МПа, то при холодной пластической деформации на контактных поверхностях давления доходят до 2000-2500 МПа. При горячей обработке металлов давления ниже, но на контактных поверхностях действует высокая температура - 800-1000 0С и более. Совместное влияние высоких давлений и температур вносит еще более существенное изменение в процесс взаимодействия инструмента с заготовкой по сравнению с трением в машинных парах.
9.2. Виды трения
В процессах обработки давлением различают три вида трения: сухое, жидкостное и граничное.
Сухое трение возникает между заготовкой и инструментом, когда их контактные поверхности не разделены каким-либо третьим телом (смазка, окислы, воздух и др.). В момент контакта поверхность соприкосновения небольшая, т. к. соприкосновение осуществляется по вершинам выступов микронеровностей (см. рис.68).
Фактическая поверхность контакта Fкф в момент соприкосновения значительно меньше номинальной площади Fкн. Поэтому пластическая деформация начинается на поверхностях фактического контакта, например Fi. После достижения предела текучести начинается деформация гребешков и приработка поверхности заготовки к поверхности инструмента.
В области выступов в условиях больших контактных давлений и значительной местной деформации образуются так называемые «узлы схватывания», т. е. поверхности Fi ,
на которых вследствие агдезии образуется металлическое соединение трущихся тел. При сухом трении прочность такого металлического (местного) соединения в узле схватывания в большинстве случаев выше, чем прочность материала заготовки. Поэтому дальнейшее относительное перемещение заготовки по поверхности инструмента возможно лишь при разрушении материала заготовки.
Z Fкн
И Fi Fi+1`
З
Х
Рис.68
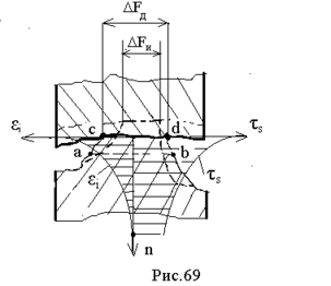
Рассмотрим процесс на площадке Fi (см. рис. 69).
В начальный момент контакта деформация локализуется у вершины выступа, т.к. в этом месте площадь наименьшая и, следовательно, напряжения наибольшие. По мере увеличения площадки от Fи до Fд очаг пластической деформации распространяется вглубь выступа по нормали n. Деформация сопровождается упрочнением, поэтому напряжение текучести на сдвиг s в объеме выступа является переменным. У поверхности контакта s больше, чем вглубь выступа, т.е. градиент механических свойств - отрицательный. В этих условиях внешнее трение переходит в трение внутреннее, и дальнейшее перемещение заготовки и инструмента в направлении ux возможно только, если узел схватывания разрушится по поверхности среза «ав», для которой произведение sFав (сила сопротивления срезу) будет наименьшим.
Если деформируемый металл и металл инструмента близки друг к другу по своим механическим характеристикам, то узел схватывания на поверхности контакта очень прочен, и при трении поверхностей материал заготовки налипает на инструмент. Особенно это характерно при повышенных температурах, при которых материалы более легко образуют металлическое соединение в узлах схватывания (адгезия).
Если сродство материалов инструмента и заготовки невелико, то металлический контакт при низких температурах непрочен, и с повышением температуры его прочность изменяется незначительно.
Поэтому в случае деформирования инструментом, свойства которого сильно отличаются от свойств заготовки, сопротивление срезу по поверхности «ав» больше, чем по поверхности «cd» границы раздела. В этих условиях схватывание происходит, но налипания не наблюдается.
Сухое трение приводит к резкому ухудшению качества поверхности заготовки, повышенному износу инструмента. В чистом виде сухое трение возникает только при обработке в вакууме. В обычных условиях деформации без смазки на поверхностях инструмента и заготовки всегда имеются оксиды, пленки влаги, газовые прослойки, различные загрязнения. Поэтому условия, близкие к сухому трению, существуют лишь на отдельных участках поверхности, главным образом тех, которые образовались в результате увеличения общей площади контакта и выхода на поверхность глубинных слоев металла заготовки.















