тр2 (990014)
Текст из файла
Московский энергетический институт
(Технический Университет)
Лабораторная работа
Метод рентгеновского анализа полупроводниковых материалов
Выполнил: ст. гр. ЭЛ-15-04
Гончаров. Е.О.
Проверил: профессор
Антонов В. А.
Москва
2008
Цель работы:
Целью работы является изучение методов рентгеновского анализа полупроводниковых материалов и приобретение практических навыков при использовании этого метода для анализа структуры материалов.
Задание:
-
Ознакомиться с техникой регистрации рентгенограммы, снятой по методу порошков на рентгеновском аппарате «ДРОН-3».
-
Рассчитать межплоскостные расстояния, определить индексы Миллера, тип элементарной ячейки, химическую формулу вещества.
-
Рассчитать параметры элементарной ячейки.
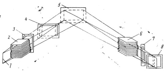
Схема фокусировки рентгеновских лучей в аппарате «ДРОН-3»
Рисунок 1
В аппарате «ДРОН-3» используется явление дифракции рентгеновских лучей, подчиняющихся закону Вульфа—Брэгга. Схема фокусировки представлена на Рисунке 1. Рентгеновское излучение от источника 1, находящегося на круге фокусировки, через систему щелей 3, 4, ограничивающих расходимость пучка в горизонтальном и вертикальном направлениях, падает на исследуемый образец 5, плоскость которого касается фокусирующей окружности. Дифрагированное излучение от исследуемого образца через систему щелей Соллера 6, аналитическую щель 7, находящуюся на фокусирующей окружности, и ограничивающую пучок в вертикальном направлении щель 8, попадает в детектор, в котором кванты рентгеновского излучения преобразуются в электрические импульсы. Импульсы поступают в устройство электронно-вычислительное унифицированное УЭВУ-М1-2, усиливаются и попадают в одноканальный дискриминатор, который может ограничить импульсы, как по нижнему, так и по верхнему уровням, т. е. пропускает лишь импульсы, соответствующие энергии квантов характеристического излучения. После дискриминатора импульсы могут быть направлены в интенсиметр, где измеряется скорость счета, и в пересчетное устройство, в котором производится счет импульсов за выбранный промежуток времени (метод Таймера) или считывается время, за которое набрано определенное количество импульсов (метод набора постоянного числа импульса). В первом случае регистрация производится прямопоказывающим прибором интенсиметра, во втором — световым табло пересчетного устройства.
Экспериментальная рентгенограмма с пронумерованными пиками (рефлексами):
Рисунок 2
Параметры установки:
Длина волны: λ = 1,541 Ǻ
Обработка данных:
-
Рассчитаем таблицу относительных интенсивностей рефлексов и межплоскостных расстояний.
Межплоскостное расстояние находится по формуле Вульфа-Брэгга:
Таблица относительных интенсивностей рефлексов и межплоскостных расстояний
| N | 2θ˚ | θ˚ | I/Io | sinθ | Dhkl,Å | I/Io ·100% | h k l |
| 1 | 55 | 27,5 | 0,186658 | 0,46175 | 1,668652 | 18,6658 | 1 0 4 |
| 2 | 54 | 27 | 0,057278 | 0,45399 | 1,697174 | 5,7278 | 0 0 4 |
| 3 | 52,9 | 26,45 | 0,046496 | 0,44542 | 1,729828 | 4,6496 | - |
| 4 | 52,44 | 26,22 | 0,09973 | 0,44182 | 1,743923 | 9,973 | 3 1 8 |
| 5 | 51 | 25,5 | 0,256065 | 0,43051 | 1,789738 | 25,6065 | 2 0 0 |
| 6 | 50 | 25 | 0,32345 | 0,42262 | 1,823151 | 32,345 | 3 1 3 |
| 7 | 49,2 | 24,6 | 0,040431 | 0,41628 | 1,850918 | 4,0431 | - |
| 8 | 48,84 | 24,42 | 0,121294 | 0,41342 | 1,863722 | 12,1294 | 1 1 2 |
| 9 | 48,34 | 24,17 | 0,050539 | 0,40945 | 1,881793 | 5,0539 | 2 2 3 |
| 10 | 46,38 | 23,19 | 0,078167 | 0,39378 | 1,956676 | 7,8167 | - |
| 11 | 44,76 | 22,38 | 0,089623 | 0,38075 | 2,023638 | 8,9623 | 3 2 4 |
| 12 | 43 | 21,5 | 0,273585 | 0,3665 | 2,102319 | 27,3585 | 4 1 0 |
| 13 | 42,02 | 21,01 | 0,065364 | 0,35853 | 2,149053 | 6,5364 | 3 3 1 |
| 14 | 41,4 | 20,7 | 0,274259 | 0,35347 | 2,179817 | 27,4259 | 1 3 2 |
| 15 | 40,08 | 20,04 | 0,349057 | 0,34268 | 2,248453 | 34,9057 | 0 2 8 |
| 16 | 38,42 | 19,21 | 0,08221 | 0,32903 | 2,341732 | 8,221 | 1 1 9 |
| 17 | 37,16 | 18,58 | 0,080863 | 0,31863 | 2,418165 | 8,0863 | 1 4 0 |
| 18 | 35,6 | 17,8 | 0,031671 | 0,3057 | 2,520445 | 3,1671 | - |
| 19 | 34,96 | 17,48 | 0,080863 | 0,30037 | 2,56517 | 8,0863 | 0 2 6 |
| 20 | 33,18 | 16,59 | 0,202156 | 0,28552 | 2,698585 | 20,2156 | 2 0 11 |
| 21 | 32,22 | 16,11 | 0,086253 | 0,27748 | 2,776777 | 8,6253 | 1 1 1 |
| 22 | 29,64 | 14,82 | 1 | 0,25578 | 3,012354 | 100 | 2 2 1 |
| 23 | 29,26 | 14,63 | 0,330189 | 0,25258 | 3,050519 | 33,0189 | 1 1 6 |
| 24 | 28,44 | 14,22 | 0,660377 | 0,24565 | 3,136576 | 66,0377 | 0 4 0 |
| 25 | 27,82 | 13,91 | 0,12062 | 0,2404 | 3,205075 | 12,062 | 2 0 2 |
| 26 | 26,36 | 13,18 | 0,397574 | 0,22801 | 3,379238 | 39,7574 | 1 2 2 |
| 27 | 21,02 | 10,51 | 0,059299 | 0,18241 | 4,224001 | 5,9299 | 0 1 8 |
| 28 | 19,24 | 9,62 | 0,090296 | 0,16711 | 4,610735 | 9,0296 | 1 0 1 |
-
Выбор таблицы структурных данных по картотеке ASTM.
Сравнивая экспериментальные линии спектра по интенсивности и межплоскостному расстоянию с данными в таблицах картотеки ASTM, находим подходящую таблицу и определяем структурные данные исследуемого образца и химическую формулу вещества.
Химическая формула исследуемого вещества:
Симметрия структуры решётки: Тетрагональная
-
Определение параметров решётки.
Формула для расчёта параметров элементарной ячейки с тетрагональной симметрией:
Характеристики
Тип файла документ
Документы такого типа открываются такими программами, как Microsoft Office Word на компьютерах Windows, Apple Pages на компьютерах Mac, Open Office - бесплатная альтернатива на различных платформах, в том числе Linux. Наиболее простым и современным решением будут Google документы, так как открываются онлайн без скачивания прямо в браузере на любой платформе. Существуют российские качественные аналоги, например от Яндекса.
Будьте внимательны на мобильных устройствах, так как там используются упрощённый функционал даже в официальном приложении от Microsoft, поэтому для просмотра скачивайте PDF-версию. А если нужно редактировать файл, то используйте оригинальный файл.
Файлы такого типа обычно разбиты на страницы, а текст может быть форматированным (жирный, курсив, выбор шрифта, таблицы и т.п.), а также в него можно добавлять изображения. Формат идеально подходит для рефератов, докладов и РПЗ курсовых проектов, которые необходимо распечатать. Кстати перед печатью также сохраняйте файл в PDF, так как принтер может начудить со шрифтами.
















