Микро-2спрос (989620)
Текст из файла
Спрос
Спрос на товар характеризует наше желание купить количество товара.
Объемом спроса называют количество товара, которое согласно купить отдельное лицо, группа людей или население в целом в единицу времени (день, месяц, год) при определенных условиях.
где
- объем спроса на i-тый товар (i = 1,2,..., k); Т - вкусы и предпочтения; P1, .. .,Pk - цены всех товаров, включая i-тый; I - денежный доход.
Е
сли все остальное = const, то
x- объем спроса, y - цены спроса
Обратная зависимость цены от объема наз. законом спроса
изменение объема (величины) спроса - вдоль кривой
-
стрижка стала дороже, число клиентов парикмахера сократилось
и изменение спроса - сдвиг кривой
-
доходы потребителей выросли, увеличился сбыт ювелирных изделий.
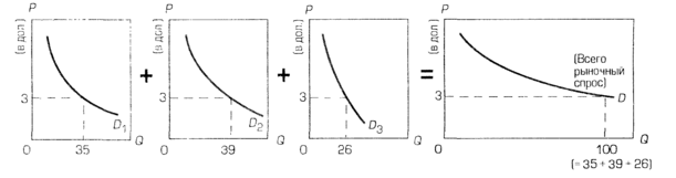
Рыночный спрос
функцию рыночного спроса можно получить суммированием индивидуальных функций спроса всех m потребителей:
и
ли Q i = Q i ( T, P 1 1 , ..., P k , I ), I - вектор доходов всех потребителей; Т - вектор потребительских вкусов и предпочтений.
И
ндив. кривые спроса имеют дискретный характер, и обычно должны быть вогнутыми (спрос насыщается, вертик. участок в конце)
Это при выполнении аксиомы независимости потребителя - удовлетворение отдельного потребителя определяется только объемом и структурой потребляемых им благ и не зависит от объема и структуры потребления других лиц. Часто аксиома не выполняется. Спрос отдельного потребителя в существенной мере зависит от потребления этих товаров другими. Эффект усиливается влиянием моды, рекламы. индивидуальная функция спроса q ij = f j (
) где
- оценка объема рыночного спроса на i -тый товар j -тым потребителем. q ij /
> 0 - эффект подражания большинству, q ij /
<0 - эффект сноба Это все может привести к отклонению спроса от рисунка 4.1
Изменение спроса при изменении цены расскладывается на 2 эффекта:
п
арадокс Гиффена (единств. исключ. из закона спроса) во время голода в Ирландии в сер XIX в. объем спроса на картофель, цена которого выросла, увеличился. (сократилось потребление дорогих и качественных продуктов. Т.к. картофель оставался наиболее дешевым продуктом, объем спроса на него вырос)
Предложение
О
бъемом предложения называют количество товара, которое желает продать на рынке отдельный продавец или группа продавцов в единицу времени при определенных условиях.
В отличие от общего закона спроса, практически не знающего исключений, подобного общего закона предложения не существует.
К числу условий, определяющих предложение относятся (детерминанты предложения):
-
характер применяемой технологии,
-
цены данного и других товаров,
-
цены производственных ресурсов,
-
наличие и размеры налогов и дотаций,
-
в природоэксплуатирующих отраслях природно-климатические условия,
-
ожидания
-
число продавцов
В общем виде функция предложения имеет вид
- объем предложения i-того товара (i = 1,2,..., k);
Li, - характер применяемой в производстве i-того товара технологии;
P1, ..., Pk - цены товаров, включая i-тый товар;
Ti - налоги и дотации, установленные по i-тому товару;
N -природные условия.
Если все факторы кроме цены товара (Pi) = const,
-
изменение объема предложения (вдоль)
-
из-за снижения на розничных рынках цен на яблоки, их поставки на рынки сокращаются.
-
-
изменение предложения (сдвиг кривой)
Увеличение предложения может произойти по следующим причинам:
а) понижение цен на применяемые в производстве данного товара ресурсы;
-
снижение цены на удобрения или на семена увеличивает предложение пшеницы,
б) понижение цен на товары, которые являются "конкурентами" данного товара
-
понижение цены на свеклу может увеличить предложение моркови (фермеру выгоднее засеять свое поле морковью);
в) повышение цен на товары, производимые "совместно" с данным товаром.
-
повышение цен на шкуры крупного рогатого скота может увеличить предложение говядины;
г) улучшение технологии производства данного товара;
-
создание более эффективного инсектицида против кукурузного вредителя увеличивает предложение зерна
д) уменьшение налога на данный товар или введение дотации;
-
уменьшение акцизного налога на сигареты увеличивает их предложение
е) благоприятные погодные условия, если речь идет о сельскохозяйственном продукте, или открытие месторождений с благоприятными условиями добычи, если речь идет об ископаемом сырье.
ж) изменение ожиданий
-
ожидание существенного снижения в будущем цен на нефть побуждает нефтяные компании увеличивать текущее предложение
з) увеличение числа продавцов
Взаимодействие спроса и предложения. Равновесие
Рыночное равновесие определяется координатами точки пересечения линий DD и SS
Равновесные цена и объем - рынок сбалансирован, ни у продавцов, ни у покупателей нет внутренних побуждений к его нарушению.
Равновение по Вальрасу: при цене, отличной от PE, рынок не сбалансирован, а у покупателей и продавцов имеются эффективные стимулы к изменению сложившейся ситуации. При цене выше равновесной избыток предложения будет понижать цену
При цене ниже равновесной избыток спроса (дефицит) будет увеличивать цену
Равновесие в мгновенном, коротком и длительном периоде
-
мгновенный период (очень короткий, рыночный) все факторы производства рассматриваются как постоянные.
-
Короткий SR - одна группа факторов рассматривается как постоянная (пределы технической производственной мощности), а другая как переменная (число отработанных человеко-дней или человеко-часов, расхода сырья и материалов)
-
длительный LR - все факторы производства рассматриваются как переменные
-
очень длительный ("вековой") может меняться не только объем применяемых ресурсов и интенсивность их использования, но и характер применяемой технологии.
Мгновенный
П
родавец лишен возможности приспособить объем предложения к объему спроса
Пр: распродажа капусты накануне приближения заморозков
.
Короткий
QK - максимальная производственная мощность
Д
лительный
Новое равновесие: Р2 > Р0 но P2< Р1, и Q2 > Qk
Государственное регулирование рынка
Основные методы гос. регулирования:
-
прямой контроль за ценами и объемами рынка (установление обязательных государственных цен или рыночных квот)
-
использование финансовых инструментов (налогов и дотаций),
Потоварный налог:
Пусть Т руб. - налог на каждую единицу товара
a) 2.16 налог вносится в бюджет продавцами.
-
предложение падает (цена увеличивается на размер налога T)
-
цена Р+, которую платит покупатель > Р1.
-
Р-, которую получает продавец < Р1
! часть налогового бремени ложится на покупателей.
б) налог платят покупатели
-
спрос уменьшается (вниз)
-
Q2, цены Р+ и Р- точно такие же, когда налог платят продавцы
! неважно, кто является плательщиком потоварного налога: продавец или покупатель
С
тепень воздействия потоварного налога на объем продаж зависит от наклонов спроса и предложения.
-
красные машины
-
сельскохозяйств. тракторы
Распределение налогового бремени между покупателями и продавцами зависит от соотношения в наклонах спроса и предложения.
-
чем больше наклон линии спроса, тем большая часть налога ложится на покупателей
-
ч
ем меньше наклон линии предложения, тем меньшая часть налога ложится на производителей.
Фиксированные цены
фиксир. цена Р > PE приведет к избытку предложения S
фиксир. цена Р" < PE приведет к дефициту D . объем продаж < QE
р
ис. 2.23. Рост доходов ведет к сдвигу линии спроса от D1D1 к D2D2, сдвиг равновесия к E2 . правительство может блокировать рост цены, фиксировав P1. объем спроса возрастает до <Qз- Производители могли бы удовлетворить этот спрос лишь при цене P3. Чтобы не допустить дефицита (Q3 -Q1) при стабильной цене PI, правительство устанавливает дотацию в сумме V, линия предложения смещается вниз вправо в положение S2S2. В результате объем продаж Q3 > равновесного Q2, но при этом дотируются не только те покупатели, для которых цена P2 велика, но и те, кто согласен платить более высокую цену. Дальнейший рост доходов сдвигает линию спроса в D3D3, точка равновесия E3 Правительство по-прежнему блокирует цену на уровне P1. В результате объем спроса возрастает до Q4. Но рост предложения теперь уже невозможен, т.к. Q3 соответствует полному использованию производственных мощностей. Поэтому не имеет смысла и увеличение субсидий сверх уровня V. В результате возникает дефицит в объеме Q4 - Q3
Распределение приобретает случайный характер, развивается черный рынок, вводится рационирование (талоны, карточки). Примерно по такому сценарию развивался в СССР дефицит на рынке мясо-молочной продукции.
Характеристики
Тип файла документ
Документы такого типа открываются такими программами, как Microsoft Office Word на компьютерах Windows, Apple Pages на компьютерах Mac, Open Office - бесплатная альтернатива на различных платформах, в том числе Linux. Наиболее простым и современным решением будут Google документы, так как открываются онлайн без скачивания прямо в браузере на любой платформе. Существуют российские качественные аналоги, например от Яндекса.
Будьте внимательны на мобильных устройствах, так как там используются упрощённый функционал даже в официальном приложении от Microsoft, поэтому для просмотра скачивайте PDF-версию. А если нужно редактировать файл, то используйте оригинальный файл.
Файлы такого типа обычно разбиты на страницы, а текст может быть форматированным (жирный, курсив, выбор шрифта, таблицы и т.п.), а также в него можно добавлять изображения. Формат идеально подходит для рефератов, докладов и РПЗ курсовых проектов, которые необходимо распечатать. Кстати перед печатью также сохраняйте файл в PDF, так как принтер может начудить со шрифтами.
ем меньше наклон линии предложения, тем меньшая часть налога ложится на производителей. 














