КурсачКоретников - ТТЛ (988159), страница 2
Текст из файла (страница 2)
Ограничения на R7:
К
огда напряжение в точке 2 равно лог. 1, конденсатор ток не пропускает и весь ток, текущий через резистор течёт через входной Л.Э. ЖМВ1. Если взять R7 очень большой, то на нём будет большое падение напряжения и в точке 2 напряжение будет меньше напряжения логической единицы. Из-за этого ЖМВ1 работать небудет
Когда же напряжение в точке 1 меняется от лог. 1 до лог. 0 конденсатор представляет собой короткое замыкание и выход ЦЗ1 подключен к R7. Если R7 будет маленьким, то ток, текущий через него может превысить максимально допустимый выходной ток Л.Э,
Н
апишем закон изменения напряжения в точке 2 и найдём значения R7 и С5
При t = Tи min / 2 U2 = U*
Возьмём R7 = 20 кОм С5 = 2,875 нФ.
По таблице номиналов (5%) берём C5 = 3 нФ.
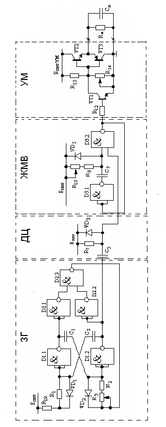
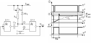
Ждущий мультивибратор 1.
Рис9 (а, б)
ЖДМ1 запускается перепадом напряжения в точке 2 (см рис 9а) от U1 до U0. Этот запускающий импульс приходит с выхода ДЦ1. При этом конденсатор начинает заряжаться и когда напряжение в точке 1 достигнет значения U* оба Л.Э. окажутся в области активных характеристик, в схеме возникнет глубокая положительно обратная связь, приводящая к скачку токов и напряжений (см рис 9б). Произойдёт «опрокидование» ЖМВ1 и снова наступит ждущий режим. Длительность времени Tи характеризуется временем заряда конденсатора. Т.к. в момент заряда конденсатора в точке 1 логический нуль, то конденсатор будет заряжаться не только током текущем через резистор, но и входным током Л.Э. D1.4. Начертим эквивалентную схему заряда конденсатора и найдём время Tи (обозначим Rобщ = R9 + R10):
Найдём ограничения на Rобщ:
В состоянии логического нуля в точке 1 входной ток Л.Э. D3.2 и ток, текущий через резистор Rобщ текут через выходное сопротивление Л.Э. D3.1. Если взять Rобщ очень маленьким, то ток может превысить максимально допустимый
В
состоянии логической единицы в точке 1 ток через С5 не течёт и весь ток, текущий через Rобщ втекает в Л.Э. D3.2. Если взять Rобщ очень большим, то на нём будет большое падение напряжение и в точке 1 напряжение будет меньше, чем логическая единица
Возьмём Rобщ = 330 Ом, С5, при котором Tи = Ти min будет равен 404 нФ.
Тогда Rобщ при котором Ти = Ти max и С7 = 404 нФ будет равен 33 кОм.
R9 = 330 Ом, R10 = 33 – 0.33 = 32.67 кОм.
По таблице номиналов (5%) берём С7 = 62 нФ, R9 = 330 Ом, R10 = 33 кОм
Усилитель мощности.
Рис 12 (а, б)
Возьмём Eпит ум = 20 В, = 50, rб = 200 Ом – сопротивление базы транзисторов.
Когда в точке 1 (см рис 12а) напряжение логического нуля транзистор VT1 закрыт (т.к. напряжение между базой и эмиттером меньше чем 0.7 В). Потенциал базы VT3 больше, чем эмиттера VT3 тоже закрыт. Конденсатор Cн заряжается через открытый транзистор VT2. Перечертим схему, приведённую на рис 12 и найдём сопротивления R13 и R14: рассмотрим статический режим работы схемы (рис 13)
U
3 = 15В Iэ = Iн = 15 В/ 2 кОм = 7,5 мА.
Iб = Iэ / ( + 1) = 7,5 / 51 = 147 мкА.
Для того, чтобы изменение R14 заметно влияло на изменение базового тока VT2 (а значит и на изменение амплитуды выходного сигнала) надо, чтобы ток, текущий через него был порядка тока базы VT2.
Возьмём ток, текущий через R14 равный двум базовым токам VT2 I2 = 2*Iб = 2*147 = 294 мкА. Тогда ток I1 будет равен: I1 = I2 + Iб = 3* Iб = 3*147 = 441 мкА.
U2 = U3 + Uбэ = 15 + 0,7 = 15,7 В.
Рис 13
Н
айдём сопротивления R13 и R14:
Когда напряжение в точке 1 (см рис 12а) равно напряжения логической единицы VT1 и VT3 открываются, а VT2 закрывается и конденсатор разряжается через открытый VT3.
Напряжение в точке 1 равно 2,4 В, при этом ток, текущий в базу VT1 будет равен 10 мА.
Найдём величину R12:
По таблице номиналов (5%) берём: R12 = 160 Ом, R13 = 10 кОм, R14 = 56 кОм.
Проверим, хватит ли выходного тока Л.Э., втекающего в базу VT1, для обеспечения коллекторного тока этого транзистора, который равен сумме токов, текущего через R13 и базового тока VT3. Базовый ток VT3 определяет эмиттерный ток VT3, а следовательно и ток разрядки конденсатора Cн. Если базовый ток VT1 будет недостаточный для обеспечения нужного коллекторного тока, то конденсатор будет разряжаться дольше и время фронта будет больше, чем нужно по условию курсового проекта.
Т
ок разрядки конденсатора равен:
Базовый ток VT3 равен:
Т
ранзистор VT1 в насыщении Uкэ нас VT1 0,3 В.
Коллекторный ток VT1 будет равен: Iк VT1 = IR13 + Iб VT3 = 1,97 + 0,059 = 2,029 мА.
Тогда базовый ток VT1 будет равен: Iб VT1 = Iк VT1 / 2,029 / 50 = 40,6 мкА.
Это минимальный базовый ток VT1, который необходим, чтобы конденсатор успел полностью разрядится за время равное 15 мкс.
Т.к. выходной ток Л.Э. равен 10 мА > 40,6 мкА за необходимое время конденсатор успеет полностью разрядиться.
Найдем tф (см рис 12б):
t
ф 2,3 * , где = Сн*(Rн || rвых ок); rвых ок = h11 об + (R13 || R14)/(+1); h11 об = rэ + rб/(+1)
По условию курсового проекта tф = 3,5 мкс. Получаемая величина в 42 раз меньше, следовательно, данный усилитель в состоянии обеспечить нужные фронты.
При расчёте УМ мы пренебрегали инерционностью всех транзисторов, т.к. ёмкости p-n переходов и транзисторов пренебрежимо малы по сравнению с емкостями нагрузок и временем фронтов соответственно.
Стабилизатор напряжения 1.
Рис 16
Стабилизатор собран на микросхеме КР142ЕН5А. Эта микросхема представляет собой компенсационный стабилизатор напряжения с фиксированным выходным напряжением с защитой от перегрузки по току и перегрева.
С
правочные данные по КР142ЕН5А:
По условию курсового проекта стабилизатор должен обеспечить стабильность напряжения питания Eпит = 0.3% Eпит. Eпит. = 5В Eпит = 0.3*5/100 = 0.015 В.
Нестабильность напряжения питания может быть вызвано двумя причинами: измемением напряжения на входе стабилизатора (Uвх = Uвх 20% ) и пульсацией тока, связанной с переключением логических элементов из одного логического состояния в другое.
Н
апряжение аРа на входе стабилизатора возьмём равным 10 В. Т.к. напряжение в сети может меняться на 20%, то напряжение на входе стабилизатора будет меняться от 8 до 12 В. Конденсатор С9 должен обеспечить сглаживание пульсации напряжения на входе
где t = 10 мс (полупериод сетевого напряжения), Uвх = 12-8 = 4В, Iпит – ток нагрузки.
Ток нагрузки равен сумме токов, которые потребляют логические элементы.
Когда на входах Л.Э. уровень логической единицы ток, потребляющийся от источника питания равен I1пит = 3,15 мА, а когда на входах Л.Э. уровень логического нуля, то Л.Э. потребляет ток, равный I0пит = 1 мА
Т
.о. средний ток, который потребляет Л.Э, равен:
а изменение тока, при переключении Л.Э. из одного состояния в другое будет равен:
В
генераторе использовано 12 Л.Э., следовательно, ток потребления и изменение тока будут равны:
Т
еперь проверим изменение выходного напряжения вследствие пульсации тока:
Это больше, чем должно быть по условию курсового проекта конденсатор C10 надо подобрать таким, чтобы он уменьшил действие пульсации(Xung dong co mach dap) тока и Eпит было не больше, чем требуется.
Е
сли бы не было конденсатора С10, то Iпит, при заданном Eпит, был бы равен:
Т
.к. в нашем случае Iпит = 12,9 мА, то конденсатор C10 за время разрядки должен обеспечить ток, равный IC10 = 12,9 – 2, 49 = 10,41 мА. Время разрядки возьмём равным максимальной длительности генерируемого импульса.
Значит, поставив С10 равным 347 мкФ, мы обеспечим нужное Eпит, при Iпит = 12,9 мА.
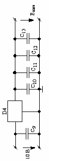
Конденсаторы С11,С12 и С13 берём равными 10 нФ. Они припаиваются непосредственно к 7 и 14 выводу микросхем К155ЛА3 для предотвращения распространения пульсации в шинах питания генератора, вызванной переключением Л.Э. из одного логического состояния в другое.
П
о таблице номиналов(5%) берём:
Конденсатор С9 на напряжение 25 В, а С10 – на 10 В.
| Обозначение | Наименование | Количество | Примечание | ||||||
| Резисторы | |||||||||
| R1 | МЛТ-0.125-1,3к (5%) | 1 | |||||||
| R2 | МЛТ-0.125-470 (5%) | 1 | |||||||
| R3 | СП-1-0.25-15к А | 1 | |||||||
| R4 R6 | МЛТ-0.125-1к (5%) | 2 | |||||||
| R5 | СП-1-0.25-7,5к А | 1 | |||||||
| R7 | МЛТ-0.125-20к (5%) | 1 | |||||||
| R8 | МЛТ-0.125-1,1к (5%) | 1 | |||||||
| R9 | МЛТ-0.125-330 (5%) | 1 | |||||||
| R10 | СП-1-0.25-33к А | 1 | |||||||
| R11 | МЛТ-0.125-2к (5%) | 1 | |||||||
| R12 | МЛТ-0.125-160 (5%) | 1 | |||||||
| R13 | МЛТ-0.125-10к (5%) | 1 | |||||||
| R14 | СП-1-0.25-56к А | 1 | |||||||
| R15 | МЛТ-0.125-160 (5%) | 1 | |||||||
| R16 | МЛТ-0.125-100к (5%) | 1 | |||||||
| R17 | СП-1-0.25-560к А | 1 | |||||||
| R18 | МЛТ-0.125-25к (5%) | 1 | |||||||
| R19 | МЛТ-0.125-510 (5%) | 1 | |||||||
| Конденсаторы | |||||||||
| С1 | К50-16-3,9 мкФ | 1 | |||||||
| С2 | К50-16-7,5 мкФ | 1 | |||||||
| С3 С4 | К10-50-75нФ | 2 | |||||||
| С5 | К10-73-3нФ | 1 | |||||||
| С6 | К10-73-1нФ | 1 | |||||||
| С7 | К10-47-62нФ | 1 | |||||||
| С8 | К10-73-2,2нФ | 1 | |||||||
| С9 | К50-16-91мкФ | 1 | |||||||
| С10 | К50-16-390мкФ | 1 | |||||||
| С11 С12 С13 | К10-50-10нФ | 3 | |||||||
| С14 | К50-16-15мкФ | 1 | |||||||
| С15 | К50-16-9,1мкФ | 1 | |||||||
| Микросхемы | |||||||||
| D1 D2 D3 | К155ЛА3 | 3 | |||||||
| D4 | КР142ЕН5А | 1 | |||||||
| D5 | КР142ЕН9А | 1 | |||||||
| Транзисторы и диоды | |||||||||
| VT1 VT2 | КТ315А | 2 | |||||||
| VT4 VT5 | КТ315А | 2 | |||||||
| VT3 VT6 | КТ361А | 2 | |||||||
| VD1 VD6 | КД922Б | 6 | |||||||
| ПЭЗ | |||||||||
| Изм. лист | № докум. | Подпись | Дата | ||||||
| Разраб. | Маныкин Д.Н. | 06.04.02 | Генератор прямоугольных импульсов Перечень элементов | Лит. | Лист1 | Листов | |||
| Проверил | Каретников И.А. | К | |||||||
| Т. контр. | ЭТ-7-99 | ||||||||
| Н. Контр. | |||||||||
| Утв. | |||||||||
Список литературы.
















