ГГД_ЛР_02 (975229)
Текст из файла
МОСКОВСКИЙ ЭНЕРГЕТИЧЕСКИЙ ИНСТИТУТ
(ТЕХНИЧЕСКИЙ УНИВЕРСИТЕТ)
Кафедра паровых и газовых турбин
Лабораторная работа №2
Тарировка пневматических зондов
Группа: __________________________
Студент: _________________________
Преподаватель: ___________________
Дата выполнения работы: ___________
Работу сдал: ______________________
Москва 2006
Цель работы: получение тарировочных характеристик пневмометрических зондов.
Теоретические основы работы: тарировка любого прибора – это определение поправочного коэффициента к его показаниям путем сравнения с показаниями другого, точно выверенного прибора.
В понятие «тарировка» пневмометрических зондов входит:
а) Получение на основе специально поставленного эксперимента тарировочных характеристик в зависимости от угла натекания потока на зонд
, чисел Маха
М и Рейнольдса
.
б) Определение зоны нечувствительности насадка.
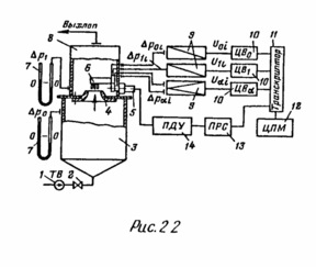
С
хема экспериментальной установки и измерительной системы представлена на рисунке. Рабочей частью служит сопло 4. B его выходном сечении расположены насадки зонда 6. Воздух в ресивер 3 нагнетается через регулирующую задвижку 2 турбовоздуходувкой 1. Насадки зонда устанавливаются в центральной части сопла, при этом ось приемных отверстий расположена на расстоянии
(
— диаметр выходного сечения сопла).
Поворот зонда осуществляется электродвигателем 5 по команде с пульта дистанционного управления (ПДУ) 14. При каждом включении электропривода производится поворот зонда на угол
. Для регистрации числа перемещений (шагов поворота) служит программный реверсивный счетчик (ПРС) 13. Четыре штуцера соответствующих насадкам зонда соединяются резиновыми трубками с манометрами-преобразователями 9 (тип МС-Э1).
| 1 - Трубовоздуходувка. 2 - Регулирующая задвижка. 3 - Ресивер. 4 - Сопло. 5 - Электродвигатель. 6 - Зонд. 7 - U-образный манометр. 8 - Выхлопная камера. 9 - Манометр-преобразователь. 10 - Цифровой измерительный вольтметр. 11 - Транскриптор. 12 - Электроуправляемая пишушая машина. 13 - Программный реверсный счетчик. 14 - Пульт дистанционного управления. |
Протокол испытаний и обработки опытных данных.
| № | 1 | 2 | 3 | 4 | 5 | 6 | 7 | 8 | 9 | 10 |
| Δp0 | ||||||||||
| Δp1 |
| α° | Зонд давления полного торможения. | Зонд статического | Зонд-угломер. | |||||||||||||
| U0i | Δp0i | p0i | p0i-p1 | p0i | U1i | Δp1i | p1i | p1i-p1 | Δp1i | Uαi | Δpαi | Δpαi | ||||
| 0 | ||||||||||||||||
| 4 | ||||||||||||||||
| 8 | ||||||||||||||||
| 12 | ||||||||||||||||
| 16 | ||||||||||||||||
| 20 | ||||||||||||||||
| 24 | ||||||||||||||||
| 28 | ||||||||||||||||
| 32 | ||||||||||||||||
| 36 | ||||||||||||||||
| 40 | ||||||||||||||||
| 44 | ||||||||||||||||
| 48 | ||||||||||||||||
| 52 | ||||||||||||||||
| 56 | ||||||||||||||||
| 60 | ||||||||||||||||
| 64 | ||||||||||||||||
| 68 | ||||||||||||||||
| 72 | ||||||||||||||||
| 76 | ||||||||||||||||
| 80 | ||||||||||||||||
Характеристики
Тип файла документ
Документы такого типа открываются такими программами, как Microsoft Office Word на компьютерах Windows, Apple Pages на компьютерах Mac, Open Office - бесплатная альтернатива на различных платформах, в том числе Linux. Наиболее простым и современным решением будут Google документы, так как открываются онлайн без скачивания прямо в браузере на любой платформе. Существуют российские качественные аналоги, например от Яндекса.
Будьте внимательны на мобильных устройствах, так как там используются упрощённый функционал даже в официальном приложении от Microsoft, поэтому для просмотра скачивайте PDF-версию. А если нужно редактировать файл, то используйте оригинальный файл.
Файлы такого типа обычно разбиты на страницы, а текст может быть форматированным (жирный, курсив, выбор шрифта, таблицы и т.п.), а также в него можно добавлять изображения. Формат идеально подходит для рефератов, докладов и РПЗ курсовых проектов, которые необходимо распечатать. Кстати перед печатью также сохраняйте файл в PDF, так как принтер может начудить со шрифтами.
















