Литье 2010 (970862), страница 9
Текст из файла (страница 9)
Характер заполнения фиксировался скоростной киносъемкой камерой СКС-1М-16 при скорости съемки 3000-4000 кадров в секунду. в специально сконструированной пресс-форме с боковыми стенками из закаленного жаростойкого стекла 13В, выдерживающего заливку жидким металлом при температуре до 650С. Конфигурация образца, толщина его стенки и размеры литниковой системы изменяются за счет сменных вкладышей.
Рис.5.1 Образец коробчатой конфигурации
Скоростная киносъемка позволила установить три основных схемы заполнения формы:
6.Особенности заполнения дисперсным потоком
Металл проходит через питатель с большой скоростью, ударяется о стенку формы и разбивается на мелкие капли (рис.5.4,а). Происходит перемешивание сплава с воздухом, отдельные капли ударяются о стенки, отражаются, подталкиваются порциями вновь поступающего сплава. Такая аэрозольная смесь хаотично двигается в направлении от питателя и заполняет всю полость (см. рис.5.4,б, в и г). При этом оболочка (корочка) на поверхности не образуется. Если отдельные капли и прилипают к стенке формы, то они смываются потоком. Если бы в процессе движения образовывалась оболочка, то на кадрах киносъемки не было бы видно движения металла. На кадрах же съемки видно движение металла вплоть до гидроудара (рис.5.4,г), действие которого фиксировали по интенсивному движению металла в щели формы.
При заполнении формы дисперсным потоком охлаждение капель во время полета обусловлено главным образом лучистым теплообменом со стенками формы.
Рис.5.4 Схема дисперсного заполнения.
Максимальная продолжительность заполнения образца, зафиксированная киносъемкой, составила 0.07 с. Это говорит о том, что к моменту окончания заполнения металл остается жидким. Форма слабо прогревается за время заполнения. Гидравлический удар «чеканит» отливку на «холодной» форме, поэтому должна быть прочная литейная корка.
Рентгеновский снимок, измерение микротвердости и рассмотрение макрошлифа подтверждают этот вывод. Отливка имеет твердую корку во всех трех сечениях и мелкую рассеянную по центру газовую и усадочную пористость.
При анализе кадров киносъемки и рентгеновских снимков образцов были замечены две разновидности дисперсного заполнения
1. Заполнение разбрызгивающимся потоком при капельном распаде сплава.
2. Заполнение распыливающимся потоком при волнообразном и особенно атомизированном распаде.
Механика (физика) процесса формирования отливки при той или иной разновидности не существенна, а вот результаты разные.
Принято считать, что отливки, полученные дисперсным потоком, нельзя закаливать из-за вспучивания поверхности. Нами установлено, что при заполнении распыливающимся потоком образуется микропористость внутри отливки, которая не вспучивает поверхность отливки при нагреве под закалку. Отливка состоит из плотной оболочки и мелкосотовой сердцевины с “ниткой” усадочной пористости, расположенной по тепловой оси стенки (для практических целей можно считать, что тепловая ось совпадает с геометрической осью стенки).
7.Особенности заполнения сплошным потоком
При низких скоростях впуска расплава через литники толщиной, соизмеримой с толщиной стенки отливки, форма заполняется по законам гидродинамики вязких жидкостей, т.е. сначала поток перемещается в направлении участков формы с меньшим, а затем в направлениях с большим гидравлическим сопротивлением. При своем движении сплав отдает тепло форме при непосредственном контакте (теплопроводностью), т.е. тепло отводится довольно быстро. Пограничный слой сплава быстро охлаждается. Кроме того, трение на границе форма-сплав всегда больше, чем между слоями сплава, и при охлаждении пограничного слоя, вязкость его резко возрастает. Через несколько мгновений на поверхности формы образуется тонкая корочка. Она не смывается потоком, и сплав перемещается по этой корочке, а не по форме.(см. рис.5.5,в,г). Теплопроводность этой корочки существенно ниже теплопроводности формы и она играет роль теплоизолятора для движущегося сплава. Теплоотдача в местах с корочкой резко уменьшается. Фронт теплового потока формы, перемещающийся в направлении движения расплава, не может опередить поток сплава, т.к. его скорость меньше скорости расплава. Поэтому передняя часть потока сплава всегда соприкасается с «холодной» формой, т.е. находится в условиях значительного перепада температур между формой и сплавом. Однако сплошной корки в головной части не образуется, так как металл там всегда «обновляется» горячим расплавом.
Рис.5.5. Схема сплошного заполнения
Следует заметить, что роль вязкого трения в разогреве расплава при таком заполнении, из-за небольших величин давления при заполнении незначительна.
Перед самым окончанием заполнения происходит гидродинамическое уплотнение отливки, особенно характерное при толщине питателя меньшей толщины стенки (рис.5.5).
Последняя фаза – уплотнение за счет гидроудара и статического давления подпрессовки.
Рентгеновский снимок показывает наличие небольшой пористости в дальнем конце образца. Ее можно устранить хорошей организацией вентиляции формы и устранением захвата воздуха в камере
Измерение микротвердости показало высокую плотность в сечениях I и II (см.рисунок образца).
8.Особенности заполнения смешанным потоком
При заполнении смешанным потоком (см. рис.5.6) скорость впуска струи и ее кинетическая энергия таковы, что в начальной стадии происходит разбиение сплава на капли и заполнение формы начинается дисперсным потоком. На кадрах киносъемки видно такое движение потока, для характеристики которого подходит слово «вялый Далее, образовавшийся поток препятствует разбиению струи на капли и заполнение продолжается сплошным потоком (рис.5.6,в), который подталкивает перед собой дисперсный поток. В стадии г гидродинамическое уплотнение, а в стадии д статическое уплотнение.
Рентгеновские снимки показывают крупную газовую пористость в дальней части отливки, которая хорошо видна и на микрошлифах.
Рис.5.6 Схема смешанного заполнения.
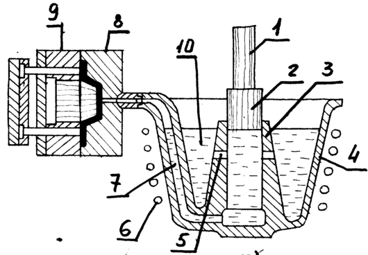
При литье под давлением на машине с холодной вертикальной камерой устройство пресс- формы аналогично устройству формы, показанной на рис. 28. В смазанную вертикальную камеру прессования 1 (рис. 29 а) заливают дозу сплава 2. При движении вниз плунжер 3 давит на сплав, перемещает вниз поршень 6, а в результате чего открывается отверстие 5, соединяющее камеру с пресс-формой, после заполнения которой плунжер поднимается, а специальный механизм поднимает поршень 6, при этом отрезаются литник и прессостаток поднимается наверх.
Рис. 29. Схема литья под давлением с вертикальной камерой прессования.
В настоящее время, хотя в цехах и много еще машин с вертикальной камерой, но они вытесняются машинами с горизонтальной камерой, так как последние производительнее, проще в обслуживании и легче механизируются.
Литье под давлением начиналось с машин с горячей камерой прессования, когда в 1838 году они были применены для изготовления литер с изображением букв для газетопечатных машин.
Машина с горячей камерой (рис.30) имеет тигель 4, обогреваемый нагревателями 6, в который расплав 10 заливается из раздаточной печи. Прессующий плунжер 2 через шток 1 соединяется с поршнем пневмоцилиндра, при работе которого плунжер опускается вниз, перекрывает отверстия 5, через которые расплав поступает в камеру прессования 3. Под давлением плунжера металл поднимается по каналу 7 и заливает полость формы, состоящей из неподвижной части 8 и подвижной 9. Конструкция формы аналогична рассмотренной на рис. 28.
На машинах с горячей камерой изготовляют отливки из цинковых сплавов, температура которых около 430С. Применение горячекамерных машин для переработки алюминиевых сплавов сдерживалось из-за низкой стойкости камеры и плунжера, так как алюминиевые сплавы имеют большую температуру (около 700С) и склонны к разъеданию поверхности камеры и плунжера.
Рис. 30. Схема литья под давлением с горячекамерной машиной.
Основное преимущество горячекамерной машины – это простота процесса и легкость автоматизации. Поэтому в последние годы велись поиски материала для камеры и плунжера, который противостоял бы воздействию горячего алюминиевого сплава. Создано несколько конструкций машин, работающих на алюминиевых и магниевых сплавах.
9.Центробежное литье
При центробежном литье осуществляют заливку сплава во вращающуюся форму. Форма может быть металлическая или разовая. Можно изготавливать детали типа труб или колец, а также и фасонные отливки. В приборостроении центробежное литье применяют для изготовления фасонных отливок в формах, полученных по выплавляемым моделям. При этом используется центробежная установка с вертикальной осью вращения, как это показано на рис. 32. Формы 2 устанавливаются на стол 1, после чего он приводится во вращение и расплав заливается в заливочную чашу 3 откуда под действием центробежной силы поступает в полость формы. Вращение стола продолжается до полного затвердевания отливок.
Рис. 32. Схема центробежного литья.
Особенности центробежного литья. Первая особенность. Охлаждение расплава начнется в первую очередь в литниковой чаше из-за теплоотдачи в воздух. Охлажденные частицы металла, как более тяжелые, имеющие большую плотность под воздействием центробежных сил устремляются в радиальном направлении в форму и перемещаются в более горячем и легком металле. Горячий металл вытесняется в более холодную зону из глубинных слоев тонущими частицами, которые могут быть жидкими, но более холодными. Таким образом, при затвердевании металла во вращающейся форме в радиальном направлении непрерывно происходит конвекция. Металл в чаше обогащается горячим расплавом из глубинных слоев отливки, что предотвращает его затвердевание. Затвердевание идет строго направленно. Металл в чаше до последнего момента может оставаться жидким и питать отливку.
Вторая особенность. На любую частицу вращающегося расплава действуют силы гравитации Р и центробежная Q. Отношение Q/P=K называют гравитационным коэффициентом К=30-50 и даже более 100.Если условно применить «тяжесть» к частице находящейся под действием центробежной силы, то окажется, что эта частица металла становится в десятки и сотни раз тяжелее в поле центробежных сил, чем в поле земного притяжения. Гравитационный коэффициент показывает во сколько раз тяжелее становится сплав при его вращении.
Утяжеление частиц сплава является второй, самой характерной особенностью центробежного литья, способствующей получению плотных отливок.
При затвердевании в неподвижной форме в процессе питания отливки перемещение сплава по капиллярам происходит под действием сил земного притяжения, атмосферного давления и капиллярных сил. Эти силы часто оказываются недостаточными и отливки получаются пористыми.
















