Глава 8 Элементы конструкции и механические расчеты (967520), страница 5
Текст из файла (страница 5)
Рис. 8.16. Подшипниковый щит
асинхронного двигателя
Дня центровки относительно станины в верхней торцевой части щита делают кольцевой буртик. Если буртик подшипникового щита входит в расточку корпуса, то такое сочленение образует внутренний замок. При расположении буртика на наружной поверхности станины замок называется наружным.
В машинах защищенного исполнения в щитах выполняют окна дня прохождения охлаждающего воздуха. Если подшипниковый щит охватывает коллектор или контактные кольца, то для доступа к щеткам в верхней его части делают проемы, закрываемые крышками. Для закрепления щита в станке при его обработке на нем делают специальные технологические приливы.
В машинах большой мощности при внешних диаметрах более 1 м подшипники выносят за корпус и устанавливают на специальных стояках (рис. 8.17). Стояковые подшипники крепят болтами к той же фундаментной плите, на которой установлен корпус. Во избежание появления подшипниковых токов один из стояков изолируют от фундаментной плиты изоляционной прокладкой, при этом с помощью изоляционных трубок и шайб изолируют также крепящие болты и штифты.
Подшипниковые токи, которые замыкаются по контуру вал — стояк подшипника — фундаментная плита — стояк подшипника — вал, приводят к коррозии поверхности подшипников, шеек вала и вызывают старение масла. Причиной появления этих токов является ЭДС, наводимая в вале от сцепленного с ним изменяющего во времени потока, вызванного магнитной несимметрией из-за наличия стыков между частями статора и сегментами, наличием шпоночных канавок, эксцентричным положением ротора и т. д. Появление подшипниковых токов наблюдается главным образом у машин относительно больших мощностей.
По конструктивным признакам подшипники подразделяют на подшипники качения (роликовые и шариковые подшипники) и подшипники скольжения. По роду воспринимаемой нагрузки различают опорные подшипники с радиальной нагрузкой и упорные подшипники с аксиальной нагрузкой, а по функциональным признакам — несущие и направляющие подшипники.
Подшипники качения. В машинах с горизонтальным расположением вала, в основном, применяют радиальные однорядные шарико- и роликоподшипники. Радиальные шарикоподшипники (рис. 8.18) могут кроме радиальной нагрузки воспринимать некоторую осевую нагрузку. При повышенном радиальном зазоре между шариками и дорожками качения колец подшипник приобретает свойства радиально-упорного подшипника и хорошо работает на восприятие больших осевых нагрузок. Поэтому в некоторых случаях (особенно в малых машинах) такие подшипники могут быть установлены в машинах с вертикальным расположением вала.
Рис. 8.18. Шарикоподшипник
Роликоподшипники (рис. 8.19) применяют для больших нагрузок, чем это допустимо для шарикоподшипников. Подшипники, показанные на рис. 8.19,
и
, могут воспринимать только радиальную нагрузку, а подшипник на рис. 8.19,
кроме радиальной нагрузки может воспринимать небольшую осевую нагрузку в одном направлении. В машинах небольшой мощности при
мм чаще всего оба подшипника выбираются шариковыми. У машин средней и большой мощности подшипник со стороны привода, воспринимающий большую нагрузку, выбирается роликовым, а с противоположной стороны — шариковым.
От осевого перемещения на посадочных местах под действием осевой нагрузки кольца подшипников удерживаются при помощи выступа и гайки или специальной упорной пластинки, закрепляющейся на болтах в торце вала, — или насаживаемым на вал кольцом. В машинах небольшой мощности обычно не делают фиксации внутреннего кольца шарикоподшипника на валу, а закрепляют лишь наружное его кольцо подшипниковой крышкой, являющейся одновременно деталью, удерживающей смазку подшипника. Если в машине применяются оба шариковых подшипника, то для возможности перемещения подшипника в осевом направлении при расширении вала у одного из них, а иногда и у обоих, следует предусмотреть зазоры между крышками и наружным кольцом (рис. 8.20).
Рис. 8.19. Роликоподшипник
Рис. 8.20. Подшипниковые узлы с шарикоподшипниками
Подшипники катящегося трения смазываются преимущественно консистентными смазками. Смазка служит для обеспечения коррозийной стойкости подшипников, распределения и отвода тепла, снижения потерь энергии за счет предотвращения сухого трения, уменьшения шума, защиты от попадания грязи. Рабочее пространство подшипникового узла заполняется смазкой не более чем на 2/3 объема. Выбор консистентной смазки проводится на основании данных об условиях работы подшипников.
Дня нормальной работы подшипников необходимо предусмотреть уплотнения подшипниковых узлов, защищающих их от пыли, грязи, а также препятствующих вытеканию смазки в полость машины. Применяются различные конструкции уплотнений: фетровые, кольцевые зазоры, манжетные, лабиринтные и др. На рис. 8.21 показаны некоторые из таких конструкций.
При больших частотах вращения (когда
> 300, где
— частота вращения, об/мин,
— диаметр вала, м) для смазки подшипников применяют минеральные масла.
При проектировании машины перед конструктором ставится задача выбора по каталогу типа подшипника, соответствующего нагрузке и условиям их работы.
Для подбора конструкции, типа и размера подшипника необходимо знать: 1) значение и направление действующих на подшипник нагрузок; 2) характер нагрузки (спокойная, ударная, переменная); 3) диаметр цапфы, на которую сажается подшипник; 4) частоту вращения машины; 5) желательный срок службы подшипника.
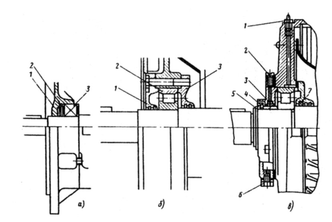
Рис. 8.21. Подшипниковые узлы асинхронных двигателей серии 4А:
— двигателя 4А112 с герметизированными подшипниками
(1 — подшипниковый щит; 2 — пружинное кольцо; 3 — герметизированный подшипник);
— двигателя 4АН180, смазка которого пополняется при разработке
(1 — наружная крышка подшипника; 2 — подшипник; 3 — внутренняя крышка подшипника);
— двигателя 4А200 с устройством для пополнения смазки
(1 — масленка; 2 — пробка; 3 — войлочное уплотнение наружной крышки подшипника; 4 — кольцо уплотнения; 5 — стопорное кольцо; 6 — пробка спускного канала; 7 — войлочное уплотнение внутренней крышки подшипника)
В общем случае на подшипник действуют радиальная и осевая нагрузки. Выбор подшипника проводится по приведенной динамической нагрузке
. Для однорядных радиальных шарикоподшипников эта нагрузка, Н, определяется по формулам
где
— осевая и радиальная нагрузки на подшипник, Н;
— коэффициент, учитывающий характер нагрузки двигателя: при постоянной спокойной нагрузке
, при нагрузке с умеренными толчками
, при нагрузке со значительными толчками
, при нагрузке с ударами и частыми сильными толчками
, для машин общего назначения в большинстве случаев можно принять
;
— коэффициент приведения осевой нагрузки к радиальной. Значение
и
для однорядных радиальных шарикоподшипников в зависимости от отношения
(
— статическая грузоподъемность, Н, см. табл. П5.5) определяют по табл. 8.4.
Таблица 8.4. Значение
и
для однорядных подшипников
| 0,014 | 0,19 | 2,3 |
| 0,028 | 0,22 | 1,99 |
| 0,056 | 0,26 | 1,71 |
| 0,084 | 0,28 | 1,55 |
| 0,11 | 0,3 | 1,45 |
| 0,17 | 0,34 | 1,31 |
| 0,28 | 0,38 | 1,15 |
| 0,42 | 0,42 | 1,04 |
| 0,56 | 0,44 | 1 |
Для промежуточных значений
применяют линейную интерполяцию. Для электрических машин с горизонтальным расположением вала в большинстве случаев можно не учитывать осевую нагрузку
. При вертикальном расположении вала осевая нагрузка равна, Н:
где
— силы тяжести ротора (или якоря с коллектором) и шкива (или полумуфты);
— осевое магнитное притяжение.
















