ГЛАВА 9 Проектирование асинхронных машин (967515), страница 7
Текст из файла (страница 7)
7 — лобовые части обмотки ротора; 8 — вентилятор;
10 — кожух контактных колец; 11 — контактные кольца
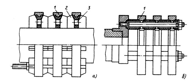
Рис. 9.16. Контактные кольца асинхронного двигателя с фазным ротором:
а — с посадкой на вал; б — консольное крепление; 1 — контактные кольца;
2 — вентиляционные лопатки; 3 — отверстия для прохода охлаждающего воздуха
Вентиляция двигателей — аксиальная. Центробежный вентилятор установлен рядом с сердечником ротора со стороны, противоположной рабочему концу вала. Охлаждающий воздух засасывается через жалюзи в подшипниковом щите, омывает лобовые части обмоток ротора и статора, наружную поверхность сердечника статора, лобовые части обмоток с другого торца сердечника и выбрасывается вентилятором через жалюзи в нижней части подшипникового щита. Часть воздуха проходит через аксиальные каналы в сердечнике статора и отводит тепло, выделяющееся в роторе.
В двигателях с h = 255...355 мм (см. рис. 9.5) вентиляция — радиальная, двусторонняя. Роторные вентиляторы расположены с двух сторон сердечника ротора. Контактные кольца укреплены на выступающем конце вала и закрыты кожухом. В двигателях с h = 280 мм их крепят консольно к несущему фланцу, установленному на валу с помощью трех шпилек (рис. 9.16, б). Токоподводы к обмотке ротора проходят через центральное отверстие в валу.
Большинство двигателей других модификаций и специализированных исполнений серии АИ выпускают со степенью защиты IP54 в тех или иных диапазонах высоты оси вращения. Они отличаются от рассмотренных либо отдельными конструктивными элементами, например, встроенным электромагнитным тормозом, либо схемами обмоток (многоскоростные двигатели), материалом заливки пазов или размерными соотношениями зубцовой зоны (двигатели с повышенным скольжением или пусковым моментом), либо усиленными уплотнениями вала, подшипниковых щитов, вводного устройства, а также защитными и лакокрасочными покрытиями и т. п. (двигатели тропического или химического исполнения).
Кроме единых серий асинхронных двигателей общего назначения выпускается ряд серий двигателей специального назначения, например крановые двигатели серии МТ, взрывозащищенные серии 2ВР и др. Асинхронные двигатели малой мощности для ручного электрифицированного инструмента, бытовой техники и специализированные для различного вида автоматических систем выпускаются электротехнической промышленностью в массовом количестве [15].
Вопросы проектирования асинхронных двигателей общего назначения рассматриваются ниже, в основном, на базе общесоюзных серий АИ и 4А.
9.4. НОВАЯ СЕРИЯ РА
Разработка новой серии асинхронных машин Российские асинхронные (РА) на Ярославском электромашиностроительном заводе (ЯЭМЗ) началась в 1992 г. Если до распада СССР созданием единых общесоюзных серий занимались около десятков НИИ и разработка единой серии занимала несколько лет, то коллективу ЯЭМЗ пришлось создавать новую серию в течение одного года [11].
В новую серию были заложены решения, позволившие изготавливать двигатели для любых требований потребителя. Это удалось создать благодаря применению конструкции станины со съемными лапами, которые фиксируются по четырем направлениям. Применение съемных лап, хотя и увеличивает трудоемкость, но позволяет несколько исполнений машины объединить в одной конструкции (фланцевое В5, на лапах ВЗ и на лапах с фланцем В35). Это приводит к значительной экономии оборотных средств завода, а потребитель может заменить поврежденную лапу новой, в то же время в конструкциях с постоянно прилитыми лапами их поломка приводит к замене всего двигателя.
В серии RA станины для высот оси вращения 71...132 мм включительно — алюминиевые, получаемые экструзией, щиты также алюминиевые (рис. 9.17). Для высот оси вращения, больших 132 мм, станины и щиты выполняют чугунными. Все станины имеют горизонтально-вертикальное оребрение, что позволяет увеличить теплоотдачу при снижении массы двигателя,
Рис. 9.17. Асинхронный двигатель новой серии РА
а также улучшает эстетичность его формы. Особенно этому способствует экструзионная станина (см. рис. 9.17).
Внутренний диаметр сердечника статора D1 выбран так, что при фиксированном наружном диаметре Dн1 оптимизирован весь ряд мощностей для нескольких высот оси вращения. Так, например, если для высот оси вращения 160 и 180 мм (Dн1 = 273 мм) при полюсности 2р = 6 выбран внутренний диаметр D1 = 185 мм, то для последующего наружного диаметра 296 мм (высота оси вращения 200 и 225 мм) сохраняется тот же внутренний диаметр 185 мм, но уже для полюсности 2р = 4. Такая унификация предусмотрена для всей серии РА (табл. 9.6).
Таблица 9.6. Унификация серии РА
| Dн1, мм | Н, мм | Мощность на валу Р2ном, кВт, при синхронной скорости | |||||||
| 3000 об/мин | 1500 об/мин | 1000 об/мин | 750 об/мин | ||||||
| DIN | ГОСТ | DIN | ГОСТ | DIN | ГОСТ | DIN | ГОСТ | ||
| 120 | 71 | А 0,37 В 0,55 | А 0,75 В 1,1 | А 0,25 В 0,37 | А 0,55 В 0,75 | А 0,18 В 0,25 | А 0,37 В 0,55 | А 0,09 В 0,12 | А 0,25 — |
| 120 (140) | 80 | А 0,75 В 1,1 | А 1,50 В 2,2 | А 0,5 В 0,75 | А 1,1 В 1,5 | А 0,37 В 0,55 | А 0,75 В 1,1 | А 0,18 В 0,25 | А 0,37 В 0,55 |
| 140 | 90 | S 1,5 L 2,2 | — L 3,0 | S 1,1 L 1,5 | — L 2,2 | S 0,75 L 1,1 | — L l,5 | B 0,37 L 0,55 | LA 0,75 LB 1,1 |
| 150 (140) | 100 | — L 3,0 | S 4,0 L 5,5 | LA 2,2 LB 3,0 | S 3,0 L 4,0 | — L 1,5 | — L 2,2 | LA 0,75 LB 1,1 | — L 1,5 |
| 176 (206) | 112 | М 4,0 | М 7,5 | М 4,0 | М 5,5 | М 2,2 | MA 3,0 MB 4,0 | М 1,5 | МА 2,2 MB 3,0 |
| 206 | 132 | SA 5,5 SB 7,5 | — M l 1,0 | S 5,5 М 7,5 | S 7,5 M l 1,0 | S 3,0 МА 4,0 MB 5,5 | S 5,5 M 7,5 | S 2,2 М 3,0 | S 4,0 М 5,5 |
| 273 | 160 | MA 11,0 MB 15,0 L 18,5 | S 15,0 М 18,5 | M l 1,0 L 15,0 | S 15,0 L 18,5 | М 7,5 L 11,0 | S 11,0 M 15,0 | МА 4,0 MB 5,5 L 7,5 | S 7,5 M l1,0 |
| 296 (273) | 180 | М 22,0 — | S 22,0 М 30,0 | М 18,5 L 22,0 | S 22,0 М 30,0 | — L 15,0 | M 18,5 — | — L 11,0 | М 15,0 — |
| 296 | 200 | LA 30,0 LB 37,0 | М 37,0 L 45,0 | — L 30,0 | М 37,0 L 45,0 | LA 18,5 LB 22,0 | М 22,0 L 30,0 | — L 15,0 | М 18,5 L 22,0 |
| 344 (296) | 225 | — M 45,0 | — М 55,0 | S 37,0 М 45,0 | — М 55,0 | — M 30,0 | — М 37,0 | S 18,5 M 22,0 | — М 30,0 |
| 400 (344) | 250 | — M 55,0 | S 75,0 М 90,0 | — М 55,0 | S 75,0 М 90,0 | — M 37,0 | S 45,0 М 55,0 | — M 30,0 | S 37,0 М 45,0 |
| 400 | 280 | S 75,0 M 90,0 | S 110 М 132 | S 75,0 М 90.0 | S 110 М 132 | S 45,0 М 55,0 | S 75,0 М 90,0 | S 37,0 M 45,0 | S 55,0 М 75,0 |
Примечание. Буквенные обозначения в соответствии с серией 4А.
Вопросам унификации в новой серии РА уделено особое внимание, поскольку только на одной высоте оси вращения количество типоисполнений двигателей превышает несколько тысяч. Основным достоинством серии РА является возможность выпуска асинхронных двигателей, удовлетворяющих требованиям ГОСТ, DIN и SENELBC и при максимальной унификации отдельных узлов и девшей машины [11].
















