методичка8086 (961168)
Текст из файла
Краткое описание микропроцессора К181ВМ86
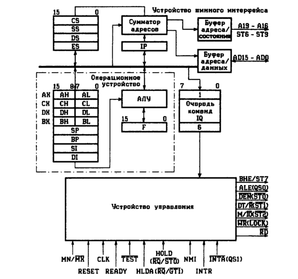
Микропроцессор имеет разрядность шины данных 16 бит, шины адреса 20 бит. Схема процессора представлена на рис.1:
Рис.1
В процессоре имеется восемь 16-разрядных регистров общего назначения: AX – аккумулятор, BX – базовый регистр, CX – счетчик, DX – регистр данных, SP – указатель стека, BP – указатель базы, SI – индекс источника, DI – индекс приемника. Обычно регистры AX, BX, CX и DX используются для хранения данных, регистры SP, BP, SI, DI - для адресной информации. Для регистров AX, BX, CX, DX возможно также раздельное использование младших и старших байтов (AH, AL, BH, BL, CH, CL, DH, DL).
Регистр флагов F:
| FH | FL | ||||||||||||||
| 15 | 14 | 13 | 12 | 11 | 10 | 9 | 8 | 7 | 6 | 5 | 4 | 3 | 2 | 1 | 0 |
| x | x | x | x | OF | DF | IF | TF | SF | ZF | x | AF | x | PF | x | CF |
Арифметические флаги:
CF – флаг переноса, фиксирует значение переноса из старшего бита результата при сложении, либо заема при вычитании, а также значение выдвигаемого бита при сдвиге операнда
PF – флаг паритета, фиксирует четное число единиц в младшем байте результата
AF – флаг вспомогательного переноса, фиксирует перенос из младшей тетрады (используется при выполнении десятичной коррекции)
ZF – флаг нулевого результата
SF – флаг знака, равен старшему разряду результата при работе со знаковой арифметикой
OF – флаг переполнения
Флаги управления:
DF – флаг направления обработки цепочек команд: DF=0 – в сторону больших адресов, DF=1 – в сторону меньших.
IF – флаг разрешения прерываний: IF=0 прерывания запрещаются, IF=0 – разрешаются.
TF – флаг трассировки: TF=1 – пошаговый режим работы.
Блок сегментных регистров состоит из четырех 16-разрядных регистров CS, SS, DS, ES, которые хранят базовые адреса сегментов памяти: CS – сегмент команд, SS – сегмент стека, DS – сегмент данных, ES – дополнительный сегмент (обычно также используется для хранения данных).
Указатель команд IP хранит смещение следующей команды в текущем кодовом сегменте.
Организация памяти в процессоре
Память представляет собой набор последовательно расположенных байтов, каждый из которых имеет 20-разрядный адрес. Два смежных байта могут рассматриваться как 16-битное слово, адресом слова считается адрес младшего байта (он меньше, чем адрес старшего байта). Адресное пространство имеет емкость 1 Мбайт и разбито на сегменты емкостью 64 Кбайт, которые характеризуются базами. Начальные адреса четырех текущих сегментов записываются в сегментные регистры CS, SS, DS, ES; для перехода к другой области памяти достаточно сменить содержимое сегментного регистра.
Каждая ячейка памяти характеризуется логическим и физическим адресом. Физический адрес представляет собой 20-разрядное число, однозначно определяющее положение ячейки в памяти. Логический адрес ячейки состоит из двух 16-битовых значений: базы сегмента и смещения внутри сегмента относительно базы (определяет расстояние от начала сегмента до этой ячейки). Для пересчета логического адреса в физический база сегмента сдвигается влево на 4 бит и суммируется со смещением. Если при суммировании возникает бит переноса, он игнорируется; таким образом, после ячейки памяти с адресом FFFFF идет ячейка с адресом 00000, то есть возникает кольцевая организация памяти (она также присуща каждому сегменту в отдельности).
Обращение к памяти.
К каждому сегменту памяти обращение осуществляется отдельно. Прямая передача информации между сегментами невозможна, для этого необходимо использовать регистры общего назначения.
Для обращения к памяти используются 4 регистра: BX, SI, DI, BP, а также смещение, задаваемое непосредственной величиной: d8 – 8 бит или d16 – 16 бит. Комбинируя эти регистры и смещения внутри квадратных скобок [ ], можно задействовать любую ячейку памяти.
| [BX + SI] | [SI] | [BX + SI + d8] |
| [SI + d8] | [BX + SI + d16] | [SI + d16] |
Для примера примем DS=100, BX=30, SI=70. В этом случае адрес [BX+SI]+25 будет преобразован процессором в следующий физический адрес: 100*16+30+70+25=1725.
По умолчанию сегментный регистр DS используется всегда, кроме режимов с регистром BP, в этом случае используется сегментный регистр SS.
Адреса задаются в шестнадцатеричном коде.
Структура команд процессора
Двухоперандные команды:
| 15 | 14 | 13 | 12 | 11 | 10 | 9 | 8 | 7 | 6 | 5 | 4 | 3 | 2 | 1 | 0 |
| Код операции | d | s | md | reg | r/m | ||||||||||
| disp L | disp H | ||||||||||||||
Бит d указывает направление передачи: d=1 – передача операнда или результата операции в регистр, указанный в поле reg, d=0 – передеча из регистра reg. Бит s показывает формат данных: s=1 – слово, s=0 - байт
Поле reg определяет второй операнд, обязательно находящийся в регистре; поле r/m (регистр/память) определяет первый операнд, который может находиться в регистре или памяти.
| reg, r/m | s=0 | s=1 | reg, r/m | s=0 | s=1 |
| 000 | AL | AX | 100 | AH | SP |
| 001 | CL | CX | 101 | CH | BP |
| 010 | DL | DX | 110 | DH | SI |
| 011 | BL | BX | 111 | BH | DI |
Поле md показывает, содержится первый операнд в памяти или в регистре, а в случае расположения операнда в памяти определяет вариант использования смещения disp, которе может находиться в третьем и четвертом байтах команды:
md=00 – операнд содержится в памяти, disp=0 (смещение отсутствует)
md=01 – операнд содержится в памяти, disp=disp L (команда содержит 8-битовое смещение, которое расширяется со знаком до 16 бит)
md=10 – операнд содержится в памяти, disp=disp H, disp L (команда содержит 16-битовое смещение)
md=11 – операнд содержится в регистре
Однооперандные команды:
| 15 | 14 | 13 | 12 | 11 | 10 | 9 | 8 | 7 | 6 | 5 | 4 | 3 | 2 | 1 | 0 |
| Код операции | s | md | Код операции | r/m | |||||||||||
| disp L | disp H | ||||||||||||||
Могут содержать от 2хдо 4х байт в зависимости от s и md
Команды с непосредственной адресацией:
| 15 | 14 | 13 | 12 | 11 | 10 | 9 | 8 | 7 | 6 | 5 | 4 | 3 | 2 | 1 | 0 |
| Код операции | s | w | md | Код операции | r/m | ||||||||||
| disp L | disp H | ||||||||||||||
| data L | data H | ||||||||||||||
Могут содержать до 3х слов. Поля s и w показывают, как используются последние 2 байта команды:
| s | w | |
| x | 0 | data=data L (8 разрядов) |
| 0 | 1 | data=data H, dataL (16 разрядов) |
| 1 | 1 | data=data L (расширение до 16-разрядного слова со знаком) |
Описание эмулятора
Для выполнения работы используется эмулятор процессора emu8086. Окно программы имеет следующий вид:
Рис.2
Текст программы набирается в поле редактора построчно. Комментарии записываются после знака «;».
Числа допускается записывать в любой системе счисления, при этом после числа ставится обозначение: h – шестнадцатеричное, b – двоичное, o – восьмеричное, например: 1ah, 101b, 71o. Числа без обозначения считаются десятичными. Если в записи шестнадцатеричного числа старшим разрядом является буква (A..F), то перед ней необходимо поставить «0».
Для создания циклов, условных и безусловных переходов используются команды LOOP, JMP, JA, JC и т.п. и метки вида:
label:
В конце программы рекомендуется ставить команду RET
Полный список и описание всех команд процессора можно найти в меню help: Documentation and tutorials/8086 Instruction Set.
Для запуска набранной программы используется кнопка emulate на панели инструментов. При этом открывается окно эмулятора (рис.3):
Характеристики
Тип файла документ
Документы такого типа открываются такими программами, как Microsoft Office Word на компьютерах Windows, Apple Pages на компьютерах Mac, Open Office - бесплатная альтернатива на различных платформах, в том числе Linux. Наиболее простым и современным решением будут Google документы, так как открываются онлайн без скачивания прямо в браузере на любой платформе. Существуют российские качественные аналоги, например от Яндекса.
Будьте внимательны на мобильных устройствах, так как там используются упрощённый функционал даже в официальном приложении от Microsoft, поэтому для просмотра скачивайте PDF-версию. А если нужно редактировать файл, то используйте оригинальный файл.
Файлы такого типа обычно разбиты на страницы, а текст может быть форматированным (жирный, курсив, выбор шрифта, таблицы и т.п.), а также в него можно добавлять изображения. Формат идеально подходит для рефератов, докладов и РПЗ курсовых проектов, которые необходимо распечатать. Кстати перед печатью также сохраняйте файл в PDF, так как принтер может начудить со шрифтами.
















