MY_CUR (954012)
Текст из файла
Московский государственный технический университет им Н.Э.Баумана.
РАСЧЕТНО-ПОЯСНИТЕЛЬНАЯ ЗАПИСКА ПО КУРСОВОЙ РАБОТЕ ПО КУРСУ
«РАСПРЕДЕЛЕННЫЕ БАЗЫ ДАННЫХ В ИНТЕРСЕТЯХ»
ВЫПОЛНИЛ
Беренов Г.Н., ИУ5-93, Вариант №4 .
ПРОВЕРИЛ
Ревунков Г.И. .
Москва - 2000 г.
Введение.
Данный документ представляет собой расчетно-пояснительную записку по курсовой работе по курсу “Распределенные базы данных в интерсетях”.
Целью курсовой работы является разработка проектного решения на интерсеть фирмы, объединяющую все подразделения фирмы: центральный офис и два удаленных офиса.
В процессе выполнения курсовой работы были решены следующие задачи:
-
Выбор сетевого, телекоммуникационного оборудования и соответствующего программного обеспечения для центрального и удаленных офисов фирмы.
-
Расчёт времени передачи данных через модемы и телефонные линии связи.
-
Выбор сетевой ОС.
-
Выбор СУБД.
-
Распределение предметных баз данных (ПБД) по узлам сети.
-
Расчёт затрат на создание распределенной системы обработки данных.
-
Аналитическое моделирование распределенной системы обработки данных.
-
Имитационное моделирование распределенной системы обработки данных.
Расчетно - пояснительная записка по курсовой работе включает в себя следующие документы:
-
Техническое задание.
-
Обоснование выбора аппаратно – программных средств для построения распределенной системы обработки данных.
-
Текст программы имитационной модели на языке GPSS.
-
Текст программы аналитической модели на языке СИ.
-
Приложения к расчетно - пояснительной записке (3 листа формата А3).
-
Техническое задание.
1.1. Наименование.
Проектное решение на интерсеть, объединяющую все подразделения фирмы.
1.2. Основание для разработки.
Основанием для разработки является учебный план кафедры АСОИУ МГТУ им. Н.Э.Баумана.
1.3. Назначение разработки.
Проектное решение на интерсеть предназначено для объединения подразделений фирмы, состоящей из центрального офиса и двух удаленных офисов, в интерсеть.
1.4. Цель разработки.
Целью разработки является создание проектного решения на интерсеть, объединяющую все подразделения фирмы, состоящей из центрального и двух удаленных офисов.
1.5. Содержание работы.
1.5.1. Задачи, подлежащие решению.
В процессе проектирования сети корпоративной информационной системы должны быть решены следующие задачи:
-
Выбор сетевого, телекоммуникационного оборудования и соответствующего программного обеспечения для центрального и удаленных офисов фирмы.
-
Расчёт времени передачи данных через модемы и телефонные линии связи.
-
Выбор сетевой ОС.
-
Выбор СУБД.
-
Распределение предметной базы данных (ПБД) по узлам сети.
-
Расчёт затрат на создание распределенной системы обработки данных.
-
Выполнение аналитического моделирования распределенной системы обработки данных.
-
Выполнение имитационного моделирования распределенной системы обработки данных.
1.5.2. Требования к составу технических средств.
Центральный офис фирмы: сети 100BaseTX (НВП 5-й категории), 10BaseT. В каждой сети имеется по одному файловому серверу и по 20 рабочих станций. Обе сети построены на базе оборудования фирмы Allided Telesyn.
Удаленный офис № 1: сеть 10BaseT. В сети имеется по одному файловому серверу и по 20 рабочих станций. Сеть построена на базе оборудования фирмы D-Link.
Удаленный офис № 2: сеть Token-Ring на ВОЛС. В сети имеется один файловый сервер и 20 рабочих станций. Сеть построена на базе оборудования фирмы RAD.
Локальные сети центрального офиса соединены с локальными сетями удаленных офисов с помощью маршрутизаторов фирмы Cisco.
В сетях используются серверы фирмы Compaq.
1.5.3. Требования к составу программных средств.
В сетях установлена сетевая ОС OS/2 и РБД под управлением СУБД SyBase.
1.6. Этапы разработки.
-
Выбор оборудования - 1.11.99.
-
Выбор программного обеспечения - 8.11.99.
-
Моделирование работы сети - 10.12.99.
-
Оформление документации - 25.12.99.
1.7. Техническая документация, предъявляемая по окончании работы.
По окончании работы должна быть предъявлена следующая документация:
-
Техническое задание.
-
Текст программы имитационной модели на языке GPSS.
-
Пояснительная записка.
-
Графические приложения к пояснительной записке (3 листа формата А3).
Пояснительная записка должна включать материалы, описывающие выбор сетевого телекоммуникационного оборудования и соответствующего программного обеспечения для центрального и удаленных офисов фирмы, анализ и выбор сетевой ОС, анализ и выбор СУБД, описание методики генерации и настройки выбранных пакетов на выбранных аппаратных платформах, выполнение аналитического моделирования системы, выполнение имитационного моделирования системы.
Вся документация может быть представлена в виде единого документа “Курсовая работа по курсу “Распределенные базы данных”.
1.8. Порядок приема работы.
Прием работы осуществляется путем проверки соответствия выполненной работы пунктам технического задания.
1.9. Дополнительные условия.
Данное техническое задание может уточняться в установленном порядке.
2. Построение интерсети фирмы.
2.1. Блок-схема распределенной сети обработки данных.
Центральный офис
Филиал № 1 Филиал № 2
2.2. Центральный офис фирмы.
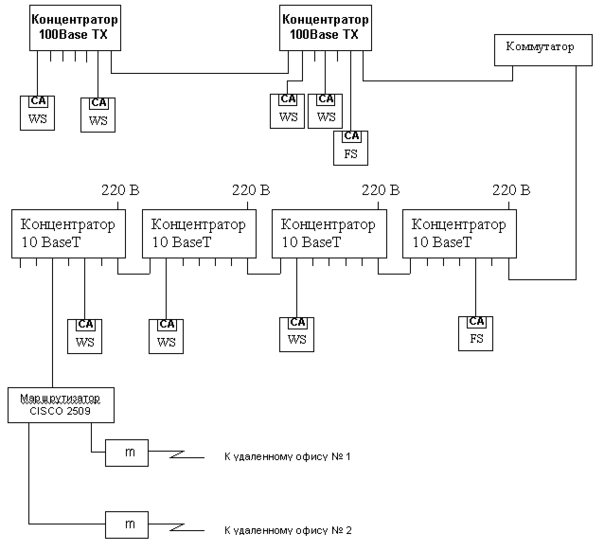
2.2.1. Структурная схема локальных вычислительных сетей центрального офиса фирмы.
2.2.2. Выбор оборудования и правила построения локальных вычислительных сетей.
2.2.2.1. Локальная вычислительная сеть 100BaseTX.
2.2.2.1.1. Правила установки и монтажа.
Основные компоненты сети:
-
сетевые адаптеры (СА) стандарта 100BaseTX с разъемом Rj-45;
-
неэкранированная витая пара (Unshielded Twisted Pair - UTP) пятой категории с волновым сопротивлением 100 Ом;
-
концентраторы стандарта 100BaseTX, имеющие порты с разъемами Rj-45.
Правила:
– в сети должно быть не более 2-х последовательно соединенных концентраторов. При этом должны выполняться следующие правила конфигурации сети:
l1, l2, l3 100м
l1+l2+l3 205м;
-
концентраторы обязательно подключаются к источнику электропитания;
-
концентраторы могут быть как простые, так и стековые;
-
в сети может быть не более двух стеков концентраторов;
-
количество портов в концентраторе обычно 24;
-
в каждом стеке концентраторов должно быть не более 255 портов (может быть модуль SNMP);
-
количество портов в стеке не должно превышать 264.
2.2.2.1.2. Выбор сетевого оборудования.
Согласно условию технического задания, сетевое оборудование должно быть фирмы Allided Telesyn:
-
сетевые адаптеры AT-2400 (с разъемами Rj-45) для шины PCI;
-
неэкранированная витая пара 5-й категории, волновое сопротивление 100 Ом;
-
терминаторы с сопротивлением 50 Ом;
-
повторители AT-MR 815T.
Поскольку в сети находится 20 рабочих станций и один сервер, целесообразно реализовать ее в виде одного сегмента.
2.2.2.2. Локальная вычислительная сеть 10BaseT.
2.2.2.2.1. Правила установки и монтажа.
Основные компоненты сети:
-
неэкранированная витая пара 3-й категории, волновое сопротивление 100 Ом;
-
сетевые адаптеры Ethernet с разъемом Rj-45;
-
терминаторы с сопротивлением 50 Ом;
-
повторители (устройства, предназначенные для усиления сигнала, проходящего по кабелю).
Правила:
-
длина луча сети не должна превышать 100 м;
-
концентраторы могут иметь 8, 12, 24, 48 или 72 порта с разъемом Rj-45. К порту концентратора может быть подключен либо узел сети (сервер или рабочая станция), либо соседний концентратор;
-
в сети должно быть не более четырех последовательно соединенных концентраторов (или четырех стеков концентраторов);
-
в сети должно быть не более 1024 узлов;
-
между любыми двумя удаленными узлами сети не должно быть более пяти лучей. Поэтому длина сети не должна превышать 500 м;
-
между любыми двумя узлами (компьютерами) в сети должно быть не более 5 концентраторов.
2.2.2.2.2. Выбор сетевого оборудования.
Согласно условию технического задания, сетевое оборудование должно быть фирмы Allided Telesyn:
-
сетевые адаптеры AT-2400 PCI (с разъемами Rj-45);
-
неэкранированная витая пара 3-й категории, волновое сопротивление 100 Ом;
-
терминаторы с сопротивлением 50 Ом;
-
повторители AT-MR 815T.
Поскольку в сети находится 20 рабочих станций и один сервер, целесообразно реализовать ее в виде одного сегмента.
2.2.2.3. Связь сетей.
Для подключения сети 100BaseTX к сети 10BaseT используется коммутатор 10/100 Fast Eternet Switch FS708 фирмы Allided Telesyn, который имеет 1 скоростной порт 100Мбит/с и 4 порта по 10Мбит/с.
Коммутатор соединяется с концентратором и конвертором через порты Rj-45.
Для связи с удаленными офисами используются маршрутизатор Сisco 2621.
2.2.3. Серверы локальной вычислительной сети центрального офиса.
При выборе серверов нужно рассматривать серверы на базе микропроцессоров Pentium, PentiumPro и Pentium II.
Сравнительный анализ микросхем для системных плат серверов на базе Pentium и Pentium Pro.
Характеристики плат на основе микропроцессора Pentium.
| Характеристики микросхем | 430 HX | 430 VX | 430 TX | 590 VP |
| Изготовитель | INTEL | VIA | ||
| Кодовое название | Triton 2 | Triton 3 | Apollo VP2 | |
| Количество микросхем в наборе | 2 | 4 | 4 | |
| Поддержка режима SMP (Количество МП на плате) | 2 | 1 | 2 | 2 |
| Поддержка контроля чётности | + | - | + | + |
| Работа с типами ОЗУ FPM | + | + | + | + |
| EDO | + | + | + | + |
| SDRAM | - | + | + | + |
| Максимальный объём ОЗУ (Мбайт) | 512 | 128 | 256 | 512 |
| Максимальный объём КЕШ-2 (Кбайт) | 512 | 128 | 128 | 1024 |
| Интегрирован в набор интерфейс EIDE Ultra DMA/33 | - | - | + | - |
Характеристики плат на основе микропроцессора Pentium Pro.
| Характеристики микросхем | 440 FX | 82450 GX |
| Изготовитель | INTEL | |
| Кодовое название | Natoma | Orion |
| Поддержка режима SMP ( Количество МП на плате ) | 2 | 4 |
| Работа с типами ОЗУ FPM | + | + |
| EDO | + | + |
| Birst EDO | + | + |
| SDRAM | - | - |
Сравнительные характеристики Pentium, Pentium MMX, Pentium Pro и Pentium II.
| Характеристики | Pentium | Pentium MMX | Pentium Pro | Pentium II | |
| Тактовая частота ядра ЦП | 166, 200 | 166, 200, 266 | 200, 233, 266 | 266, 300, 333 | |
| Частота внешней шины ЦП | 66, 75 | 66, 75 | 66, 75 | 66, 75 | |
| КЕШ-1 ( Кбайт ) | 8+8 | 16+16 | 8+8 | 16+16 | |
| Тактовая частота КЕШ-1 | Равна тактовой частоте ядра процессора | ||||
| КЕШ-2 ( Кбайт ) | 128 / 256 | 256 / 512 | 512 / 1024 | 512 / 1024 | |
| Тактовая частота КЕШ-2 | Равна частоте внешней шины ЦП | Равна частоте ядра ЦП | Равна половине частоты ядра ЦП | ||
ЦП Pentium ориентирован на решение 16-разрядных приложений, а ЦП Pentium Pro на 32-разрядные приложения.
При решении 32-разрядных задач замена, например Pentium - 133 на Pentium Pro - 166 позволяет увеличить производительность системы следующим образом:
|
Тип сервера | NetWare | Windows NT | OS/2 Warp Server |
| Сервер приложений | 51 % | 73 % | 63 % |
| Файловый сервер | 37 % | 62 % | 18 % |
Прежде чем переходить с МП Pentium на МП Pentium Pro следует использовать следующие методы повышения производительности: Повышение объёма КЕШ-2 и ОЗУ (для серверов приложений); установка более быстрых дисков или более быстрых матриц RAID (для файловых серверов); установка более быстрых дисковых интерфейсов (SCSI).
Характеристики
Тип файла документ
Документы такого типа открываются такими программами, как Microsoft Office Word на компьютерах Windows, Apple Pages на компьютерах Mac, Open Office - бесплатная альтернатива на различных платформах, в том числе Linux. Наиболее простым и современным решением будут Google документы, так как открываются онлайн без скачивания прямо в браузере на любой платформе. Существуют российские качественные аналоги, например от Яндекса.
Будьте внимательны на мобильных устройствах, так как там используются упрощённый функционал даже в официальном приложении от Microsoft, поэтому для просмотра скачивайте PDF-версию. А если нужно редактировать файл, то используйте оригинальный файл.
Файлы такого типа обычно разбиты на страницы, а текст может быть форматированным (жирный, курсив, выбор шрифта, таблицы и т.п.), а также в него можно добавлять изображения. Формат идеально подходит для рефератов, докладов и РПЗ курсовых проектов, которые необходимо распечатать. Кстати перед печатью также сохраняйте файл в PDF, так как принтер может начудить со шрифтами.
Тип сетевой ОС















