lektsii (857993), страница 4
Текст из файла (страница 4)
G817 – черновая продольная обработка контура
G818 – черновая поперечная обработка контура
G76 - цикл прорезки
G799 – резьбофрезерование
И т.д.
К циклам фрезерования можно отнести следующие циклы:
G791 – фрезерование линейного паза на торцевой поверхности
G793 – фрезерование кармана
G797 – фрезерование фигуры
G798 – фрезерование винтовой канавки
и другие (см. материал лабораторной работы №3)
// какие могут выполняться циклы указывается на схеме. Например, G70, G81, G793
Коррекция управляющей программы с учетом фактических размеров и износа инструмента
Микропроцессорная УЧПУ может автоматически выполнять коррекцию управляющей программы, т.е. пересчитывать координаты опорных точек траектории заданной управляющей программы с учетом фактически используемых параметров инструмента, длины, радиуса и износа инструмента. Также могут быть скорректированы подача и частота вращения шпинделя. Учет фактического радиуса инструмента при коррекции сводится к формированию траектории эквидистантной запрограммированной, а коррекция по длине инструмента сводится к параллельному переносу системы координат инструмента, т.е. к смещению положения рабочего органа станка. Коррекция осуществляется, если в управляющей программе заданы ее характер и номера корректоров. В эти корректоры, расположенные в памяти УЧПУ заносят значения корректируемых величин (параметры или износ инструмента). Понятие коррекции включает в себя адрес L и код коррекции, а также номер корректора. Осуществление коррекции см. лабораторные работы №2.
// в дз написать
1 Ввод и хранение системного программного обеспечение
И написать как планируем ввод
-
Ввод и хранение УП как вводимся
-
Описываем что такое функция интерпретации, интерполяции (и какие должна поддерживать УЧПУ), функция управления приводом, рисуем схемы управления
Нарисовать все привода (смотря сколько координат) и расставить все сигналы. Ноль станка, все значения, ИП
Поддерживает ли систему коррекции и определенные циклы УЧПУ
Для интерполяции приложить хотя бы один алгоритм (круговая, линейная)
Логическая задача управления цикловой автоматикой станка
В микропроцессором устройстве ЧПУ используется прием, обработки и вывод дискретных сигналов, обеспечивающих управление элементами электроавтоматики станка.
Специфику логической задачи составляет большое число обменных сигналов между устройством ЧПУ и станком. Прежде всего, это отработка аварийных сигналов. При приеме аварийного сигнала микропроцессорное УЧПУ должно прекращать интерполяцию. Развитием логической задачи явилась автоматизация на станке вспомогательных операций, таких как зажим/разим заготовки или инструмента, включение/отключение шпинделя, переключение диапазонов частот вращения шпинделя. Включение/выключение охлаждающей жидкости или масляного тумана и т.д. Отдельную группу составляют сигналы циклических процессов, выполняемых на станке. Все сложные циклические процессы можно представить в виде циклов автоматики. Под системой цикловой автоматики понимают систему автоматического управления механизмами или группами механизмов, поведение которых определяется множеством параллельных или последовательных операций. Отдельные операции осуществляются электрическими управляющими сигналами, а условие смены операций формируется под влиянием так называемых осведомительных сигналов, поступающих от станка. Примером циклов автоматики являются циклы автоматической смены инструмента и заготовки. Команды на управление автоматикой станка устройство ЧПУ получает в виде различных значений вспомогательных функций М, Т, S. В устройстве ЧПУ выполняется логическая обработка кодов вспомогательных функций, соответствующей частью СПО (системного программного обеспечения). При поступлении значений вспомогательных функций устройство ЧПУ должно сформировать соответствующий набор управляющих воздействий на элементы автоматики. При приеме значений какой-либо вспомогательной функции разворачивается определенная логико-временная последовательность управляющих сигналов. В этом случае применяется так называемый метод масок.
Для каждой элементарной операции формируется специальное слов маска, которое должно содержать в себе следующую информацию:
-
список сигналов от устройства ЧПУ, наличие которых обязательно для выполнения данной операции
-
список управляющих сигналов, которые необходимо погасить для выполнения данной операции
-
список управляющих сигналов, которые необходимо выдать на станок
-
адреса масок последующих операций
Для формирования масок все сигналы, принимаемые и выдаваемые устройством ЧПУ кодируются и записываются в адреса его памяти. Каждая вспомогательная функция реализуется как самостоятельная цепочка элементарных операций. Например, смена инструмента может быть разбита на 3 этапа:
-
Выбор нового инструмента под адресом Т: выход рабочего органа в точку смены инструмента, поиск нового инструмента, захват его манипулятором.
-
Смена инструмента по команде М06: подвод манипулятора к шпинделю, захват манипулятором старого инструмента, разворот манипулятора на 180 градусов, зажим в шпинделе нового инструмента, отвод рабочего органа со шпинделем в зону обработки.
-
Прием сигнала от станка о выполнении команды М06 и ее снятие: старый инструмент с помощью манипулятора помещается в свободное гнездо магазина, одновременно ведется обработка новым инструментом.
Поиск инструмента в магазине может быть осуществлен по-разному:
Первый способ предполагает специальную нумерацию инструментов, т.е. инструмент помещается в оправку, код на хвостовике которой совпадает с номером инструмента.
Второй способ – присваивание каждому гнезду магазина определенного номера. При этом, если магазин имеет ИП положения, тогда за каждым инструментом либо закрепляется определенное гнездо, либо в ближайшее гнездо. В общем случае в рамках логической задачи выполняются следующие функции:
-
Управление приводом главного движения
Эта функция предусматривает включение/отключение привода, выбор направления вращения и диапазона частот вращения, стабилизацию частоты вращения (обратная связь по скорости), аварийный останов привода. В некоторых случаях требуется программное изменение угла поворота (например, при нарезании резьбы), ориентированный поворот шпинделя (при смене инструмента), смена режима работы (при работе многоцелевого токарно-фрезерного станка). Часть управляющих сигналов формируется в соответствии с определенными значениями вспомогательных функций в управляющей программе. Например:
М03 – включить шпиндель (М05 – выключить)
М04 – реверс
М38, М39 – выбор диапазона частот вращения
М19 – ориентированный останов шпинделя
S – задание частот вращения шпинделя
Частота вращения может быть задана в управляющей программе косвенным способом или способом прямого обозначения. В первом случае каждому значению функции S соответствует в выбранном диапазоне определенная частота. Например, S54 – частота вращения 493 об/мин. В этом случае дешифратор кодов функций S может находиться в шкафу автоматики станка. Во втором случае частота сразу задается по адресу S. Для стабилизации частоты обычно используют замкнутую систему регулирования с ИП обратной связи в виде тахогенератора. Заданное значение формируется цифро-аналоговым преобразователем ЦАП. На вход этого ЦАП поступает вход функции S, соответствующий максимальному напряжению на ЦАП. Функция смены режима обработки связана с особенностью работы шпинделя токарно-фрезерного станка. Вал шпинделя может вращаться в двух режимах: вращение при точении и угловой поворот при фрезеровании. Для переключения привода с одного режима на другой требуется на двигатель привода главного движения подать сигнал соответствующей функцией G27.
Лекция 7
Смена инструмента
-
Выход по отдельной функции G14 в точку N
-
Поиск инструмента осуществляется по функции Tхх. хх – номер инструмента.
-
М06 – цикл смены инструмента (оправка несется из магазина в шпиндель станка) вращение по часовой стрелке +180 градусов, против часовой -180 градусов. Сам автооператор может выдвигаться в направлении оси z (например) +z на 20 мм или –z на 20 мм. Когда функция М06 будет снята, будет обратное движение.
Цикл заканчивается зажатием оправки в шпинделе станка.
М10 – зажим оправки
М11 – разжим оправки
Смена заготовок
М60 – спутник в рабочую зону.
М62 – вынос рабочего органа
Вращение шпинделя в режиме точения
Рисунок 1
М03, М05 – включение/выключение привода
М04 – реверс
Диапазон частоты вращения. На рисунке нету диапазона. Бесступенчатое регулирование
Sзад – реализация обратной связи по скорости (частоте вращения) например, тахогенератор. Если встроен в двигатель – рисовать в двигателе. Выдает Sфакт.
G33 – привод главного движения участвует в резьбонарезании. Поддерживается определенная частота вращения при заданной подаче рабочего органа. (также этот сигнал должен появиться на приводе). Датчик резьбонарезания нужен! (если ИП Хайденхайн, то датчик не нужен). Этот датчик должен выдать сигнал Р и мы его должны увидеть на приводе подачи.
Ориентированный останов шпинделя (М19) предназначена, чтобы оставить шпиндель в определенной позиции, чтобы осуществить смену инструмента или заготовки. Механизмы ориентированного останова шпинделя разные.
Это токарно-фрезерный станок. У нас стоит ИП положения. Привод главного движения может работать в 2х режимах: обычный и постепенный поворот шпинделя.
Вращение шпинделя в режиме фрезерования
Рисунок 2
G27 – смена одного режима на другой. Сменился режим точения на режим фрезерования.
- дополнительная координата. (угол поворота шпинделя).
0 – нулевое положение шпинделя.
G53 – выход в нулевое значение
Привод вращения инструмента в режиме фрезерования
Рисунок 3
Привод вращения осевым инструментом
Включить/выключить, реверс, заданная частота, коррекция по частоте, переключение режима работы
M19 – ориентированный установ
Управление циклом автоматической смены инструмента
На рисунке (см. раздаточный материал)
Рабочие органы должны быть выведены в точку смены инструмента (см. рисунок управления приводом G14)
Перед циклом необходимо провести поиск требуемого режущего инструмента, предварительно установленного в ячейки инструментального магазина. Сигнал вспомогательной функции Т с числом значением, соответствующим номеру инструмента. (например, Т02 включает двигатель М7 привода вращения инструментального магазина)
Рисунок а
Как только нужный инструмент найден, ИП13 выдает сигнал 29 (или другой номер), который приходит на двигатель М7 и происходит его останов. Контроль положения позиции инструментального магазина в данном случае осуществляется бесконтактным ИП13. Каждая ячейка инструментального магазина имеет индикатор, который при движении магазина считывается преобразователем. Сопоставление в УЧПУ считанной преобразователем информации с заданной обеспечивает останов магазина в требуемом положении.
Лекция 8
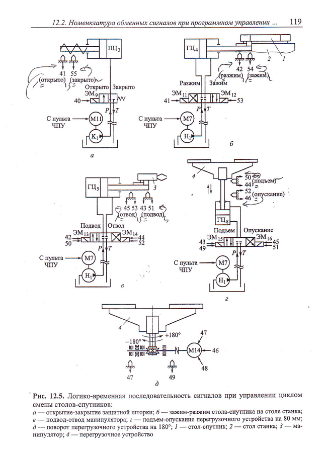
Сигнал М06 поступает на электромагнит 4 золотника и подключает гидроцилиндр 4 к гидросистеме станка. Гидросистема обслуживает весь станок (т.к. М06 поступает на электромагнит) В верхней полости гидроцилиндра создается давление и движение поршня осуществляет выдвижение ячейки инструментального магазина до фиксированного положения специального ИП, который выдаст сигнал 30. Сигнал 30 включает двигатель М12 привода вращения руки автооператора. После поворота руки на -90 формируется сигнал 31. Произойдет остановка привода вращения автооператора. По сигналу М11, поступающему на ЭМ67 происходит разжим инструмента в шпинделе. По сигналу 32, поступающий на электромагнит 7 происходит включение золотника. Под давлением масла, которое приходит в верхнюю полость гидроцилиндра осуществляется ход автооператора вдоль оси z на -180 мм. Движение выполняется до фиксированного положения ИП, вырабатывающего сигнал 33. Сигнал 33 включает двигатель М12, который поворачивает руку автооператора на -180 градусов до положения ИП, выдающего сигнал 34 и автооператор останавливается. По сигналу 34, поступающему на электромагнит 9 происходит включение золотника гидроцилиндра ГЦ6. Под давлением масла, которое приходит в нижнюю полость гидроцилиндра осуществляется ход автооператора на z + 80 мм. Как только автооператор достигнет определенного положения, вырабатывается сигнал 35. По сигналу М10, приходящему на электромагнит 7 золотника гидроцилиндра 5 масло подается в его нижнюю полость, шток которого зажимает оправку с инструментом в шпинделе. После зажима инструмента формируется сигнал 36, который включает двигатель М12, который приводит в движение автооператор. После поворота руки автооператора на +90 формируется сигнал 37, который останавливает привод автооператора и снимает сигнал М06 с электромагнита 4. После снятия с электромагнита сигнала М06 происходит переключение золотника и ячейка инструментального магазина задвигается. При этом формируется сигнал 38, завершающий цикл смены инструмента.
Т – слив
P - нагнетание
Управление циклом автоматической смены заготовки
В рабочей зоне станка заготовка меняется посредством столов-спутников.
По сигналу функции М60 движение стола-спутника в рабочую зону или М62 – движение из рабочей зоны. Необходимые органы станка должны переместится в точку смены столов-спутников (см. ранее). При достижении точки М60 выдается сигнал 40, останавливающий привод М. Для движения стола-спутника из рабочей зоны станка по этому сигналу 40 (который видели на рабочей зоне) от концевого выключателя привода станка, приходящему на электромагнит 9 золотника электродвигателя золотника пневмоцилиндра ПЦ3, сжатый воздух подается в правую полость пневмоцилиндра 3, шток которой производит раскрытие защитной шторки. После раскрытие шторки выключатель подает сигнал 41. Сигнал 41 является входным для электромагнита 1 – является входным для гидрозолотника ГЦ4. Увеличение давления масла в правой полости гидроцилиндра 4 позволяет осуществить разжим стола-спутника. При достижении штоком положения расфиксации столов-спутников концевой выключатель выдает сигнал 42. Сигнал 42 является входным для электромагнита 13. Увеличение давления масла в левой полости гидроцилиндра 5 заставляет манипулятор перемещаться в направлении стола станка. Перемещение продолжается до момента срабатывания концевого выключателя, выдающего осведомительный сигнал 43. Этот сигнал появится на электромагните 15, происходит включение золотника гидроцилиндра 8. Под давлением масла в нижней полости гидроцилиндра 8 и осуществляется подъем перегрузочного устройства. Появится осведомительный сигнал 44, когда шток поднялся. По сигналу 44, приходящему на электромагнит 14 и масло подается в правую полость гидроцилиндра 5, шток которого вместе с манипулятором перемещается к перегрузочному устройству. Выдается осведомительный сигнал 45. Сигнал 45 поступает на электромагнит 16 золотника гидроцилиндра 8. Под давлением масла в верхней полости гидроцилиндра, осуществляется опускание перегрузочного устройства до момента срабатывания концевого выключателя, формирующего осведомительный сигнал 46. Этот сигнал 46 запускает двигатель привода вращательного движения перегрузочного устройства. Он появился на двигателе М14. Перегрузочное устройство поворачивается на минус 180 градусов до срабатывания концевика, подающего осведомительный сигнал 47 и он останавливает привод вращения перегрузочного устройства. По сигналу функции М60 движение стола-спутника в рабочую зону. Необходимые органы станка должны переместится в точку смены столов-спутников (см. ранее).
















