Учебник по БЖД (850677), страница 20
Текст из файла (страница 20)
Нормативные величины ионизации воздушной среды помещений согласно СанПиН 2.2.4.1294-03 «Гигиенические требования к аэроионному составу воздуха производственных и общественных помещений»
|   Уровень  |    Число ионов в 1 см3 воздуха  |  |
|   n+  |    n-  |  |
|   Минимально необходимый  |    400  |    600  |  
|   Оптимальный  |    1500 – 3000  |    3000—5000  |  
|   Максимально допустимый  |    50000  |    50000  |  
Контрольные вопросы
-  
Параметры производственного микроклимата. Нормирование. Виды нормативов. В зависимости от каких факторов устанавливаются нормативы?
 -  
Понятие и классификация пыли.
 -  
Нормирование пыли.
 -  
Влияние степени ионизации воздуха на организм человека. Нормирование.
 
Методы и средства защиты воздушной среды. Вентиляция
Вентиляцией называется регулируемое перемещение воздушных масс в целях замены воздуха, загрязненного избыточным теплом и вредными веществами, чистым с необходимой температурой и влажностью.
Классификация систем вентиляции
 
 
 
 
 
 1.3. Смешанная (естественная + механическая).  |   
  |  
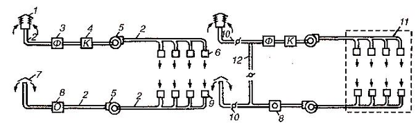
На рис. 25 показана схема приточной и приточно-вытяжной механической вентиляции.
Производственное помещение
а
б
в
9
7
Рис. 25. Схема приточной, вытяжной и приточно-вытяжной механической
вентиляции:
а – приточная; б – вытяжная; в – приточно-вытяжная; 1 – воздухоприемник для забора чистого воздуха; 2 – воздуховоды; 3 – фильтр для очистки воздуха от пыли; 4 – калориферы; 5 – вентиляторы; 6 – воздухораспределительные устройства (насадки); 7 – вытяжные трубы для выброса удаляемого воздуха в атмосферу; 8 – устройства для очистки удаляемого воздуха; 9 – воздухозаборные отверстия для удаляемого воздуха; 10 – клапаны для регулирования количества свежего, вторичного рециркуляционного и выбрасываемого воздуха; 11 – помещение, обслуживаемое приточно-вытяжной вентиляцией; 12 – воздуховод для системы рецикуляции
Расчет необходимого воздухообмена
вентиляция характеризуется показателем кратности воздухообмена к, 1/ч.
где V – количество воздуха, удаляемого из помещения в течение часа, м3/ч;
Vп – объем помещения, м3.
Для определения объема удаляемого воздуха необходимо знать:
V1 – объем воздуха с учетом тепловых выделений, м3/ч;
V2 – объем воздуха с учетом выделения вредных веществ технологических процессов, м3/ч;
где Qизб – общее количество тепла, кДж/ч;
с – теплоемкость воздуха, кДж/(кгС);
 – плотность воздуха, кг/м3;
tуд – температура удаляемого воздуха, С;
tпр – температура приточного воздуха, С;
где q – общее количество загрязняющих веществ при работе всех источников, мг/ч;
cуд, cпр – концентрация вредных веществ соответственно в удаляемом и приточном воздухе, мг/м3.
Пример расчета необходимого воздухообмена
Требуется определить необходимое количество воздуха и кратность воздухообмена общеобменной вентиляции, предназначенной для удаления избытков тепла в соответствии с данными, приведенными в табл. 8.
Таблица 8
Исходные данные для расчета
|   Параметр  |    Обозначение  |    Размерность  |    Значение  |  
|   Размеры помещения: высота площадь  |    h S  |    м м2  |    3,2 20  |  
|   Тепловыделение в помещении  |    Qизб  |    Вт  |    103  |  
|   Теплоемкость воздуха  |    с  |    Дж/кг  |    1,03*103  |  
|   плотность воздуха  |      |    кг/м3  |    1,3  |  
|   Температурный градиент по высоте помещения  |    t  |    0С/м  |    1,5  |  
|   Температура воздуха, подаваемого в помещение  |    tnp  |    0С  |    20  |  
Решение
-  
Определяем температуру удаляемого воздуха:
 
tyx = tpз + d(h – 2) = 24 + 1,5(3,2 – 2) = 25,8 0С,
где tpз – температура воздуха в рабочей зоне, принимаем согласно СанПин 2.2.4.548-96 24 оС – оптимальная температура для категории работ 1а, теплый период года.
-  
Количество вентиляционного воздуха определяется по формуле
 
-  
Кратность воздухообмена
 
Контрольные вопросы и задачи
-  
Понятие производственной вентиляции. Классификация систем вентиляции.
 -  
Схема механической вентиляции, ее основные элементы.
 -  
Для чего применяется рециркуляция?
 -  
Как рассчитать необходимый воздухообмен для удаления вредных веществ? Избыточного тепла?
 -  
Задача. Определить кратность воздухообмена в помещении объемом 100 м3, если требуемое количество вентилируемого воздуха составляет 350 м3/ч.
 
Виброакустические факторы
Производственный шум
Об особенностях восприятия звука человеком и устройстве слухового анализатора человека подробно говорилось в разделе «Адаптация человека к условиям среды обитания».
Влияние шума на организм человека
Воздействия шума на человека можно условно подразделить:
-  
на специфические (слуховые) – воздействие на слуховой анализатор, которое выражается в слуховом утомлении, кратковременной или постоянной потере слуха, ухудшении четкости речи и восприятия акустических сигналов;
 -  
системные (внеслуховые) – воздействие на отдельные системы и организм в целом (на заболеваемость, сон, психику). Под влиянием шума у людей изменяются показатели переработки информации, снижается темп и ухудшается качество выполняемой работы.
 
Частотный диапазон слышимых человеком звуков – от 16 до 20000 Гц. Звук с частотой ниже 16 Гц называют инфразвуком, выше 20000 Гц – ультразвуком (до 109 Гц), в диапазоне 109 – 1013 Гц – гиперзвуком.
Поскольку органы слуха человека обладают неодинаковой чувствительностью к звуковым колебаниям различной частоты, при гигиенической оценке шума весь частотный диапазон от 16 до 20000 Гц разбивают на октавные полосы (октавы).
Октава – полоса частот с границами f1 - f2, где f2/f1 = 2.
 Среднегеометрическая частота – fс.г =  
 .
Согласно ГОСТ 12.1.003-83* ССБТ «Шум. Общие требования безопасности», весь частотный диапазон слышимых звуков разбит на 9 октавных полос: 22,5-45; 45-90; 90-180; 180-360 ... 5600-11200 Гц со среднегеометрическими частотами соответственно: 31,5; 63; 125; 250, … 8000 Гц.
Спектр шума – распределение уровней звукового давления по октавным полосам. Спектр представляется либо в виде таблицы, либо в виде графика.
Физические характеристики шума
при оценке шума используют логарифмический показатель, который называется уровнем интенсивности:
причем размерность этой величины «бел» названа по имени изобретателя телефона А. Белла (1847 – 1922). Получила распространение более мелкая единица измерения: одна десятая часть бела – децибел (1 дБ = 0,1 Б), при этом выражение для уровня интенсивности примет вид
где LJ – уровень интенсивности звука, дБ;
J – интенсивность в точке измерения, Вт/м2;
J0 – интенсивность, соответствующая порогу слышимости, J0 = 10-12 Вт/м2.
При гигиенической оценке и нормировании шума используется показатель – уровень звукового давления:
где LР – уровень звукового давления, дБ;
Р– звуковое давление в точке измерения, Па;
Р0 – пороговое значение 210-5 Па.
Значения LJ и Lр численно совпадают при нормальных физических условиях.
В производственном помещении обычно бывает несколько источников шума. Суммарный уровень звукового давления нескольких различных источников звука определяется по формуле
L=101g [10(L1/10) + 10(L2/10) + ... +10(Ln/10)] дБ,
где L1, L2, ..., Ln– уровни звукового давления, создаваемые каждым из источников звука в исследуемой точке пространства.
Суммарный уровень шума от одинаковых по своему уровню источников определяется по формуле
L = Li + 10 lgn,
где Li – уровень звукового давления одного источника, дБ;
n – количество источников шума.
Например, два одинаковых источника совместно создадут уровень на 3 дБ больше, чем каждый источник.
Суммарный уровень шума от двух различных по своему уровню источников можно определить по формуле
L = Lmax + L,
где Lmax – максимальный уровень звукового давления одного из двух источников;
L – поправка, зависящая от разности между максимальным и минимальным уровнем звукового давления в соответствии с табл. 9.
Таблица 9















