166347 (767827)
Текст из файла
ОСОБЕННОСТИ СОРБЦИОННЫХ СВОЙСТВ ПОЛИМЕР-ПОЛИМЕРНЫХ КОМПОЗИТОВ, ПОЛУЧЕННЫХ ПОЛИМЕРИЗАЦИЕЙ МЕТИЛ МЕТАКРИЛATА В МАТРИЦЕ ИЗОТАКТИЧЕСКОГО ПОЛИПРОПИЛЕНА
Исследование диффузии и сорбции низкомолекулярных соединений в полимеры дает важную информацию не только о механизмах переноса, но и о структуре материала. В то время как процессы переноса в однокомпонентных полимерах достаточно хорошо изучены [1], исследования такого рода в многокомпонентных гетерофазных смесях полимеров пока немногочислены и еще не нашли широкого обобщения [2].
В настоящее время происходит бурное развитие фундаментальных исследований, направленных на создание и изучение новых видов многофазных полимер-полимерных композитов. Одним из наиболее перспективных направлений в этой области является получение новых видов взаимопроникающих полимерных сеток полимеризацией мономеров в полимерной матрице. В работах [3, 4] была показана возможность создания новых видов материалов такого рода на основе широкого круга кристаллических полимеров [5]. Принцип создания подобных материалов заключается в резком повышении растворимости (набухаемости) ряда жидких мономеров в кристаллических полимерах путем их растяжения в среде мономера. Такая деформация позволяет на порядок и более увеличить количество включаемого в полимер жидкого мономера, а последующая его полимеризация дает возможность получать интересные полимерные композиты, в которых один из компонентов имеет молекулярную ориентацию [3, 4].
В настоящей работе приведены результаты исследования диффузии и сорбции селективного низкомолекулярного растворителя в структуру полученного указанным способом композита на основе изотактического полипропилена (ИПП) и ПММА.
Подробности методики, характеристики исходного ИПП и состав получаемых композитов, а также результаты исследования структуры и механических свойств опубликованы ранее [5]. Сорбционные свойства полимерных композитов изучали на вакуумных весах Мак-Бена с кварцевой спиралью (чувствительность 0,4—0,7 мг/мм). Сорбционную ячейку термостатировали в вакууме (Ю-2—10_3 мм рт.ст.). В качестве сорбата использовали четыреххлористый углерод. Изменение массы образца в процессе сорбции фиксировали по удлинению спирали с помощью катетометра КМ-6. Процесс сорбции проводили интервальным методом, т. е. исследовали кинетику сорбции последовательными этапами, постепенно увеличивая давление пара после установления сорбционного равновесия. Термодинамические параметры рассчитывали по методике [6]. Степень кристалличности ИПП определяли калориметрически на приборе типа «1090 Du Ponl».
Структура и свойства полимерных композитов, получаемых методом полимеризации в полимерной матрице, обусловлены, в частности, глубиной процесса фазового разделения, происходящего при полимеризации. Возникающая при этом двухфазная структура определяется в первую очередь строением исходного кристаллического полимера, прочная сетка кристаллов которого препятствует полному разделению несовместимых компонентов на отдельные фазы. Тем не менее, глубину фазового разделения можно регулировать путем отжига получаемых композитов. Повышение температуры придает молекулярную подвижность компонентам композита и способствует распаду на фазы. Такого рода процессы особенно характерны для смесей ИПП—ПММА. В то время, как температуры отжига 85 и 95° позволяют получать материалы, имеющие достаточно высокие механические показатели, отжиг при 120° приводит к получению очень непрочного композита с плохо воспроизводимыми механическими характеристиками.
Поскольку вопрос о структуре таких материалов и о механизме процессов фазового разделения в указанных системах имеет важное теоретическое и прикладное значение, необходимо было найти способ, позволяющий характеризовать структуру и свойства подобных систем.
Малоугловое рентгеноструктурное исследование показало, что все системы ИПП—ПММА двухфазны, и их структура на рентгеновском уровне не изменяется независимо от температуры отжига. В связи с этим нами был использован сорбционный метод, который позволил ранее получить важные данные о структуре аналогичных композитов на основе ПЭВП и ПММА [7].
В качестве сорбата использовали СС14, являющийся хорошим растворителем для ИПП и практически не сорбирующийся ПММА. Для сравнения использовали чистый ИПП, растянутый до тех же степеней удлинения в пластифицирующей жидкости — к-гептане и после этого подвергшийся той же термообработке, что и соответствующие композиты ИПП — ПММА.
На рис. 1 представлены типичные изотермы сорбции СС14 в ИПП, деформированный в w-гептане на 200%, и в композит ИПП —ПММА, полученный растяжением ИПП в ММ А на 200%. Хорошо видно, что чистый ИПП имеет обычную изотерму сорбции, характерную для кристаллического полимера, находящегося выше температуры стеклования [8]. Эта изотерма практически идентична изотерме сорбции исходного неориентированного ИПП. В то же время изотерма сорбции СС14 в композит имеет ряд особенностей, не свойственных кристаллическому полимеру
Во-первых, до значительных величин давления паров CClt (p/ps~0,5— 0,6) его сорбции в композит не происходит. После достижения некоторого порогового значения давления паров сорбция начинает возрастать очень резко. Такая кривая напоминает изотерму сорбции воды низкомолекулярным сахаром, что обусловлено сначала его плавлением и последующим поглощением воды, образовавшимся раствором [9]. Поскольку вода и сахар смешиваются во всех соотношениях, на изотерме сорбции для такой системы наблюдается резкий подъем в узких пределах давления паров. В рассматриваемом случае ничего подобного, очевидно, не имеет места; тем не менее, как видно из рис. 1, количество сорбируемого композитом СС14 резко возрастает и начинает заметно превышать его количество, поглощаемое чистым ИПП. Во-вторых, при значениях давлений паров, превышающих 0,6, достичь равновесного значения сорбции не удается, так как она продолжается в течение многих суток.
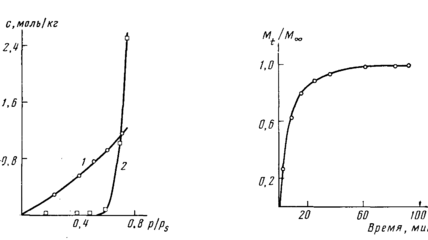
Для анализа столь необычного сорбционного поведения композита ИПП—ПММА рассмотрим данные по кинетике сорбции, представленные на рис. 2. Хорошо видно, что кривая имеет обычный вид, и максимальное количество сорбированного СС, составляет при выбранном давлении пара G,13 г/г. Введение ПММА в ИПП матрицу резко изменяет кинетику процесса сорбции (рис. 3, а, б).
Рис. 1. Изотермы сорбции СС14 в образец ИПП, деформированный в и гептане на 200% (1), и в композит ИПП - ПММА, полученный при деформации ИПП в ММА на 200% (2)
Рис. 2. Кинетическая кривая сорбции СС14 в образец ИПП, деформированный в к-гептане на 200%. p/ps=0fi
Как видно из рис. 3, а, после небольшого индукционного периода сорбция начинает расти по линейному закону. Такой характер сорбции сохраняется в течение многих суток (рис. 3, б). Длительность процесса сорбции делает его изучение очень трудоемким и сложным из-за необходимости поддержания постоянной температуры и давления в сорбционной ячейке в течение многих суток. В связи с этим для определения максимальных значений сорбции композитов ИПП — ПММА их образцы помещали в среду жидкого СС14 п находили величину набухания периодическим взвешиванием. Результаты такого исследования представлены в табл. 1. Из данных табл. 1 следует, что изучаемые композиты способны в течение 1 мес сорбировать до 50 и более процентов СС1,, хотя чистый исходный ИПП, который является единственным компонентом, имеющим сродство к СС14, сорбирует его в тех же условиях не более 15%.
Не менее необычным оказывается поведение композитов и при десорбции СС14. При уменьшении давления паров образцы чистого ИПП обнаруживают обратимое изменение сорбции, и при вакуумировании они полностью теряют весь сорбированный СС14. В то же время в случае композитов ИПП — ПММА выдерживание образцов, просорбировавших при давлении пара 0,7, при давлении 0,6 в течение 2 сут не приводит к уменьшению сорбции, которое можно было бы обнаружить с помощью весов Мак-Бена. Выдерживание этого же образца на воздухе в течение 20 сут при комнатной температуре также не вызывает заметной десорбции СС14. Результаты дальнейших экспериментов по десорбции из композита ИПП — ПММА, содержавшего в исходном состоянии 21,2% СС14, представлены в табл. 2. Хорошо видно, что только совместным действием вакуума 10-2 мм рт. ст. и повышением температуры от комнатной (23°) до 40° удается вызвать частичную десорбцию СС14.
Таким образом, введение в ИПП стеклообразного ПММА полимеризацией в полимерной матрице резко изменяет его сорбционные характеристики. Возникает ряд вопросов. Чем объясняется необычный вид изотерм сорбции и почему существует пороговое давление паров СС14, ниже которого сорбция не наблюдается? Чем объясняется необычная кинетика сорбции и способность композита поглощать столь большие количества СС14, хотя чистый ИПП способен сорбировать в несколько раз меньшие количества СС14, а чистый ПММА вовсе его не сорбирует? Почему десорбция СС из композита в значительной степени необратима или очень затруднена?
Р
ис. 3. Кинетические кривые сорбции СС14 в композит ИПП - ПММА, полученный при растяжении ИПП в ММА на 200%: а - начальный участок, б – стационарный участок. plps=0,69
Можно предположить, что столь большое поглощение СС14 связано с некоторыми структурными перестройками в композите. Поэтому были предприняты микроскопические исследования образцов композитов ИПП— ПММА до и после воздействия на них СС14. Из рис. 4, а хорошо видно, что исходный образец достаточно однороден вдоль всего поперечного сечения. В то же время при взаимодействии композита с СС14 наблюдаются заметные структурные перестройки (рис. 4, б). С обеих поверхностей, т. е. там, где композит взаимодействовал с СС14, его структура выглядит более рыхлой, чем плотная сердцевина. Между рыхлой оболочкой и плотной сердцевиной имеется очень резкая граница. Свойства сердцевины и оболочки различаются столь сильно, что при получении хрупких сколов материал разрушается с образованием характерных ступенек, возникающих на их поверхностях раздела.
Естественно предположить, что возникновение рыхлой пористой структуры и обусловливает столь большие количества поглощаемого СС14 путем его конденсации в возникающих микропустотах. Вид изотермы сорбции композита (рис. 1, кривая 2) позволяет предположить, что для инициирования процесса проникновения СС14 в композит необходимо наличие его жидкой фазы. Данные рис. 1 дают возможность рассчитать размеры характеристического дефекта в композите, на котором при измеренном пороговом давлении пара СС14 начинается его конденсация. Для этой цели можно использовать уравнение Томсона (Кельвина) [10]
где d — диаметр пор в A; f — поверхностное натяжение CC14, равное 26,8 эрг/см2; Vm — мольный объем СС14, равный 97,1 см3/моль. Так как резкое возрастание сорбции наблюдается в интервале относительных дав лений пара СС14 от 0,6 до 0,65 (рис. 1), то расчет дает значения диаметра пор от -80 до -100 А.
Характеристики
Тип файла документ
Документы такого типа открываются такими программами, как Microsoft Office Word на компьютерах Windows, Apple Pages на компьютерах Mac, Open Office - бесплатная альтернатива на различных платформах, в том числе Linux. Наиболее простым и современным решением будут Google документы, так как открываются онлайн без скачивания прямо в браузере на любой платформе. Существуют российские качественные аналоги, например от Яндекса.
Будьте внимательны на мобильных устройствах, так как там используются упрощённый функционал даже в официальном приложении от Microsoft, поэтому для просмотра скачивайте PDF-версию. А если нужно редактировать файл, то используйте оригинальный файл.
Файлы такого типа обычно разбиты на страницы, а текст может быть форматированным (жирный, курсив, выбор шрифта, таблицы и т.п.), а также в него можно добавлять изображения. Формат идеально подходит для рефератов, докладов и РПЗ курсовых проектов, которые необходимо распечатать. Кстати перед печатью также сохраняйте файл в PDF, так как принтер может начудить со шрифтами.
















