108914 (765333), страница 3
Текст из файла (страница 3)
При разрыве тока в цепи, содержащей индуктивность, давление (сопротивление) создаваемое ранее движением электронов первичного эл.тока- мгновенно прекращается, а эфир внутри обмотки,, который имеет инерцию, продолжает свое движение, так как цепь разомкнута, эфир, отразившись, по аналогии гидроудара, имеет обратную волну, но скорость волны огромна волна порождает большое количество электронов в кристаллической решетке и мгновенно увеличивая разность потенциалов, пробивает разорванный участок цепи, создавая мощный электрический разряд.
После разрыва цепи содержащую индуктивность, отраженная волна имеет очень большую скорость, что вызывает возникновение в кристаллической решетке проводника большого числа электронов, вплоть до полного возбуждения всей кристаллической решетки. Но волна не может, распространится мгновенно, к тому же она очень быстро затухает это и объясняет мгновенно возникающую высокую разность потенциалов(эдс самоиндукции)
Электрический разрыв (транзисторная коммутация )тока в обмотке индуктивности
Для более глубокого понимания предлагаемого метода экономии электроэнергии в индуктивных нагрузках путем полезного использования явления электромагнитной самоиндукции при разрыве тока индуктивности, следует понять, что явление самоиндукции – это ответная реакция электромагнитного поля индуктивности, связанной воедино с эфирной энергией. Электромагнитное поле поддерживается как то энергией эфира Тогда вполне можно допустить, что, поскольку эфир неразрывен и заполняет в частности, пространство вокруг индуктивности и саму эту индуктивность,, то при таком нелинейном импульсном режиме прерывания ее тока, электромагнитное поле обмотки сразу исчезнуть не может и, следовательно, индуктивная обмотка становится эфирным трансгенератором электроэнергии – поскольку эфир внутри индуктивности продолжает движение в обмотке по инерции и выталкивает как поршнем с ее оборванного конца новые носители электрического тока непосредственно из самой обмотки – для поддержания( “спасения ”) коммутированного тока индуктивности и стабилизации электромагнитного поля в ней . Ниже для иллюстрации приведены 3 простые однофазные электросхемы, (рис.1-3), содержащие индуктивности, силовые бесконтактные ключи и эл нагрузки, поясняющие схему работы коммутатора на силовой ключе в цепи этой индуктивности. Ниже на однофазных простых электросхемах рассмотрены два варианта разрядки запасенной электромагнитной энергии индуктивности, работающей в режиме такого трансгенератора электроэнергии, за счет возникновения явления электромагнитной эдс самоиндукции, с переводом тока от нее на полезную электрическую нагрузку..
На рис1,2-показано запасание электромагнитной энергии в индуктивности с током и потом разрыв индуктивного дросселя с током быстродействующим ключом - и потом переключения ее на контур с электрической полезной нагрузкой – в котором показана работа электрического тока, возникающего при разрыве индуктивности с током- от противоэдс, в этом новом контуре на полезную нагрузку.
На рис. 3 –показана работа этой электросхемы с коммутатором в цепи индуктивности статорной обмотки однофазной асинхронной электромашины. Поскольку вторичным контуром индуктивной связи является ротор, то при разрыв фазной индуктивной обмотки однофазного асинхронного электродвигателя , возникающая противоэдс в индуктивности трансформирует дополнительный ток в роторе – которые и приводит к увеличению момента вращения на его валу. Естественно, в таком асинхронном однофазном лектродвигателе работают с пользой оба такта, только ключ К2 не нужен вообще. 3
Компенсация реактивной мощности в асинхронных электрических машинах
Известно, что любая индуктивная нагрузка, например, индуктивный дроссель, трансформатор, потребляет индуктивный ток из питающей электрической сети. Индуктивный ток отстает по фазе от активного тока и нужен индуктивности для создания магнитного потока .Асинхронная электрическая машина (АЭМ)не является исключением. В ней также есть и активные токи и индуктивные токи , как в двигательном так в и в генераторном режимах ее работы. Фактически индуктивные токи АЭМ снижают ее энергетическую эффективность.
Поскольку они -реактивные токи и реактивная мощность в фазах эл машины , потребляемые из питающей электросети не создают активной мощности на валу, а создают только вращающееся магнитное поле в зазоре статорной расточки . Для повышения коэффициента мощности АЭМ применяют компенсирующие электрические конденсаторы, имеющие опережающую фазу тока по отношению к сетевой синусоиде напряжения . Их присоединяют к статорным индуктивным обмоткам
Идеальным режимом компенсации реактивной составляющей тока АЭМ является резонансный режим в этом многофазном индуктивно- конденсаторном контуре, который достигается подключением к фазным обмоткам электрических конденсаторов определенной величины емкости При реализации резонансного режима индуктивности асинхронной машины и дополнительной емкости фазовые угла сдвига токов в конденсаторах и индуктивностях равны по величине а их фазовые сдвиги относительно напряжения сети противоположны
И поэтому в этом режиме остается только активная составляющая тока потребления асинхронного двигателя из сети .Однако резонансный режим изменяется и иногда полностью исчезает при изменении нагрузки на валу мотора, и это требует постоянной поднастройки резонансного контура – а это технически весьма сложно.
АНАЛИЗ АНАЛОГОВ –КОНДЕНСАТОРНЫХ КОМПЕНСАТОРОВ РЕАКТИВНОЙ МОЩНОСТИ В АСИНХРОННЫХ ЭЛЕКТРОМАШИНАХ
Известное и существующее серийное конденсаторное устройство экономии электроэнергии в виде управляемых конденсаторных батарей весьма дорогое и громоздкое и не обеспечивает достаточно полной компенсации реактивной мощности, особенно в динамических режимах изменения коэффициента мощности нагрузки. Кроме того, конденсаторные батареи обладают пониженной надежностью в условиях перенапряжений
В случае индуктивных нагрузок больших мощностей, работающих в динамических режимах конденсаторный компенсатор реактивной мощности –прототип- весьма дорог и ненадежен в реализации .и эксплуатации.
Поэтому реально конденсаторные батареи как компенсаторы реактивной мощности находят ограниченное применение, особенно в городских и магистральных электросетях, и, как следствие, возникает существенный перерасход электроэнергии потребителей электроэнергии и их затраты.
В условиях неуклонного роста цен на электроэнергию данная проблема повышения коэффициента мощности электроустановок становится все острее . Целью изобретения является поиск и обоснование высокоэффективного нового метода и устройства компенсации реактивной мощности нагрузки для улучшения входного коэффициента мощности сети по отношению к данной нагрузке, причем вообще без силовых электрических конденсаторов.
Вентильная компенсация реактивной мощности в асинхронных электромашинах
Резонансные режимы работы и конденсаторные схемы компенсации реаткивной мощности в индуктивных нагрузках безусловно полезны.
Но есть и иной более прогрессивный метод полной компенсации потребляемой из сети переменного тока реактивной энергии (мощности) - вообще без компенсирующих конденсаторов .
Этот метод назван мною- метод циркуляции реактивных токов . Для его реализации необходимы в фазах индуктивной нагрузки полностью управляемые ключи – например, на транзисторах . Отметим , что сумма за период индуктивных фазных токов в фазах трехфазной электрической машины –равна нулю. Это обстоятельство позволяет сделать циркуляцию реактивных токов вообще без компенсирующих конденсаторов, а с помощью полностью управляемых силовых ключей, например посредством силовых транзисторов. Этот эффект циркуляции реактивных токов достигается за счёт введения оригинального, полностью управляемого регулятора напряжения, включенного в цепи фазных обмоток индуктивных нагрузок (трансформаторов, АЭМ) который посредством устранения контура обмена реактивной энергии индуктивной нагрузки и электрической сети переменного тока достигается эффект автоматической стабилизации входного коэффициента мощности на уровне, близком к единице, при изменении характера и величины нагрузки в широких пределах вообще без силовых компенсирующих конденсаторов. На рис.3 показано предлагаемое устройство экономии электроэнергии в однофазном исполнении, на рис.4 –показано устройство экономии электроэнергии в трёхфазном исполнении.
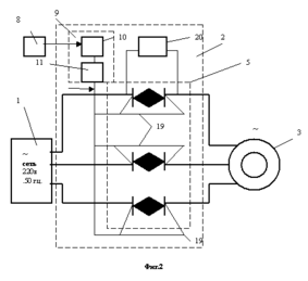
Электрическая сеть 1 присоединена через регулятор напряжения 2 к электрической индуктивной нагрузке 3.
На рис. 3 индуктивная нагрузка показана, например, в виде однофазного трансформатора напряжения с первичной обмоткой 4, присоединённой к силовой части 5 регулятора напряжения 2 и вторичной обмоткой 6, присоединённой к полезной электрической нагрузке 7. Силовая часть 5 регулятора напряжения 2 выполнена с полностью управляемыми полупроводниковыми ключами двухсторонней проводимости и присоединена по цепи управления 8 к системе управления 9, содержащей датчик 10 угла фазового сдвига, напряжения и тока нагрузки, и формирователи 11 импульсов управления регулятором 2.
Датчик напряжения 12 и датчик тока 13 присоединены через соответствующие формирователи 14, 15 на входы логической схемы 16 типа “И – НЕ” соответствующий интервалам знакопостоянства напряжения и тока, выход которой присоединён к системе формирования управляющих импульсов 11, содержащей регулятор скважности 17, например, одновибратор, и формирователь импульсов 18, например, типа генератора Ройера, на входы управления силовых вентилей 19 регулятора напряжения 2 зашунтированных встречно включёнными стабилитронами 20.
Временные диаграммы, поясняющие работу устройства вентильной компенсации реактивной мощности в индуктивной нагрузке показаны на рис.5.
Рис.5
В результате запасённая в индуктивности первого контура 4 нагрузки 3 энергия трансформируется во вторичный контур 6, присоединённый электрически к полезной нагрузке 7. Эта запасённая энергия расходуется, например, в однофазной индукционной печи для дополнительного нагрева металла, или создаёт в случае трёхфазной индуктивной нагрузки в виде, например, трёхфазного асинхронного электродвигателя дополнительную полезную мощность в роторе асинхронного двигателя, т.е. полезно используется, а не тратится на тепловые потери, как ранее. После окончания знакопеременного интервала датчик 10 вновь даёт команду на включение силового полностью управляемого вентиля 5, и процесс повторяется. Регулирование напряжения и активной мощности нагрузки 3 осуществляется регулятором скважности 17 в интервале знакопостоянства входного тока и напряжения. Таким образом, функции регулирования и стабилизации выходного напряжения и потребляемой мощности у регулятора напряжения 2 сохраняются. Стабилитроны 20 снимают кратковременные перенапряжения в силовых вентилях 5 при их коммутации. Благодаря устранению контура обмена реактивной мощности между индуктивной нагрузкой 3 и сетью 1 достигается эффект автоматической стабилизации входного коэффициента мощности на уровне, близком к единице, при изменении характера и величины нагрузки в широких пределах, что приводит к значительной экономии электроэнергии. В.индуктивных нагрузках с низким косинусом фи ( асинхронные электродвигатели, индукционные печи, применение данного устройства может обеспечить экономию электроэнергии до 30-50%. Изобретение может быть широко и с пользой применено в любых электрических цепях где есть реактивные элементы начиная от персонального компьютера и пылесоса, сварочного трансформатора, силового трансформатора возле вашего дома, и до линий электропередач в городах и странах, вплоть до Единой мировой энергосистемы.
ПРИМЕР ОСУЩЕСТВЛЕНИЯ ИЗОБРЕТЕНИЯ
ЭКОНОМИЧНЫЙ СИЛОВОЙ ТРАНСФОРМАТОР С РЕКУПЕРАЦИЕЙ ЭНЕРГИИ
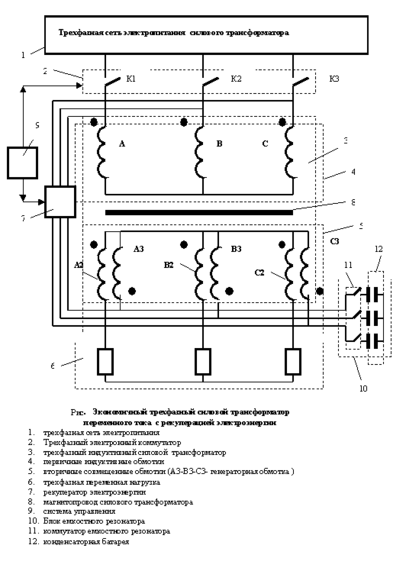
В качестве примера рассмотрим блок- схему самого простого варианта применения этого устройства экономичного силового трансформатора с устройством вентильной компенсации реактивной мощности Она показана на рис.
Это устройство экономичного трансформаторного преобразования электроэнергии выполнено по схеме “трехфазный трансформатор – вентильный компенсатор- нагрузка”(рис. Вентильный компенсатор реактивной мощности 2, содержит блок силовых ключей К1-К3, включенных к фазам питающей трехфазной электросети 1 и последовательно в первичные обмотки трехфазного силового трансформатора 3, присоединенного вторичной обмоткой 5 к регулируемой электрической нагрузке 6 Сущность работы такого экономичного трансформатора 3 с совмещенной вторичной индуктивной обмоткой с коммутатором 2 и с рекуператором электроэнергии состоит в том, что при размыкании силовых ключей коммутатора К1-К3 в “реактивные интервалы “ периода возникает явление электромагнитной самоиндукции и происходит под воздействием противоэдс самоиндукции перетекания фазных первичных токов во вторичные обмотки и обратно . причем дважды за период и одновременно возникает эффект циркуляции реактивной энергии через магнитопровод и вторичные обмотки трансформатора 3. Для максимально полной передачи запасенной электромагнитной энергии индуктивностей трансформатора при отключении главного коммутатора 2, в схему этого устройства введен дополнительно и емкостной резонатор 10, содержащий электронный коммутатор и блок резонаторных электрических емкостей. Электрическая схема рекуператора электроэнергии –пока НОУ ХАУ автора. В результате полезного использования запасенной электромагнитной энергии индуктивностей и благодаря принудительной коммутации токов и циркуляции реактивной энергии внутри трансформатора в “реактивные” интервалы экономия электроэнергии потребляемой трансформатором из электросети может достигнуть до 80-100 % !
Выводы по разделу
Изобретение –ВЕНТИЛЬНЫЙ КОМПЕНСАТОР РЕАКТИВНОЙ МОЩНОСТИ( в патентах –его название -регулятор напряжения) -может быть широко и с пользой применено в трансформаторах и АЭМ электродвигателях для повышения их входного коэффициента мощности во всем диапазоне нагрузок имеет мировую новизну, важное народно- хозяйственное значение, в ч частности для электроэнергетики. Изобретение ранее уже в целом проверено автором в реальных опытах. Номера патентов .автора на изобретения /1,2/ Данный метод и устройства для его реализации на АЭМ могут быть модернизированы и применены и при изменяемой частоте выходного напряжения, подаваемого, например, на статорные обмотки АЭМ, при частотном регулировании ее скорости
.ТРЕХФАЗНЫЕ АСИНХРОННЫЕ ВЕНТИЛЬНЫЕ МАШИНЫ (АВМ)
















