39082 (761957)
Текст из файла
Еще раз о сушильных устройствах для рулонных печатных машин (сушить или не сушить, вот в чем вопрос)
В.Н. Румянцев, к.т.н., К.И. Финакин, к.т.н., В.К. Настасий, к.т.н., А.П. Лемижанский
Тенденция к увеличению печати многокрасочных газет, цветной рекламной продукции заставляет специалистов типографий снова обратить внимание на инфракрасные (ИК) сушильные устройства (СУ). Но мнения по их использованию часто противоположны. Одни считают, что сушка оттисков с помощью ИК сушильных устройств не эффективна и нужно только газовое сушильное устройство. Другие считают, что следует обходиться вообще без сушки, для чего необходимо подбирать новые технологические процессы печати, новые материалы. Но есть и те, кто считает применение ИК сушильных устройств вынужденной мерой, без которой не обойтись.
Процесс сушки предназначен для ускорения высыхания свежеотпечатанных изображений. Благодаря применению СУ достигается возможность:
- исключения или уменьшения отмарывания отпечатанного изображения;
- получения оттисков с большей насыщенностью красок;
- повышения скорости работы печатной машины (или, иначе, - не снижения скорости ее работы);
- уменьшения наслоения краски на элементах бумагопроводящей системы печатной машины;
- использования более широкого ассортимента тиражной бумаги, в частности, бумаги с большей массой 1 м2 или повышенной гладкости, которая при отсутствии сушильного устройства вследствие чрезмерного отмарывания краски, не могла быть использована.
На сегодняшний день в рулонных офсетных печатных машинах нашли применение сушильные устройства трех типов - газовые, инфракрасные (ИК) и ультрафиолетовые (УФ). В основном используются газовые и инфракрасные устройства. Устройства, основанные на сушке красочного изображения под действием УФ-излучения, пока нашли ограниченное применение. Но из применение постоянно расширяется.
В газовых СУ, наиболее эффективных на сегодняшний день, сушка красочного изображения осуществляется путем нагнетания на отпечатанное изображение горячего воздуха, нагреваемого с помощью газа. Требуемое количество горячего воздуха зависит от скорости движения бумажного полотна, его ширины, характера бумаги и количества краски на оттисках. Газовые сушильные устройства имеют достаточно сложную конструкцию, весьма большие габариты (как по длине, так и по высоте) и соответственно высокую стоимость. На фоне современных газовых устройств печатные секции часто кажутся маленькими. Их энергопотребление небольшим также не назовешь.
Подогрев воздуха газом можно использовать, когда газ уже подведен к типографии или недалеко от типографии проходит газовая магистраль. А если до магистрали километры, да по пересеченной местности? Во что тогда обойдется газопровод к типографии? Подвозить же сжиженный газ в больших объемах дорого. Но есть и типографии, которые просто не хотят иметь дело с эксплуатацией промышленного газового оборудования.
Когда газ отсутствует или по различным причинам его трудно подвести, можно рассматривать вопрос о применении ИК или УФ сушильных устройств.
УФ-устройства по инерции еще относят к "сушильным устройствам". Однако, при использовании УФ-излучения происходит не сушка красочного слоя на оттисках, а его полимеризация, поэтому термин "сушильное устройство" и взят в кавычки. Технология печати УФ-красками отличается от технологии печати обычными офсетными красками. При печати УФ-красками резиновое покрытие красочных и увлажняющих валиков, офсетные полотна, смывочные и другие растворы должны быть иными. Только бумага может быть той же. Все пластиковые шланги и резиновые изделия должны быть прикрыты от УФ-излучения. УФ-излучение также не должно попадать на краску в красочных ящиках. Само собой разумеется, что персонал печатной машины должен быть надежно защищен от УФизлучения. Полимеризация УФ-красок происходит очень быстро. Сами УФ-устройства имеют небольшие габариты и их можно достаточно легко встроить в конструкцию почти любой рулонной машины. Но все это тема для отдельного разговора, поэтому УФ-устройства дальше рассматривать не будем.
В ИК СУ сушка красочного изображения производится с помощью ИКизлучения (надеемся, что после ознакомления с данной статьей, мнение относительно ИК сушильных устройств, хотя бы у некоторых читателей, изменится). ИК-устройства конструктивно проще газовых и имеют меньшие габариты. Хотя и не часто, но их используют при выпуске продукции, печатаемой не только на газетной бумаге, но и при печати на определенных видах бумаги повышенной гладкости. В нескольких российских типографиях, например, в "Московских учебниках и Картолитографии", "Пронто-Москва" используются рулонные машины Uniset и Solna D-300, оснащенные ИК сушильными устройствами производства инофирм. На этих машинах печатают многокрасочную книжно-журнальную продукцию не только на офсетной, но и на легкомелованной или мелованной бумагах. Поэтому бытующее еще мнение о том, что мелованная бумага - это удел только газового СУ, на сегодняшний день не совсем правильно.
В России ИК СУ разрабатываются в ЗАО "НИИполиграфмаш". В его ИК сушильных устройствах сушка осуществляется сочетанием воздействия на красочное изображение:
1) горячего воздуха;
2) ИК-излучения.
Горячий воздух поставлен на первое место не случайно. И вот почему.
В первых образцах ИК сушильных устройств (в начале 80-х годов) сушка красочных изображения осуществлялась, действительно, за счет ИК-излучения. Эти СУ устанавливались на печатные машины красочностью 1+1, иногда 2+1. Небольшие потоки воздуха, создаваемые в них с помощью осевых вентиляторов, использовались, в основном, для охлаждения токоподводящих элементов ИК-ламп, которые сильно нагревались в процессе работы сушильного устройства, и светоотражающих экранов. По мере накопления опыта и знаний, пришло понимание того, что, изменив принципы работы и конструкцию ИК сушильных устройств, можно эффективность их работы значительно повысить. В итоге проделанной работы, основным назначением ИК-ламп стал нагрев воздуха, поэтому ИК-излучение отошло на второй план. Теперь о таком СУ можно говорить как об "электрическом сушильном устройстве горячего воздуха", по аналогии с "газовым сушильным устройством горячего воздуха".
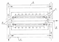
Принцип работы ИК СУ покажем на примере одномодульного СУ, в котором имеется один ряд ИК-ламп (рис. 1).
Воздух поступает в сушильную камеру, состоящую из верхней и нижней половинок, проходит мимо раскаленных ИК-ламп (1), нагревается и направляется сверху и снизу вдоль бумажного полотна (2). Горячий воздух подается против направления движения полотна. Для создания мощных потоков воздуха используются два центробежных вентилятора, подающих воздух симметрично относительно продольной оси бумажного полотна. Над/под лампами располагается набор отражателей (3), которые возвращают на бумажное полотно часть энергии, генерируемой поверхностью ламп. Следует отметить, что в СУ могут использоваться лампы с нанесенным на них специальным отражающим покрытием, которое еще больше повышает эффективность работы СУ. Конечно, в качестве источников тепла могут использоваться не только лампы, но и нагревательные элементы других типов (например, ТЭНы, спирали и т.д.), но их инерционность при изменении режимов работы намного больше.
Для обеспечения равномерной нагрузки каждой фазы 3-фазной сети переменного тока количество ламп, приходящихся на одну фазу и на одну сторону бумажного полотна, сделано одинаковым. Если же СУ предназначено для работы на машине с "ассиметричной" красочностью (4+1 или 4+2), количество ламп в СУ для каждой из сторон полотна делается различным. Но требование равномерной нагрузки каждой из фаз при этом сохраняется. Отметим, что сушильная камера может располагаться не только горизонтально, но и вертикально. Лампы для вертикального расположения СУ могут быть другими.
Благодаря использованию принципа рециркуляции горячего воздуха с помощью воздуховода (4), замкнутого в кольцо, удалось сократить количество ламп в СУ и снизить затраты электроэнергии примерно на 20-30% по сравнению с рядом аналогов. В СУ постоянно засасывается примерно 25% (от общего объема) свежего воздуха и выбрасывается наружу те же 25%, но уже отработанного воздуха.
Электрические сушильные устройства горячего воздуха отличаются от газовых устройств в основном следующим.
Температура горячего воздуха в газовых устройствах составляет порядка 2300С. Температура горячего воздуха в ИК сушильном устройстве ниже и составляет порядка 1000С. Объясняется это тем, что каждая из ИК-ламп имеет небольшой диаметр и, соответственно, небольшую поверхность, передающую тепло воздуху, хотя температура самих ламп доходит до нескольких сотен градусов.
В газовом сушильном устройстве с помощью воздуходувных сопел воздух направляется перпендикулярно направлению движения бумажного полотна. Длина пути воздушных потоков от сопла до поверхности полотна небольшая, всего несколько сантиметров, поэтому воздух может более активно высушивать слой краски. Рядом с этими соплами производится отсос отработанного воздуха, что позволяет разместить по длине СУ необходимое количество одинаковых модулей "сопло - отсос".
В ИК СУ направление подачи горячего воздуха иное - вдоль поверхности полотна. Отсос отработанного воздуха из камеры производится в конце камеры. По мере удаления от подающих воздух отверстий эффективность воздушного потока падает, вероятность же возникновения значительных поперечных колебаний полотна возрастает, поэтому сушильная камера не может быть такой длинной, как в газовом устройстве. Выходом из этого положения является установка на машине друг за другом двух или большего количества одинаковых ИК СУ небольшой длины.
Конечно, для установки сушильных устройств на машине требуется определенное место. Не каждую действующую печатную машину можно оснастить сушильным устройством или устройствами. Отсюда напрашивается такое предложение. Если на закупку СУ в составе печатной машины не хватает денег, все равно целесообразно предусмотреть возможность установки такого устройства в дальнейшем. Для этого необходимо оставлять пустое место между последней печатной секцией и фальцаппаратом.
Как уже отмечалось, наиболее эффективными являются газовые СУ, эффективность ИК СУ ниже. Действительно, как можно серьезно сравнивать между собой два СУ, одно из которых (газовое) имеет длину 6-10 метров и тепловую мощность несколько сотен киловатт, а второе (ИК) имеет длину всего 2-3 метра и тепловую мощность в несколько раз меньшую? Сравнивать оба типа сушильных устройств необходимо в одинаковых условиях, используя такие удельные показатели, как, например, "Мощность, приходящаяся на 1 м2 бумажного полотна внутри сушильного устройства, отнесенная к скорости бумажного полотна в 1 м/с", "Расход воздуха на 1 м2 бумажного полотна ..." и т.д.
Необходимо еще обратить внимание на следующее. В ранних моделях ИК сушильных устройств некоторых изготовителей иногда происходит загорание бумажного полотна. Оно может случаться при обрыве полотна или при остановке машины, при которых наблюдается ослабление натяжения бумажного полотна и его провисание. Несмотря на производимый в ряде сушильных устройств автоматический (при останове машины) отвод нижней нагревательной панели от бумажного полотна, при чрезмерном ослаблении натяжения происходит соприкосновение полотна с горячими лампами и его возгорание. В разработанных ЗАО "НИИполиграфмаш" сушильных устройствах возгорание бумажного полотна практически не происходит, поскольку воздух продолжает определенное время подаваться в сушильную камеру и после выключения ламп, что значительно ускоряет их остывание. При запуске сушильного устройства в работу вентиляторы включаются еще до включения ламп. Критичным может быть только вариант, когда происходит общее обесточивание машины.
В заключении рассмотрим несколько реальных примеров.
Пример первый. В одной из моделей газетной печатной машины ПОГ284 три печатные секции, и все они установлены слева от фальцаппарата. Первой слева стоит печатная секция-башня красочностью 4+4. Между ней и фальцаппаратом расположены еще две секции красочностью 1+1 со своими рулонными зарядками. Расстояние от секции-башни до фальцаппарата составляет порядка 7-8 м. При печати небольших тиражей скорость работы машины относительно невысокая, поэтому при большом расстоянии между секцией-башней и фальцаппаратом многокрасочные оттиски успевают подсохнуть. Приемка выходящих из фальцаппарата газет осуществляется вручную. Газеты при этом просто укладываются в привертки и стопы, дополнительно не обжимаются, в связи с чем отмарывание практически отсутствует. Отсюда следует, что при такой схеме машины и таких режимах работы без СУ можно обойтись.
Пример второй. В машине фирмы "Крезо-Луар" печать красочностью 4+2 осуществляется в двух печатных секциях 2+1, стоящих сразу справа от фальцаппарата. Остальные секции 1+1 расположены слева от фальцаппарата. Количество печатаемых в течение дня тиражей достаточно велико, поэтому печать осуществляется на высокой скорости. Приемка газет механизирована с помощью приемно-комплектующего устройства, в котором используется много транспортирующих лент обжимающих поток газет. Дополнительное обжатие газет производится и в машине для автоматической обвязки стоп. Поскольку ленты немного проскальзывают относительно газет, проблема отмарывания стояла весьма актуально. Поскольку расстояние от второй секции 2+1 до фальцаппарата небольшое (порядка 3 м) места для установки газового сушильного устройства просто нет. Да и с подводом газа сложности. Поэтому данная машина была оснащена ИК СУ, которое помогло справиться с проблемой отмарывания.
Пример третий. На печатной машине "Кромосет" фирмы "МАН-Пламаг" даже при печати продукции красочностью 1+1 и небольшой скорости работы, но на бумаге повышенной гладкости, при приемке тетрадей существовала проблема отмарывания. Для ее устранения машина была оснащена ИК сушильным устройством.
Из приведенных примеров, видно, что вопрос применения (или не применения) ИК сушильного устройства необходимо решать, исходя из конкретных условий, учитывающих используемые бумагу и краску, конфигурацию печатной машины, способ приемки продукции и т.д. Однозначного ответа для всех случаев быть не может.
Список литературы
Для подготовки данной работы были использованы материалы с сайта http://www.newsprint.ru
Характеристики
Тип файла документ
Документы такого типа открываются такими программами, как Microsoft Office Word на компьютерах Windows, Apple Pages на компьютерах Mac, Open Office - бесплатная альтернатива на различных платформах, в том числе Linux. Наиболее простым и современным решением будут Google документы, так как открываются онлайн без скачивания прямо в браузере на любой платформе. Существуют российские качественные аналоги, например от Яндекса.
Будьте внимательны на мобильных устройствах, так как там используются упрощённый функционал даже в официальном приложении от Microsoft, поэтому для просмотра скачивайте PDF-версию. А если нужно редактировать файл, то используйте оригинальный файл.
Файлы такого типа обычно разбиты на страницы, а текст может быть форматированным (жирный, курсив, выбор шрифта, таблицы и т.п.), а также в него можно добавлять изображения. Формат идеально подходит для рефератов, докладов и РПЗ курсовых проектов, которые необходимо распечатать. Кстати перед печатью также сохраняйте файл в PDF, так как принтер может начудить со шрифтами.
















