169167 (742276), страница 2
Текст из файла (страница 2)
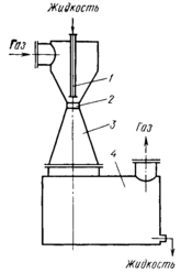
Рисунок 1.1 – Устройство конического циклона
Центробежные пылеуловители. В центробежных пылеуловителях- циклонах происходит очистка запыленного воздуха от крупной пыли (размером более 50μ). При вращении воздушного потока внутри циклона развивается центробежная сила, под воздействием которой пылевые частицы отделяются от воздуха и отбрасываются к наружной стенке. В хлопковой промышленности широко используют конические циклоны.
На рис. 1.1 показано устройство конического циклона, который состоит из входного патрубка 1, наружного полого усеченного конуса 2, внутреннего полого усеченного конуса 3, дождевого колпака с рассекателем 4 и пылевого патрубка 5. Запыленный воздух поступает в циклон через входной патрубок по касательной и приобретает вращательное движение. Центробежная сила отжимает частицы пыли к внутренней стенке наружного конуса, по которой они, вращаясь, скатываются к пылевому патрубку и выводятся в атмосферу. Воздушный поток, также вращаясь и теряя скорость, в нижней части переходит во внутренний конус и выходит в атмосферу. В нижней части циклона, в месте перехода наружного воздушного потока во внутренний конус, создается разрежение, которое препятствует выделению пыли. В результате этого разрежения через пылевой патрубок в циклон подсасывается наружный воздух, а вместе с ним может обратно поступать выделенная пыль, которая будет выбрасываться в атмосферу через внутренний усеченный конус вместе с очищенным воздухом.
Для нормальной работы циклона без подсоса наружного воздуха необходимо создать подпор воздуха на выходном отверстии за счет регулировки дождевого колпака, который в некоторой степени может уменьшить разрежение в нижней части циклона. Полное устранение подсоса в циклоне достигается герметизацией пылевого патрубка, а также устройством бункера или шлюзового затвора. Даже незначительный присос воздуха через нижнюю часть циклона резко снижает эффективность задержания пыли. При подсосе 10—15% воздуха эффективность его очистки незначительна.
Рисунок 1.2 – График зависимости пылезадерживающего эффекта циклона (D = 1800 мм) от размера частиц пыли
С увеличением скорости воздуха при входе в циклон пылезадерживающий эффект повышается. Однако с увеличением скорости увеличивается и сопротивление циклона. Оптимальной скоростью воздуха в циклонах считают 14—18 м/с.
Пылезадерживающий эффект конических циклонов зависит от свойств пыли и от размеров ее частиц.
На графике (рис. 1.2) показана зависимость пылезадерживающего эффекта циклона от размера частиц пыли, выделяющейся с отработавшим воздухом пневмотранспортной установки с крупностью частиц менее 50|х и содержанием их в пыли около 35%. Пылезадерживающий эффект при этом составляет 60—65%. Опыт работы хлопкоочистительных заводов показывает, что при очистке циклонами отработавшего воздуха с большим содержанием в нем волокнистой массы пылезадерживающий эффект доходит до 94-97%. Это объясняется тем, что пыль с воздухом по внутренней поверхности наружного конуса опускается, а вблизи пылевого патрубка воздушный поток изменяет направление. В момент изменения направления движения воздушного потока происходит захват воздухом мелких частиц пыли и вынос их из циклона в атмосферу.
Нормальная эксплуатация циклонов обеспечивает при переработке хлопка-сырца низких сортов очистку воздуха после конденсеров линтеров до 76 мг/м3 при пылезадерживающем эффекте 95—97%. При очистке воздуха после конденсеров джинов достигается такой же пылезадерживающий эффект (94-97%). Циклоны, которые обеспыливают воздух после конденсеров джинов, очищают его до санитарной нормы (150 мг/м3), если в хлопке-сырце нет лессовой пыли. Поэтому их широко применяют при обеспыливании отработавшего воздуха, отходящего от конденсеров линтеров, от местных пылеотсосов, от семяочистителей и других устройств, выделяющих волокнистую пыль.
Сопротивление циклонов потоку воздуха при скорости входа его в циклон, равной 14 м/с, составляет 460—650 Н/м2.
Конические циклоны в зависимости от производительности устанавливают одиночно или группами. При групповой установке (более двух циклонов) необходимо, чтобы направление вращения воздуха во всех циклонах было одинаковым.
Рисунок 1.3 – Схема установки циклонов с одинаковым направлением вращения воздуха
Рисунок 1.4 – Схема установки циклонов с разным направлением вращения воздуха
Схема установки циклонов с одинаковым направлением вращения воздуха показана на рис. 1.3, а с разным - на рис. 1.4. Когда несколько циклонов подключают к одному источнику запыленного воздуха, необходимо предусмотреть регулировку количества воздуха, поступающего в каждый циклон. Для этого устанавливают заслонки во входном патрубке циклона.
При работе группы циклонов, установленные в одну линию бункера их не обеспечивают отвода осаждающегося сора, поэтому сор направляют в герметически закрытый винтовой шнек, который транспортирует сорные примеси к месту их скопления.
Для улавливания запыленных частиц после пневмотранспортных систем и из системы аспирации технологических машин применяют двухсекционную многоциклонную установку.
Двухступенчатая шестициклонная установка. Такую установку применяют для очистки воздуха, отходящего от системы пневмотранспорта хлопка-сырца перед выпуском его в атмосферу.
Двухступенчатая шестициклонная воздухоочистительная система (рис. 1.5) для очистки воздуха, отходящего от систем пневмотранспорта хлопка-сырца, состоит из двух ступеней: в первой установлены два циклона диаметром 1500 мм, а во второй - четыре циклона диаметром 1000 мм. Запыленный воздух подается к циклонам первой ступени 1 со скоростью 16—18 м/с, здесь осаждается вся основная волокнистая масса и грубодисперсная пыль. Далее воздух через трубопровод 2 отсасывается из циклонов первой ступени вентилятором 3 и подается к циклонам второй ступени 4 через беззабойные рукава 5.
Рисунок 1.5 – Схема двухступенчатой шестициклонной установки
Далее воздух через трубопровод 2 отсасывается из циклонов первой ступени вентилятором 3 и подается к циклонам второй ступени 4 через беззабойные рукава 5.
Циклоны герметизированы вакуум-клапаном 6, который соединяется с циклоном через переходник 7, предназначенный для осмотра внутренней полости циклона и очистки в случае забивания пылью.
Выброс пыли осуществляется через шнек 8, откуда она поступает в общий пневмотранспорт и транспортируется к соронакопительному устройству. Общий пылезадерживающий эффект системы 90-95%.
Рисунок 1.6 – Схема двухступенчатой двухсекционной установки
Двухступенчатая двухсекционная установка. Двухступенчатую двухсекционную установку применяют для очистки запыленного воздуха, отходящего от системы аспирации технологических машин хлопкоочистительного завода.
Установка (рис. 1.6) для очистки запыленного воздуха от системы аспирации очистительных и других технологических машин и джинно-линтерного цеха состоит из двух ступеней.
Впервой ступени установлены два циклона большой производительности, вторая ступень состоит из четырех циклонов меньшей производительности.
Запыленный воздух поступает в циклон 1 со скоростью 14-18 м/с, здесь осаждается вся волокнистая масса и крупнодисперсная пыль. Очищенный воздух через трубопровод 2 отсасывается из циклонов 1 вентилятором 3 и через беззабойные тройники 4 передается к циклонам второй ступени аналогичного устройства.
Циклоны первой ступени герметизированы вакуум-клапаном 5, соединенным с переходником 6, предназначенным для осмотра внутренней плоскости циклона и очистки в случае забивания пылью. Пылевыгрузочные отверстия циклонов герметизированы переходниками, являющимися общими для четырех циклонов. Очищенный воздух из четырех циклонов второй ступени через выхлопные трубы выбрасывается в атмосферу. Аэродинамический режим циклонов регулируется с помощью шиберов, отвод пыли и сорных примесей осуществляется общим шнеком 7, откуда они поступают в общий пневмосоропровод и транспортируются к соронакопительному устройству.
Фильтрация основана на прохождении очищаемого газа через различные фильтрующие ткани (хлопок, шерсть, химические волокна, стекловолокно и др.) или через другие фильтрующие материалы (керамика, металлокерамика, пористые перегородки из пластмассы и др.). Наиболее часто для фильтрации применяют специально изготовленные волокнистые материалы — стекловолокно, шерсть или хлопок с асбестом, асбоцеллюлозу. В зависимости от фильтрующего материала различают тканевые фильтры (в том числе рукавные), волокнистые, из зернистых материалов (керамика, металлокерамика, пористые пластмассы). Тканевые фильтры, чаще всего рукавные, применяются при температуре очищаемого газа не выше 60-65°С. В зависимости от гранулометрического состава пылей и начальной запыленности степень очистки составляет 85-99%. Гидравлическое сопротивление фильтра Р около 1000 Па; расход энергии ~ 1 кВт*ч на 1000 м3 очищаемого газа. Для непрерывной очистки ткани продувают воздушными струями, которые создаются различными устройствами – соплами, расположенными против каждого рукава, движущимися наружными продувочными кольцами и др. Сейчас применяют автоматическое управление рукавными фильтрами с продувкой их импульсами сжатого воздуха.
Фильтрация – весьма распространенный прием тонкой очистки газов. Ее преимущества – сравнительная низкая стоимость оборудования (за исключением металлокерамических фильтров) и высокая эффективность тонкой очистки. Недостатки фильтрации высокое гидравлическое сопротивление и быстрое забивание фильтрующего материала пылью.
Мокрая очистка газов от аэрозолей основана на промывке газа жидкостью (обычной водой) при возможно более развитой поверхности контакта жидкости с частицами аэрозоля и возможно более интенсивном перемешивании очищаемого газа с жидкостью. Этот универсальный метод очистки газов от частиц пыли, дыма и тумана любых размеров является наиболее распространенным приемом заключительной стадии механической очистки, в особенности для газов, подлежащих охлаждению. В аппаратах мокрой очистки применяют различные приемы развития поверхности соприкосновения жидкости и газа.
Башни с насадкой (насадочные скрубберы) отличаются простотой конструкции и эксплуатации, устойчивостью в работе, малым гидравлическим сопротивлением (Р=300800 Па) и сравнительно малым расходом энергии. В насадочном скруббере возможна очистка газов с начальной запыленностью до 5-6 г/м3. Эффективность одной ступени очистки для пылей с d > 5 мкм не превышает 70-80%. Насадка быстро забивается пылью, особенно при высокой начальной запыленности.
Орошаемые циклоны (центробежные скрубберы) применяют для очистки больших объемов газа. Они имеют сравнительно небольшое гидравлическое сопротивление – 400-850 Па. Для частиц размером 2-5 мкм степень очистки составляет ~50%. Центробежные скрубберы высокопроизводительны благодаря большой скорости газа; во входном патрубке г=1820 м/с, а в сечении скруббера г = 45 м/с.
Пенные аппараты применяют для очистки газа от аэрозолей полидисперсного состава. Интенсивный пенный режим создается на полках аппарата при линейной скорости газа в его полном сечении 1-4 м/с. Пенные газоочистители обладают высокой производительностью по газу и сравнительно небольшим гидравлическим сопротивлением (Р одной полки около 600 Па). Для частиц с диаметром d >5 мкм эффективность их улавливания на одной полке аппарата 90-99%; при d < 5 мкм = 7590%. Для повышения устанавливают двух- и трехполочные аппараты.
Скрубберы Вентури (см. рис. 1.7) — высокоинтенсивные газоочистительные аппараты, но работающие с большим расходом энергии. Скорость газа в сужении трубы (горловине скруббера) составляет 100—200 м/с, а в некоторых установках — до 1200 м/с. При такой скорости очищаемый газ разбивает на мельчайшие капли завесу жидкости, впрыскиваемой по периметру трубы. Это приводит к интенсивному столкновению частиц аэрозоля с каплями и улавливанию частиц под действием сил инерции. Скруббер Вентури — универсальный малогабаритный аппарат, обеспечивающий улавливание тумана на 99—100%, частиц пыли с d = 0,010,35 мкм — на 50–85% и частиц пыли с d = 0,5-2 мкм — на 97%. Для аэрозолей с d = 0,3-10 мкм эффективность улавливания определяется в основном силами инерции и может быть оценена по формуле
(1.1)
где К – константа; L – объем жидкости, подаваемой в газ, дм3/м3;
– инерционный параметр, отнесенный к скорости газа в горловине
при
90% является однозначной функцией перепада давления в скруббере.
















