151889 (733148), страница 4
Текст из файла (страница 4)
Терморезистор СТ4-16, в котором для герметизации термочувствительный элемент в виде бусинки оплавлен стеклом, обладает повышенной стабильностью и относительно малым разбросом номинального; сопротивления (менее ±5%). Терморезистор СТ17-1 предназначен для работы в диапазоне низких температур (от —258 до +60 °С).' При температуре кипения жидкого азота (—196 °С) его ТКС составляет от —0,06 до
—0,12К-1 при температуре —252,6 °С ТКС возрастает и достигает значения от —0,15 до —0,30 К-1, постоянная времени при погружении в жидкий азот не превышает 3 с. Терморезистор СТ18-1 рассчитан на работу в температурном диапазоне от +200 до +600 "С, его ТКС при +250 °С составляет —0,034 К-1, при 600 °С равен —0,011 К-1"1.
В табл. 11-5 приведены характеристики для некоторых типов ПТР, взятые из соответствующих стандартов. В графе «номинальное сопротивление» приведены крайние значения рядов номинальных сопротивлений.
Таблица 5
| Тип ПТР | Номинальное сопротивление при 20С, кОм | Посто- янная В, 102 К | Диапазон рабочих температур, °С | Мощность рассеяния | ТКС при 20 °С, К-1' | Постоянная времени, с | ||||
| Pmin, мВт | Pmax, Вт | Pдоп, мВт | ||||||||
| КМТ-1 КМТ-8 | 22—1000 0,1-10 | 36-72 | —60 ... +180 -45 ... +70 | 1,0 3,0 | 1,0 0,6 | 0,3 1,0 | —0,042...—0,084 | 85 115 | ||
| ММТ-1 | 1-230 | 20,6—43 | —60 ... +125 | 1,3 | 0,6 | 0,4 | —0,024…—0,05 | 85 | ||
| ММТ-8 | 0,001-0,047 0.056—0,100 0,120—1,000 | 20,6—27,5 22,3—29,2 22,3-34,3 | -45 ... +70 | 10 | 0,6 | 2,0 | —0,024…—0,032 —0,024…—0,034 —0,026…—0,04 | - | ||
| ММТ-9 | 0,01—4,7 | 20,6-43 | -60 ... +125 | 10 | - | 2,0 | —0,024...—0,05 | |||
| СТЗ-23 | 2,2; 2,7; 3,3; 3,9; 4,7 Ом | 26—32 | —0,0305. ..0,0375 | |||||||
| СТЗ-17 CT1-I7 | 0,033—0,330 0,330—22 | 25,8-38,6 36—60 | —60 ... +100 | 0.8 0,5 | -. | 0,2 | —0,03 ..—0,045 —0,042... —0,07 | 30 | ||
Минимальной мощностью рассеяния Рmin называется мощность, при которой у терморезистора, находящегося в спокойном воздухе при температуре (20 ± 1) °С, сопротивление уменьшается от разогревания током не более чем на 1 %. Максимальной называется мощность Ртах, при которой терморезистор, находящийся в тех же условиях, разогревается током до верхней допустимой температуры. Кроме этого, указывается допустимая мощность Рдоп при максимальной допустимой температуре. По стандартам для большинства терморезисторов допускаются отклонения от номинальных значений начальных сопротивлений в пределах ± 20%, при длительной выдержке ПТР при максимальной допустимой температуре допускается изменение сопротивления в пределах ± 3%, при хранении в течение 18 месяцев изменение сопротивления не должно превышать ± (1 3)%, при хранении до 10 лет изменение сопротивления может достигать ±30%. Однако опыт работы с ПТР показывает, что стабильность характеристик ПТР оказывается в большинстве случаев значительно выше указываемой в стандартах.
В настоящее время не на все типы выпускаемых ПТР имеются стандарты. Основные характеристики некоторых из этих типов ПТР, не вошедших в табл. 5, даны в табл. 6. В графе «постоянная В» приводятся два диапазона возможных значений В: первая строка относится к низким температурам, а вторая — к высоким. Номинальные сопротивления ПТР типов КМТ-14, СТ1-18, СТ1-19 нормируются для 150 °С, остальные — для 20 °С.
Таблица 6
| Тип ПТР | Номинальное сопротивление, кОм | Постоянная В, 10* К | Диапазон рабочих температур, "С | Коэффициент рассеяния, мВт/К | Постоянная времени (не более), с |
| ММТ-6 СТЗ-6 КМТ-10 СТ4-2 СТ4-15 СТ4-17 КМТ-14 СТЗ-14 СТ1-18 СТЗ-19 СТЗ-25 | 10—100 6,8-8,2 100—3300 2,1-3,0 1,5—1,8 1,5—2,2 0,51—7500 1,5-2,2 1,5—2200 2,2—15 3,3-4,5 | 20,6 20,5—24 36 34,7—36,3 36,3—41,2 23,5—26,5 29,3—32,6 32,6—36 41—70 26—33 27,5—36 40,5—90 26—32 | —60...+125 —90...+125 0...125 —60...+125 —60...+180 —80...+100 —10... +300 —60...+125 —60...+300 —90...+125 —100...+125 | 1,7 1,6 - 36 36 2 0,8 1,1 0,2 0,5 0,08 | 35 35 - - - 30 60 4 1 3 0,4 |
5. ИЗМЕРИТЕЛЬНЫЕ ЦЕПИ ТЕРМОРЕЗИСТОРОВ
Измерительные цепи терморезисторов строят обычно или на основе уравновешенных мостов или используя преобразование сопротивления
в напряжение.
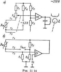
На рис. 13, а показана упрощенная схема измерительной цепи самопишущего термометра типа КС. Металлический терморезистор R включается здесь в мост, образованный резисторами Rt R2, R3 и реохордом Rр. Мост питается от источника переменного напряжения 6,3 В через добавочный резистор Rд. Выходное напряжение моста подается на усилитель неравновесия УН, управляющий работой двигателя Д, связанного с движком реохорда и пером самописца. Вращаясь, двигатель перемещает движок реохорда до тех пор, пока мост не придет в состояние равновесия. „ Перемещение движка пропорционально изменению сопротивления R, и шкала прибора градуируется по температуре.
Как видно из рис. 13, а, терморезистор в данном случае присоединен к мостовой цепи с помощью трехпроводной линии связи. Благодаря этому уменьшается погрешность, вызываемая изменением сопротивления проводов линии. Действительно, сопротивления проводов r1 и r3 включены в соседние плечи моста (последовательно с R и R3), а сопротивление провода r2 включено последовательно с источником питания. Таким образом, r2 вообще не влияет на состояние равновесия, а влияния сопротивлений r1 и r3 в значительной степени компенсируют друг друга.
Если обозначить буквой ц относительное перемещение движка реохорда от нижнего по схеме зажима, то условие равновесия моста в схеме рис. 11-14, а запишется следующим образом:
Из этого равенства соответственно найдем
Последнее соотношение позволяет количественно оценить влияние нестабильности сопротивлений rt и r3 на показания прибора .
Широкое распространение цифровых вольтметров привело к тому, что в настоящее время получили применение измерительные цепи, основанные на преобразовании сопротивления в напряжение.
На рис. 13,6 показана схема преобразователя сопротивления в напряжение, содержащая неравновесный мост, в одно из плеч которого включен по трехпроводной схеме терморезистор R.. Благодаря использованию в цепи операционного усилителя ОУ достигается линейная зависимость выходного напряжения Uвых от сопротивления R.. Напряжение на выходе ОУ, которое является напряжением питания моста, равно
U = Uo (Rt + R + r1 + r3)/R1
Выходное напряжение моста определяется как
Если
= R2 = R3 = R и R = R +R, то
Как видно из последнего выражения, сопротивления проводов r1 и r3 компенсируют друг друга и при r1 = r3 выходное напряжение Uвых = 0,5 U0R/R. Напряжение питания Uo ограничивается значением допустимого тока через терморезистор, ток через терморезистор определяется формулой I = UO / R1.
Рис. 14
Радикальным методом борьбы с влиянием проводов соединительной линии является использование четырехпроводного включения терморезистора. Четырехпроводное включение показано на рис. 14, а. Через терморезистор протекает ток I0, задаваемый стабилизатором тока или специальным источником с большим внутренним сопротивлением. Таким образом, сопротивления проводов r1 и r4 а также изменение сопротивления R не влияют на ток I0. Если для измерения напряжения Uвых использовать вольтметр с высоким входным сопротивлением, то сопротивления проводов r2 и r3 также не повлияют на результат измерения. Так обеспечивается практически полное исключение погрешностей, вызванных нестабильностью сопротивлений проводов соединительной линии, а напряжение Uвых определяется простым соотношением Uвых = I0/R
Один из возможных вариантов цепи с источником тока и четырехпроводной соединительной линии показан на рис. 14, б. Источник тока здесь построен на основе операционного усилителя ОУ1 и резисторов с сопротивлениями Rt — R4. Как известно [1], если в такой цепи установить R4 /R3 — R2 /R1 , то ток I0, поступающий в терморезистор Re (при условии, что R7 = ), будет определяться соотношением
I=U0/R3 .
















