151889 (733148), страница 5
Текст из файла (страница 5)
Операционный усилитель ОУ2 обеспечивает поддержание нулевого потенциала на нижнем зажиме терморезистора R вне зависимости от сопротивления проводов r3 и r4. Благодаря этому напряжение между проводом r2 и землей оказывается пропорциональным R и отпадает необходимость в использовании дифференциального усилителя.
Построенный на основе операционного усилителя ОУЗ неинвертирующий усилитель обеспечивает выходное напряжение, равное
(7)
Если требуется, чтобы при начальном значении сопротивления терморезистора R = Ro обеспечивалось равенство выходного напряжения Uвых нулю, то отношение R6/R5 следует выбирать в соответствии с равенством R6/R5 = R0/(R3 — R0). Тогда
Uвых =. Uo (R - R0)/( R3 - R0).
Вводя в измерительную цепь (рис. 14, б) резистор R7, можно скорректировать в некоторых пределах нелинейность преобразования температуры в сопротивление R (если таковая нелинейность имеется). При введении R7 нужно скорректировать значения сопротивлений R1 - R4 так, чтобы выполнялось равенство /?4 (Ra + #7У(#з#7) — = R^Ri- При этом ток I0 оказывается равным I0 = Uo/R3 + UBbIX/R7.
Подобным путем при правильном выборе элементов цепи удается скорректировать погрешность линейности платинового термометра сопротивления и уменьшить эту погрешность в диапазоне измерения О—400 °С до значения 0,1—0,2 °С. Без линеаризации погрешность линейности составляет около 8 СС.
Полупроводниковые терморезисторы имеют весьма нелинейную зависимость сопротивления от температуры (кривая 1 на рис. 15, а). Для полупроводниковых терморезисторов разработаны специальные линеаризующие цепи.
Простейшая из таких цепей образуется при шунтировании полупроводникового терморезистора постоянным сопротивлением, как это показано на рис. 15,6. Линеаризованное сопротивление изменяется в зависимости от температуры в соответствии с кривой 2 на рис. 15, а. Для того чтобы получить точку перегиба кривой 2 при заданной температуре Тп (Тп целесообразно задать в середине диапазона измеряемых температур), нужно выбрать R1.
Часто одновременно с линеаризацией проводят также унификацию характеристик полупроводниковых терморезисторов, т. е. строят двухполюсники с одинаковыми характеристиками при использовании в них терморезисторов с несколько различающимися параметрами. При этом измерительная цепь, естественно, усложняется. Один из возможных вариантов унифицирующей цепи показан на рис. 15, в.
Рис. 15
Путем подбора сопротивлений резисторов Ru R2 и R3 можно совместить реальную характеристику с желаемой в трех точках. При этом средняя точка, соответствующая перегибу зависимости сопротивления от температуры, будет при температуре Тп, если выполнено условие R1 + R2 = Rтп (В - 2Тп)/(В + 2Тп).
Для линеаризации при работе с полупроводниковыми терморезисторами можно использовать также нелинейную зависимость напряжения от одного из сопротивлений в резистивном делителе или неравновесном мосте. На рис. 15, г показана цепь подобного рода, содержащая операционный усилитель ОУ. В этой цепи напряжение с делителя R1 R подается на неинвертирующий вход усилителя ОУ
б. РАЗНОВИДНОСТИ ТЕРМОЧУВСТВИТЕЛЬНЫХ ЭЛЕМЕНТОВ
Кроме широко распространенных и описанных выше термочувствительных преобразователей — термопар и терморезисторов, в последние годы в измерительных
устройствах находят применение термочувствительные элементы, основанные на иных физических эффектах.
В высокоточных термометрах и вакуумметрах используются термочувствительные пьезорезонаторы, в преобразователях тепловых излучений — пироэлектрические преобразователи, в приборах температурного контроля — сегнетокерамические емкостные преобразователи. Для измерения сверхнизких температур и для измерения очень высоких температур разрабатываются термошумовые преобразователи, выходной величиной которых является ЭДС шума резистивных элементов.
Термодиоды и термотранзисторы находят применение в датчиках температуры, работающих в диапазоне от —80 до +150 °С. Верхняя граница температурного диапазона ограничивается тепловым пробоем р-n-перехода и для отдельных типов германиевых датчиков достигает 200 °С, а для кремниевых датчиков — даже 500 °С. Нижняя граница температурного диапазона определяется уменьшением концентрации основных носителей и может достигать для германиевых датчиков —(240 260) °С, для кремниевых —200°С.
Основными преимуществами термодиодов и термотранзисторов являются малые габариты, возможность взаимозаменяемости и, главное, дешевизна, позволяющая применять их в датчиках одноразового употребления.
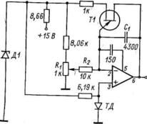
Рис. 16
На рис. 16 представлена схема преобразователя температуры в частоту с диодом ТД типа Д9 в качестве термочувствительного элемента. Диод; ТД подключен к иеинвертирующему входу операционного усилителя, выполняющему функцию интегратора. На инвертирующий вход этого усилителя подается напряжение с делителя R1. Делитель и термодиод питаются стабильным током (Iтд = 1 мА) от источника опорного напряжения, задаваемого диодом Д1. Интегратор сбрасывается через транзистор Т1, когда конденсатор С1 заряжается до напряжения 10 В. Время заряда конденсатора и, следовательно, частота импульсов на выходе интегратора зависят 6т температуры, так как с увеличением температуры уменьшается напряжение на диоде ТД и увеличивается разность напряжений на входах усилителя. Регулировка чувствительности (S = 10 Гц/К) осуществляется изменением сопротивления R2, регулировка нуля — изменением сопротивления R1. Диапазон измерений преобразователя 0—100 °С, погрешность не превышает ±0,3 °С.
Позисторы, критезисторы. В настоящее время известен ряд материалов, для . которых наблюдается резкое изменение проводимости в относительно узком диапазоне температур, близком к температуре фазового перехода для данного материала, т е. к температуре точки Кюри. Резисторы, которые характеризуются особенно большим значением ТКС в окрестности критической температуры, в ряде работ получили название критезисторов.
Рис. 17
В зависимости от материала проводимость в критической области температур может как уменьшаться, так и увеличиваться. Так, серия резисторов типа СТ6, разработанных на базе титаната бария ВаТЮ3, имеет высокие положительные ТКС в области температур 65—150 °С. Полупроводниковые резисторы с положительными ТКС получили название позисторов. Температурные зависимости сопротивления некоторых типов позисторов показаны на рис. 17, а.
Зависимости а от температуры приведены на рис. 17, б. Статические вольт-амперные характеристики, представляющие собой зависимость между током через позистор и напряжением на нем в условиях теплового равновесия с внешней средой, имеют за счет саморазогрева выраженный участок с отрицательным сопротивлением. На рис. 17, в показаны вольт-амперные характеристики 1, 2 и 3 позистора СТ6-1Б' снятые в спокойном воздухе при температурах 20, 40 и 70 °С соответственно. Там же для сравнения дана вольт-амперная характеристика 4 полупроводникового резистора
Резисторы на основе двуокиси ванадия VO2 имеют отрицательный температурный коэффициент в области температур 60—80 °С. На основе VOa выпускаются резисторы СТ9-1А и СТ9-1Б (критезисторы), выполненные в виде прямоугольных штабиков
Список используемой литературы
-
«Электрические изменения физических величин» Левшина Е.С. Новицкий П.В.
-
«Электрические измерения неэлектрических велечин» Туричи А.М.
-
«Электрические измерения» Фремке А.М.
-
Сведения из internet
















