151733 (733112)
Текст из файла
Резисторы: назначение, классификация и параметры
Резисторы предназначены для перераспределения и регулирования электрической энергии между элементами схемы. Принцип действия резисторов основан на способности радиоматериалов оказывать сопротивление протекающему через них электрическому току. Особенностью резисторов является то, что электрическая энергия в них превращается в тепло, которое рассеивается в окружающую среду.
Классификация и конструкции резисторов
По назначению дискретные резисторы делят на резисторы общего назначения, прецизионные, высокочастотные, высоковольтные, высокоомные и специальные. По постоянству значения сопротивления резисторы подразделяют на постоянные, переменные и специальные. Постоянные резисторы имеют фиксированную величину сопротивления, у переменных резисторов предусмотрена возможность изменения сопротивления в процессе эксплуатации, сопротивление специальных резисторов изменяется под действием внешних факторов: протекающего тока или приложенного напряжения (варисторы), температуры (терморезисторы), освещения (фоторезисторы) и т. д.
По виду токопроводящего элемента различают проволочные и непроволочные резисторы. По эксплуатационным характеристикам дискретные резисторы делят на термостойкие, влагостойкие, вибро- и ударопрочные, высоконадежные и т. д.
Основным элементом конструкции постоянного резистора является резистивный элемент, который может быть либо пленочным, либо объемным. Величина объемного сопротивления материала определяется количеством свободных носителей заряда в материале, температурой, напряженностью поля и т. д. и выражается известным соотношением
(2.1)
где ρ — удельное электрическое сопротивление материала;
l — длина резистивного слоя;
S — площадь поперечного сечения резистивного слоя.
В чистых металлах всегда имеется большое количество свободных электронов, поэтому они имеют малое ρ и для изготовления резисторов не применяются. Для изготовления проволочных резисторов применяют сплавы никеля, хрома и т. д., имеющие большое ρ.
Для расчета сопротивления тонких пленок пользуются понятием удельного поверхностного сопротивления ρs под которым понимают сопротивление тонкой пленки, имеющей в плане форму квадрата. Величина ρs связана с величиной ρ и легко может быть получена из (2.1), если принять в ней S = δw где w — ширина резистивной пленки. δ — толщина резистивной пленки.
Тогда
(2.2)
Где
- удельное поверхностное сопротивление, зависящее от толщины пленки δ. Если l=w, то R=ρS, причем значение сопротивления не зависит от размеров сторон квадрата.
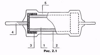
На рис. 2.1 представлено устройство пленочного резистора. На диэлектрическое цилиндрическое основание 1 нанесена резистивная пленка 2. На торцы цилиндра надеты контактные колпачки 3 из проводящего материала с припаянными к ним выводами 4. Для защиты резистивной пленки от воздействия внешних факторов резистор покрывают защитной пленкой 5.
Сопротивление такого резистора определяется соотношением
(2.3)
где l — длина резистора (расстояние между контактными колпачками); D — диаметр цилиндрического стержня.
Такая конструкция резистора обеспечивает получение сравнительно небольших сопротивлений (сотни Ом). Для увеличения сопротивления резистивную пленку 2 наносят на поверхность керамического цилиндра 1 в виде спирали (рис. 2.2).
Сопротивление такого резистора определяется соотношением
(2.4)
где t - шаг спирали;
α - ширина канавки (расстояние между соседними витками спирали);
- число витков спирали.
На рис. 2.3 показана конструкция объемного резистора, представляющего собой стержень 1 из токопроводящей композиции круглого или прямоугольного сечения с запрессованными проволочными выводами 2. Снаружи стержень защищен стеклоэмалевой или стеклокерамической оболочкой 3. Сопротивление такого резистора определяется соотношением (2.1).
Постоянный проволочный резистор представляет собой изоляционный каркас, на который намотана проволока с высоким удельным электрическим сопротивлением. Снаружи резистор покрывают термостойкой эмалью, опрессовывают пластмассой или герметизируют металлическим корпусом, закрываемым с торцов керамическими шайбами.
Выбор типа для конкретной схемы производится с учетом условий работы и определяется параметрами резисторов. Резистор нельзя рассматривать как элемент, обладающий только активным сопротивлением, определяемым его резистивным элементом. Помимо сопротивления резистивного элемента он имеет емкость, индуктивность и дополнительные паразитные сопротивления. Эквивалентная схема постоянного резистора представлена на рис. 2.7.
На схеме RR— сопротивление резистивного элемента, Rиз — сопротивление изоляции, определяемое свойством защитного покрытия и основания, Rк — сопротивление контактов, LR — эквивалентная индуктивность резистивного слоя и выводов резистора, СR — эквивалентная емкость резистора, Ск1 и Ск2 — емкости выводов. Активное сопротивление резистора определяется соотношением
Сопротивление Rк имеет существенное значение только для низкоомных резисторов. Сопротивление Rиз практически влияет на общее сопротивление только высокоомных резисторов. Реактивные элементы определяют частотные свойства резистора. Из-за их наличия сопротивление резистора на высоких частотах становится комплексным. Относительная частотная погрешность определяется соотношением
где Z — комплексное сопротивление резистора на частоте ω.
На практике, как правило, величины L и С неизвестны. Поэтому для некоторых типов резисторов указывают значение обобщенной постоянной времени τmах, которая связана с относительной частотной погрешностью сопротивления приближенным уравнением:
Частотные свойства непроволочных резисторов значительно лучше, чем проволочных.
Параметры резисторов
Параметры резисторов характеризуют эксплуатационные возможности применения конкретного типа резистора в конкретной электрической схеме.
Номинальное сопротивление Rном и его допустимое отклонение от номинала ±∆R являются основными параметрами резисторов. Номиналы сопротивлений стандартизованы в соответствии с ГОСТ 28884 - 90. Для резисторов общего назначения ГОСТ предусматривает шесть рядов номинальных сопротивлений: Е6, Е12, Е24, Е48, Е96 и Е192. Цифра указывает количество номинальных значений в данном ряду, которые согласованы с допустимыми отклонениями (табл. 2.1).
Номинальные значения сопротивлений определяются числовыми коэффициентами, входящими в табл. 2.1, которые умножаются на 10n, где п — целое положительное число. Так, например, числовому коэффициенту 1,0 соответствуют резисторы с номинальным сопротивлением, равным 10, 100, 1000 Ом и т. д.
Номинальная мощность рассеивания Рном определяет допустимую электрическую нагрузку, которую способен выдержать резистор в течение длительного времени при заданной стабильности сопротивления.
Как уже отмечалось, протекание тока через резистор связано с выделением тепла, которое должно рассеиваться в окружающую среду. Мощность, выделяемая в резисторе в виде тепла, определяется величиной приложенного к нему напряжения U и протекающего тока I и равна
Мощность, рассеиваемая резистором в окружающую среду, пропорциональна разности температур резистора ТR и окружающей среды Т0:
Эта мощность зависит от условий охлаждения резистора, определяемых значением теплового сопротивления RT, которое тем меньше, чем больше поверхность резистора и теплопроводность материала резистора.
Из условия баланса мощностей можно определить температуру резистора, что наглядно показано на рис. 2.8, а.
Если
Следовательно, при увеличении мощности, выделяемой в резисторе, возрастает его температура ТR, что может привести к выходу резистора из строя. Для того чтобы этого не произошло, необходимо уменьшить RT, что достигается увеличением размеров резистора. Для каждого типа резистора существует определенная максимальная температура Tmax, превышать которую нельзя. Температура ТR, как следует из вышеизложенного, зависит также от температуры окружающей среды. Если она очень высока, то температура ТR может превысить максимальную. Чтобы этого не произошло, необходимо уменьшать мощность, выделяемую в резисторе (рис. 2.8, б). Для всех типов резисторов в ТУ оговаривают указанные зависимости мощности от температуры окружающей среды (рис. 2.8, в). Номинальные мощности стандартизованы (ГОСТ 24013-80 и ГОСТ 10318-80 ) и соответствуют ряду: 0,01; 0,025; 0,05; 0,125; 0,25; 0,5; 1; 1,2; 5; 8; 10; 16; 25; 50; 75; 100; 160; 250; 500.
Предельное рабочее напряжение Uпред определяет величину допустимого напряжения, которое может быть приложено к резистору. Для резисторов с небольшой величиной сопротивления (сотни Ом) эта величина определяется мощностью резистора и рассчитывается по формуле
Для остальных резисторов предельное рабочее напряжение определяется конструкцией резистора и ограничивается возможностью электрического пробоя, который, как правило, происходит по поверхности между выводами резистора или между витками спиральной нарезки. Напряжение пробоя зависит от длины резистора и давления воздуха. При длине резистора не превышающей 5 см оно определяется по формуле
где Р — давление, мм рт. ст.;
l — длина резистора, см.
ЗначениеUпред указывается в ТУ, оно всегда меньше Uпроб. При испытании резисторов на них подают испытательное напряжение Uисп которое больше Uпред и меньше Uпроб.
Температурный коэффициент сопротивления (ТКС) характеризует относительное изменение сопротивления при изменении температуры:
Этот коэффициент может быть как положительным, так и отрицательным. Если резистивная пленка толстая, то она ведет себя как объемное тело, сопротивление которого с ростом температуры возрастает. Если же резистивная пленка тонкая, то она состоит из отдельных «островков», сопротивление такой пленки с ростом температуры уменьшается, так как улучшается контакт между от дельными «островками». У различных резисторов эта величина лежит в пределах ±(7‑12)·10-4.
Коэффициент старения βR характеризует изменение сопротивления, которое вызывается структурными изменениями резистивного элемента за счет процессов окисления, кристаллизации и т. д:
В ТУ обычно указывают относительное изменение сопротивления в процентах за определенное время (1000 или 10 000 ч).
Характеристики
Тип файла документ
Документы такого типа открываются такими программами, как Microsoft Office Word на компьютерах Windows, Apple Pages на компьютерах Mac, Open Office - бесплатная альтернатива на различных платформах, в том числе Linux. Наиболее простым и современным решением будут Google документы, так как открываются онлайн без скачивания прямо в браузере на любой платформе. Существуют российские качественные аналоги, например от Яндекса.
Будьте внимательны на мобильных устройствах, так как там используются упрощённый функционал даже в официальном приложении от Microsoft, поэтому для просмотра скачивайте PDF-версию. А если нужно редактировать файл, то используйте оригинальный файл.
Файлы такого типа обычно разбиты на страницы, а текст может быть форматированным (жирный, курсив, выбор шрифта, таблицы и т.п.), а также в него можно добавлять изображения. Формат идеально подходит для рефератов, докладов и РПЗ курсовых проектов, которые необходимо распечатать. Кстати перед печатью также сохраняйте файл в PDF, так как принтер может начудить со шрифтами.















