151446 (733030)
Текст из файла
Индивидуально задание по изучению оборудования и процессов теплоэнэргетических установок
1. Изучение принципа работы парового котла ТЭЦ. Определение КПД котлоагрегата
Паровой котёл — установка, предназначенная для генерации насыщенного или перегретого пара, а также для подогрева воды, путём выделения теплоты, полученной при сжигании топлива и перехода его химической энергии в тепловую.
Котел паровой- сосуд давления, в котором нагревается вода, превращающаяся в пар. Тепловая энергия, подводимая к паровому котлу, может представлять собой тепло от сгорания топлива, электрическую, ядерную, солнечную или геотермальную энергию. Поскольку котел дает только насыщенный пар, его следует отличать от парогенератора, в состав которого в качестве неотъемлемых и необходимых агрегатов могут входить пароперегреватели, экономайзеры и воздухоподогреватели. Котлы применяются как источники пара для отопления зданий и питания технологического оборудования в промышленности, а также машин и турбин, приводящих в действие электрогенераторы. Самые малые паровые котлы бытового назначения дают ок. 20 кг пара в час при давлениях порядка атмосферного. В то же время котлы крупнейших электростанций производят до 4500 т пара в час при давлениях до 28 МПа. Такие давления называются сверхкритическими, поскольку они превышают критическое давление воды (22,1 МПа), при котором вода превращается в пар. Большой паровой котел такого типа может, потребляя несколько сот тонн пылевидного угля в час, производить столько пара при 550° C, сколько необходимо для выработки 1300 МВт электроэнергии. На рис. 1-3 представлены схемы (с указанием основных агрегатов) одного газотрубного и двух водотрубных котлов. Во всех этих котлах имеется топочная камера, в которой сжигается топливо. Горячие газообразные продукты горения уходят из зоны горения и на своем пути омывают поверхности парообразующих (кипятильных) труб, расположенных в газовом тракте. Проходя по шахте котла, эти газы охлаждаются от максимальной температуры в топочной камере до самой низкой в дымоходе. Тепло, отдаваемое газами, поглощается водой, которая нагревается и испаряется. Процесс испарения вызывает естественную циркуляцию (принудительная циркуляция создается механическими средствами - насосами).
ТИПЫ ПАРОВЫХ КОТЛОВ
Существуют два основных типа паровых котлов: газотрубные и водотрубные. Все котлы (жаротрубные, дымогарные и дымогарно-жаротрубные), в которых высокотемпературные газы проходят внутри жаровых и дымогарных труб, отдавая тепло воде, окружающей трубы, называются газотрубными. В водотрубных котлах по трубам протекает нагреваемая вода, а топочные газы омывают трубы снаружи. Газотрубные котлы опираются на боковые стенки топки, тогда как водотрубные обычно крепятся к каркасу котла или здания.
ГАЗОТРУБНЫЕ КОТЛЫ
В современной теплоэнергетике применение газотрубных котлов ограничивается тепловой мощностью ок. 360 кВт и рабочим давлением около 1 МПа. Дело в том, что при проектировании сосуда высокого давления, каким является котел, толщина стенки определяется заданными значениями диаметра, рабочего давления и температуры. При превышении же указанных предельных параметров требуемая толщина стенки оказывается неприемлемо большой. Кроме того, необходимо учитывать требования безопасности, так как взрыв крупного парового котла, сопровождающийся мгновенным выбросом больших объемов пара, может привести к катастрофе. При современном уровне техники и существующих требованиях к безопасности газотрубные котлы можно считать устаревшими, хотя пока еще находятся в эксплуатации многие тысячи таких котлов тепловой мощностью до 700 кВт, обслуживающих промышленные предприятия и жилые здания (рис. 1).
Рис. 1. ГОРИЗОНТАЛЬНЫЙ ОБОРОТНЫЙ ДЫМОГАРНЫЙ ГАЗОТРУБНЫЙ ПАРОВОЙ КОТЕЛ. 1 - подвод топлива и воздуха; 2 - топочная камера; 3 - дымогарные трубы прямого прохода; 4 - дымогарные трубы обратного прохода; 5 - задняя трубная решетка; 6 - вход воды; 7 - выход пара; 8 - сепаратор пара; 9 - барабан; 10 - пар; 11 - вода; 12 - водомерное стекло; 13 - дымоход к дымовой трубе; 14 - дымовой короб; 15 - слив.
ВОДОТРУБНЫЕ КОТЛЫ
Водотрубный котел был разработан в связи с непрерывно растущими требованиями повышения паропроизводительности и давления пара. Дело в том, что, когда пар и вода повышенного давления находятся в трубе не очень большого диаметра, требования к толщине стенки оказываются умеренными и легко выполнимыми. Водотрубные паровые котлы по конструкции значительно сложнее газотрубных. Однако они быстро разогреваются, практически безопасны в отношении взрыва, легко регулируются в соответствии с изменениями нагрузки, просты в транспортировке, легко перестраиваемы в проектных решениях и допускают значительную перегрузку. Недостатком водотрубного котла является то, что в его конструкции много агрегатов и узлов, соединения которых не должны допускать протечек при высоких давлениях и температурах.
Кроме того, к агрегатам такого котла, работающим под давлением, затруднен доступ при ремонте. Водотрубный котел состоит из пучков труб, присоединенных своими концами к барабану (или барабанам) умеренного диаметра, причем вся система монтируется над топочной камерой и заключается в наружный кожух. Направляющие перегородки заставляют топочные газы несколько раз проходить через трубные пучки, благодаря чему обеспечивается более полная теплоотдача. Барабаны (разной конструкции) служат резервуарами воды и пара; их диаметр выбирается минимальным во избежание трудностей, характерных для газотрубных котлов (см. выше). Водотрубные котлы бывают следующих типов: горизонтальные с продольным или поперечным барабаном, вертикальные с одним или несколькими паровыми барабанами, радиационные, вертикальные с вертикальным или поперечным барабаном и комбинации перечисленных вариантов, в некоторых случаях с принудительной циркуляцией.
Топочные экраны. В топках водотрубных котлов часто предусматривают радиационные экраны, которые позволяют повысить тепловыделение в топке при меньшей тепловой нагрузке на ее стенки, благодаря чему снижаются затраты времени на техническое обслуживание и повышается КПД, а кроме того, существенно снижаются требования к теплоизоляции стенок. Экраны выполняют в виде частых труб, по которым проходит котловая вода; образующийся в них пар отводится в паровой барабан. Такими экранами обычно защищают (полностью или частично) стены котельной установки. Трубы могут быть гладкими, с проставкой, плавниковыми, ошипованными, с огнеупорной обмазкой.
Горизонтальный водотрубный котел. Для паровых котлов такого типа характерно наличие коллекторов, соединяющихся с навесным барабаном, который может быть расположен либо вдоль топочной камеры, как показано на рис. 2 (продольный барабан), либо поперек (поперечный барабан).
Рис. 2. ПРОДОЛЬНЫЙ ГОРИЗОНТАЛЬНЫЙ ВОДОТРУБНЫЙ ПАРОВОЙ КОТЕЛ. 1 - подвод топлива и воздуха; 2 - огнеупорная топочная камера; 3 - водяные трубы; 4 - передний коллектор (пароводяная смесь); 5 - первый проход; 6 - второй проход; 7 - третий проход; 8 - направляющие перегородки; 9 - дымовой короб; 10 - дымоход к дымовой трубе; 11 - задний коллектор (вода); 12 - слив; 13 - вход воды; 14 - выход пара; 15 - сепаратор пара; 16 - барабан; 17 - водомерное стекло; 18 - пар; 19 - пароводяная смесь.
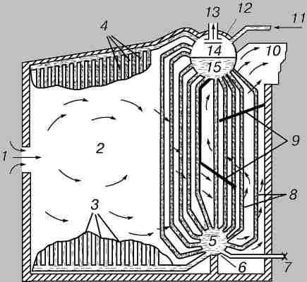
Вертикальный водотрубный котел. В вертикальном паровом котле имеются два или несколько барабанов, установленных на разной высоте, причем зеркало воды находится в самом верхнем из них (рис. 3). Трубы присоединяются непосредственно к барабану. Вблизи места присоединения они изгибаются так, что образуют ряд пучков. Поток горячих газов перегородками направляется поперек труб. Такая конструкция позволяет легко изменять геометрию поверхности нагрева.
Рис. 3. ДВУХБАРАБАННЫЙ ВЕРТИКАЛЬНЫЙ ВОДОТРУБНЫЙ ПАРОВОЙ КОТЕЛ С ЭКРАНИРОВАННОЙ ТОПКОЙ. 1 - подвод топлива и воздуха; 2 - экранированная (радиационная) топочная камера; 3 - огнеупорная обмазка или металлическая обшивка труб экрана; 4 - трубы экрана; 5 - вода; 6 - цилиндрический водяной барабан; 7 - слив; 8 - вертикальные водяные трубы; 9 - направляющие перегородки; 10 - дымоход к дымовой трубе; 11 - вход воды; 12 - цилиндрический паровой барабан; 13 - выход пара; 14 - пар; 15 - кипящая вода.
Радиационные котлы. Радиационные паровые котлы или их топки оборудуются: а) широкими коллекторными трубами (узкими барабанами), проходящими горизонтально в верхней и нижней части стенки топки, либо б) системой вертикальных труб, присоединенных непосредственно к основным барабанам. В варианте "а" коллекторы соединены между собой тонкими частыми вертикальными трубами, образующими настенные экраны. Лучистая теплота из зоны горения заставляет воду в этих трубах испаряться, а горячий пар, поднимаясь между коллекторами, присоединенными к основным барабанам, вызывает циркуляцию. По той же схеме устроены потолочные и напольные экраны. Трубы не имеют изоляции, и лишь в высокотемпературной зоне предусматриваются огнеупорная обмазка или чугунные защитные панели. В некоторых случаях парообразование в экранах играет главную роль, а обычные воднотрубные конвективные теплообменные поверхности лишь защищают основной барабан от радиационного перегрева.
Прямоточные котлы. Прямоточные паровые котлы могут работать как в докритическом, так и в сверхкритическом режиме. В трубы котла насосом подается питательная вода, и она за один проход набирает достаточно тепла, чтобы превратиться в пар высокого давления. Теплообмен осуществляется в основном в многочисленных параллельно включенных экранных панелях, окружающих топочную камеру. Прямоточные котлы применяются главным образом на крупных электростанциях, работающих на ископаемом топливе. Благодаря своему широкому диапазону рабочих условий они отличаются простотой пуска и перехода с режима на режим.
СЕКЦИОНИРОВАННЫЕ ЧУГУННЫЕ КОТЛЫ
Широко распространенный секционированный чугунный отопительный котел рассчитан на максимальное избыточное давление ок. 100 кПа. Он состоит из отдельных чугунных секций, собираемых вместе подобно радиаторам центрального отопления. В крупных паровых котлах такого типа пар из каждой секции поступает в продольный верхний коллектор, а конденсат возвращается по двум нижним продольным коллекторам, расположенным по разные стороны секций. Основное достоинство такого котла состоит в легкости его демонтажа на небольшие блоки. Кроме того, при необходимости его легко наращивать. Однако в случае слишком быстрого разогрева при холодном пуске такой котел может дать трещину; для ремонта же, скажем, средней секции необходима полная разборка. Секционированные котлы работают с довольно высоким КПД и быстро разогреваются, поскольку внутренние поверхности секций образуют непосредственно топочную камеру. Чугунные секции такого котла не гарантируют безопасной работы при высоких давлениях пара; поэтому его тепловая мощность не превышает примерно 200 кВт, а максимальная производительность составляет ок. 4300 кг пара в час. Для этого требуется тепловыделение топлива КОТЕЛ ПАРОВОЙ12 ГДж/ч, что соответствует сжиганию ок. 300 кг антрацита в час.
СОВРЕМЕННЫЕ БЛОЧНО-ТРАНСПОРТИРУЕМЫЕ КОТЛЫ
Во время Второй мировой войны возник огромный спрос на мощные, компактные модульные парогенераторы, простые в эксплуатации и техническом обслуживании, для использования вооруженными силами на суше и на море. Дальнейшее развитие в этом направлении привело к созданию компактных блочно-транспортируемых автоматизированных агрегатов, полностью оборудованных всей контрольно-измерительной аппаратурой и готовых к пуску сразу же, как только после доставки на место к ним будут подключены вода, электроэнергия, топливоподводы и дымоходы. В настоящее время промышленность выпускает такие модули тепловой мощностью до нескольких тысяч киловатт с рабочим давлением до 9 МПа. Они поставляются полностью собранными на опорной раме или плите из конструкционной стали с равномерным распределением веса и допускают стационарную установку на обычном промышленном полу или на постаменте.
ТОПКА ПАРОВОГО КОТЛА
Топка котла - это один из важнейших агрегатов парогенераторной системы. В топке сжигается топливо, в результате чего выделяется тепло, которое передается через металлические стенки рабочей жидкости и превращает ее в пар.
Конструкция. Современная топка представляет собой клетку из вертикальных труб, присоединенных концами к коллекторным барабанам малого диаметра, включенным в циркуляционную систему котла. С наружной стороны клетка снабжена легкой огнеупорной и теплоизолирующей обшивкой, вес которой несут сами трубы. Промежуток между обшивкой и трубами заполнен кирпичами специальной формовки, которые закрывают задние, т.е. наружные, поверхности труб, но оставляют открытыми их передние поверхности. В результате образуется довольно гладкая конструкция, на которой не задерживаются зола и шлак.
Характеристики
Тип файла документ
Документы такого типа открываются такими программами, как Microsoft Office Word на компьютерах Windows, Apple Pages на компьютерах Mac, Open Office - бесплатная альтернатива на различных платформах, в том числе Linux. Наиболее простым и современным решением будут Google документы, так как открываются онлайн без скачивания прямо в браузере на любой платформе. Существуют российские качественные аналоги, например от Яндекса.
Будьте внимательны на мобильных устройствах, так как там используются упрощённый функционал даже в официальном приложении от Microsoft, поэтому для просмотра скачивайте PDF-версию. А если нужно редактировать файл, то используйте оригинальный файл.
Файлы такого типа обычно разбиты на страницы, а текст может быть форматированным (жирный, курсив, выбор шрифта, таблицы и т.п.), а также в него можно добавлять изображения. Формат идеально подходит для рефератов, докладов и РПЗ курсовых проектов, которые необходимо распечатать. Кстати перед печатью также сохраняйте файл в PDF, так как принтер может начудить со шрифтами.















