150608 (732789)
Текст из файла
Министерство образования Республики Беларусь
Учреждение образования
БЕЛОРУССКИЙ ГОСУДАРСТВЕННЫЙ УНИВЕРСИТЕТ
ИНФОРМАТИКИ И РАДИОЭЛЕКТРОНИКИ
Кафедра метрологии и стандартизации
РЕФЕРАТ
на тему:
«Принцип действия и конструктивные особенности магнитоэлектрических измерительных преобразователей и электростатических измерительных приборов »
МИНСК, 2008
Принцип работы и основные технические характеристики электромеханических ИП во многом зависят от вида преобразователя, обеспечивающего преобразование энергии электрического измерительного сигнала в механическую энергию перемещения подвижной части ИП.
Общим для всех электромеханических ИП является то, что они состоят из неподвижной и подвижной частей и ряда общих деталей и узлов. Подвижная часть в большинстве преобразователей может совершать угловое перемещение вокруг неподвижной оси. Механический момент, возникающий в результате воздействия на преобразователь измерительного сигнала и обусловливающий поворот его подвижной части в соответствии со значением измеряемой величины, называется вращающим моментом MВР. Этот момент должен однозначно зависеть от преобразуемой величины X и в общем случае от угла поворота подвижной части ИП:
MВР = f(X, ). (1)
В зависимости от варианта преобразования различают приборы:
1) магнитоэлектрические;
2) электромагнитные
3) электростатические приборы;
3) электродинамические;
4) индукционно-измерительные.
1 Магнитоэлектрические измерительные преобразователи
Магнитоэлектрические преобразователи выделяются среди других групп электромеханических преобразователей широтой и разнообразием применения, высокими метрологическими характеристиками, а также многотипностью. Отечественной промышленностью серийно выпускаются магнитоэлектрические преобразователи вплоть до класса точности 0,05 и с минимальным током полного отклонения до 0,1 мкА.
Наиболее широко магнитоэлектрические преобразователи используются при создании амперметров и вольтметров постоянного тока, омметров, гальванометров постоянного тока, баллистических гальванометров для измерений малых количеств электричества, а также приборов для измерений в цепях переменного тока (осциллографические гальванометры, вибрационные гальванометры, выпрямительные, термоэлектрические и электронные приборы на базе магнитоэлектрических преобразователей).
Принцип действия магнитоэлектрических преобразователей основан на взаимодействии магнитных полей постоянного магнита и проводника с током, конструктивно выполненного в виде катушки (рамки).
Практически все магнитоэлектрические преобразователи можно разделить на две основные разновидности:
- преобразователи с подвижной катушкой и неподвижным магнитом;
- преобразователи с неподвижной катушкой и подвижным магнитом.
Конструктивно преобразователи обеих разновидностей могут быть выполнены:
- с внешним (по отношению к рамке) магнитом;
- с внутрирамочным (внутренним) магнитом.
Кроме того, они мoгут различаться креплением подвижной части, способом создания противодействующего момента, способом успокоения подвижной части и др.
В настоящее время более широкое применение получили магнито-электрические преобразователи с неподвижным магнитом и подвижной катушкой (рисунок 1).
Катушка 5 с числом витков w и площадью витка s находится в магнитном зазоре с равномерным радиальным магнитным полем. Поле в зазоре создается с помощью магнитной системы, состоящей из постоянного магнита 7, полюсных наконечников с цилиндрической расточкой 6 и цилиндрического сердечника 4 из магнитомягкого материала. Благодаря введению в магнитную систему сердечника 4, поле в зазоре, где движется рамка, получается однородным. Для изготовления магнита 7 используют материалы с большой коэрцитивной силой, чаще всего железоникельалюминиево-кобальтовые сплавы. Магнитопроводы и полюсные наконечники выполняют из магнитомягких материалов, чаще всего из низкоуглеродистых электротехнических сталей. Подвижная часть крепятся на полуосях и керновых опорах (в высокочувствительных приборах - на растяжках и подвесах). Противодействующий момент может создаваться механическим (с помощью спиральных пружин 3) или электрическим путем. Катушка 5 наматывается на легком алюминиевом каркасе и жестко крепится на полуосях. При движении катушки в магнитном зазоре в каркасе возникают вихревые токи, создающие момент успокоения . Если получаемый таким образом момент успокоения недостаточно велик, то на каркас катушки дополнительно наматывается необходимое количество короткозамкнутых витков, увеличивающих момент успокоения до нужного значения.
Рисунок1 – Конструкция магнитоэлектрического преобразователя
Самыми разнообразными по номенклатуре и наиболее широко используемыми приборами, создаваемыми на основе магнитоэлектрических преобразователей, являются амперметры, вольтметры, гальванометры и омметры для измерений в цепях постоянного тока.
Амперметры. Как уже отмечалось ранее, магнитоэлектрические измерительные механизмы могут непосредственно использоваться для измерений силы электрического тока. Для этого они включаются в электрическую цепь последовательно с участком, ток через который необходимо измерить (рис 3а). Внутреннее сопротивление RА такого амперметра равно сумме внутреннего сопротивления измерительного механизма Ri и термокомпенсирущего резистора RТК (рисунок 2.3,б), если последний используется в амперметре. Сопротивление Ri представляет собой последовательно соединенные сопротивление катушки преобразователя RК и сопротивление токоподводящих элементов RТ, т.е. Ri = RК + RT. Таким образом, внутреннее сопротивление амперметра равно либо RA = Ri - для амперметра, не содержащего термокомпенсирующих преобразователей, либо RA = Ri + RTK - для амперметра, содержащего термокомпенсирующий резистор RTK.
Так как RA в обоих случаях является конечной величиной, режим электрической цепи после включения в нее амперметра изменится, т.е. измеренное значение тока IИЗМ протекающего через нагрузку RH при включении в цепь амперметра, будет отличаться от действительного значения тока I, протекающего через RH до начала измерений. Однако данная погрешность является систематической и может быть вычислена и исключена из результата измерений.
| а | б |
Рисунок 2 – Амперметр на базе магнитоэлектрического преобразователя
Вольтметры. Магнитоэлектрические вольтметры образуются путем включения измерительного преобразователя последовательно с добавочным резистором RД (рисунок 2.4,a). Полученный таким образом прибор подключается параллельно участку цепи, падение напряжения на котором необходимо измерить (рисунок 2.4,б).
| а | б |
Рисунок 3 – Вольтметр на основе магнитоэлектрического преобразователя
Гальванометры. Гальванометрами называют высокочувствительные электроизмерительные приборы, имеющие неградуированную шкалу и применяемые в качестве нуль-индикаторов, а также после предварительной градуировки для измерения малых значений токов, напряжений, количеств электричества и других физических величин.
Наиболее широкое распространение в практике получили магнитоэлектрические гальванометры. Конструктивно они делятся на два вида:
- переносные со встроенной шкалой, в которых могут использоваться как стрелочные, так и световые отсчетные устройства;
- зеркальные со световым отсчетом и с отдельной шкалой, устанавливаемой на значительном расстоянии от гальванометра.
В переносных гальванометрах подвижная часть крепится на растяжках, в стационарных - на подвесе.
Омметры. На основе магнитоэлектрических преобразователей могут быть созданы приборы для непосредственного измерения такого важного параметра электрических цепей, как электрическое сопротивление. Такие приборы получили название омметров. Простейший омметр представляет собой преобразователь, ток через который создается источником постоянного во времени напряжения и зависит от значения измеряемого сопротивления RX. Указанное сопротивление может быть включено последовательно или параллельно измерительному преобразователю (рисунок 4,a,б соответственно). Шкала прибора может быть при этом проградуирована в единицах сопротивления.
| а | б |
Рисунок 4 – Омметры на базе магнитоэлектрического преобразователя
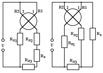
Не требуют первоначальной установки нуля магнитоэлектрические омметры на базе логометрических преобразователей. Они также могут строиться по последовательной и параллельной схемам (рисунок 5,а,б соответственно). Две различные схемы используются с целью уменьшения погрешности измерения, обусловленной влиянием сопротивлений R1 и R2 катушек 1 и 2 логометрического преобразователя при измерении больших и малых значений RX. В обеих схемах резисторы RД1, RД2 и RД3 - добавочные, постоянные, служащие для ограничения токов, протекающих через катушки 1 и 2 преобразователя, и для задания нужного характера шкалы прибора.
| а | б |
Рисунок 5 – Схемы включения логометрических преобразователей
при измерении больших сопротивлений
2. Электростатические измерительные приборы
Электростатические приборы обладают целым рядом отличительных особенностей, обусловливающих их значительные преимущества по сравнению с приборами других систем. Это, прежде всего, малое собственное потребление мощности от источника измеряемого напряжения, сравнительно высокая точность, возможность использования их в широком диапазоне частот (от 20 Гц до 35 МГц), незначительная зависимость показаний от частоты и формы кривой измеряемых напряжений, возможность использования для непосредственного измерения (без применения измерительных трансформаторов напряжения) высоких напряжений (до 300 кВ), независимость показаний от внешних магнитных полей и др. К основным недостаткам этих приборов относятся: сильная зависимость показаний от внешних электрических полей, малое значение вращающего момента и низкая чувствительность, неравномерная шкала и др.
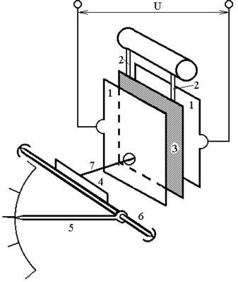
Основу всех электростатических приборов составляют электростатические измерительные механизмы.
Принцип действия электростатических преобразователей основан на взаимодействии электрических полей двух тел (систем пластин), заряженных разноименными зарядами. В результате такого взаимодействия одна из систем, являющаяся подвижной, перемещается относительно неподвижной системы пластин, вызывая при этом отклонение стрелки отсчетного устройства, связанной с подвижной частью преобразователя, в сторону возрастающих показаний. Перемещение подвижной части преобразователя относительно неподвижной вызывает изменение емкости между ними. Конструктивно подвижная и неподвижная части ИМ выполняются в виде пластин.
Все существующие электростатические преобразователи можно разделить на два вида: преобразователи, у которых изменение емкости достигается за счет изменения активной площади взаимодействующие пластин (рисунок 6,a), и преобразователи, у которых емкость изменяется за счет изменения расстояния между пластинами (рисунок 6,б).
| а | б |
Рисунок 6 – Электростатические измерительные преобразователи
Преобразователи первого вида применяются в вольтметрах, предназначенных для измерения низких напряжений, второго вида - в киловольтметрах.
Характеристики
Тип файла документ
Документы такого типа открываются такими программами, как Microsoft Office Word на компьютерах Windows, Apple Pages на компьютерах Mac, Open Office - бесплатная альтернатива на различных платформах, в том числе Linux. Наиболее простым и современным решением будут Google документы, так как открываются онлайн без скачивания прямо в браузере на любой платформе. Существуют российские качественные аналоги, например от Яндекса.
Будьте внимательны на мобильных устройствах, так как там используются упрощённый функционал даже в официальном приложении от Microsoft, поэтому для просмотра скачивайте PDF-версию. А если нужно редактировать файл, то используйте оригинальный файл.
Файлы такого типа обычно разбиты на страницы, а текст может быть форматированным (жирный, курсив, выбор шрифта, таблицы и т.п.), а также в него можно добавлять изображения. Формат идеально подходит для рефератов, докладов и РПЗ курсовых проектов, которые необходимо распечатать. Кстати перед печатью также сохраняйте файл в PDF, так как принтер может начудить со шрифтами.
















