149968 (732504)
Текст из файла
ЭЛЕКТРИЧЕСКИЙ ТОК В ГАЗАХ
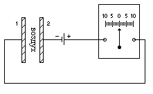
Самостоятельная и несамостоятельная проводимость газов. В естественном состоянии газы не проводят электрического тока, т.е. являются диэлектриками. В этом легко убедиться с помощью простого тока, если цепь прервана воздушным промежутком.
Изолирующие свойства газов объясняются тем, что атомы и молекулы газов в естественном состоянии являются нейтральными незаряженными частицами. Отсюда ясно, что для того, чтобы сделать газ проводящим, нужно тем или иным способом внести в него или создать в нем свободные носители заряда – заряженные частицы. При этом возможны два случая: либо эти заряженные частицы создаются действием какого-нибудь внешнего фактора или вводятся в газ извне – несамостоятельная проводимость, либо они создаются в газе действием самого электрического поля, существующего между электродами – самостоятельная проводимость.
В приведенном рисунке гальванометр в цепи показывает отсутствие тока несмотря на приложенное напряжение. Это свидетельствует об отсутствии проводимости газов в обычных условиях.
Нагреем теперь газ в промежутке 1-2 до очень высокой температуры, внеся в него зажженную горелку. Гальванометр укажет появление тока, следовательно при высокой температуре доля нейтральных молекул газа распадается на положительные и отрицательные ионы. Такое явление называется ионизацией газа.
Если направить в газовый промежуток струю воздуха от маленькой воздуходувки, и на пути струи, вне промежутка, поместить ионизующее пламя, то гальванометр покажет некоторый ток.
Это значит, что ионы не исчезают мгновенно, а перемещаются вместе с газом. Однако при увеличении расстояния между пламенем и промежутком 1-2 ток постепенно ослабевает, а затем исчезает. При этом разноименно заряженные ионы стремятся сблизиться под влиянием силы электрического притяжения и при встрече вновь воссоединяются в нейтральную молекулу. Такой процесс носит название рекомбинации ионов.
Нагревание газа до высокой температуры не является единственные способом ионизации молекул или атомов газа. Нейтральные атомы или молекулы газа могут ионизироваться также и под воздействием других факторов.
Ионная проводимость имеет рад особенностей. Так, нередко положительные и отрицательные ионы представляют собой не единичные ионизированные молекулы, а группы молекул, прилипших к отрицательному или положительному электрону. Благодаря этому, хотя заряд каждого иона равен одному-двум, редко большему числу элементарных зарядов, массы их могут значительно отличаться от масс отдельных атомов и молекул. Этом газовые ионы существенно отличаются от ионов электролитов, представляющих всегда определенные группы атомов. В силу этого различия при ионной проводимости газов не имеют место законы Фарадея, столь характерные для проводимости электролитов.
Второе, также очень важное, отличие ионной проводимости газов от ионной проводимости электролитов состоит в том, что для газов не соблюдается закон Ома: вольтамперная характеристика имеет более сложный характер. Вольтамперная характеристика проводников (в том числе и электролитов) имеет вид наклонной прямой (пропорциональность I и U), для газов она имеет разнообразную форму.
В частности, в случае несамостоятельной проводимости, при небольших значениях U график имеет вид прямой, т.е. закон Ома приближенно сохраняет силу; с ростом U кривая загибается с некоторого напряжения и переходит в горизонтальную прямую.
Это означает, что начиная с некоторого напряжения, ток сохраняет постоянное значение, несмотря на увеличение напряжения. Это постоянное, не зависящее от напряжения значение силы тока называют током насыщения.
Нетрудно понять смысл полученных результатов. Вначале с ростом напряжения увеличивается число ионов, проходящих через сечение разряда, т.е. увеличивается ток I, ибо ионы в более сильном поле движется с большей скоростью. Однако, как бы быстро не двигались ионы, число их, проходящее через это сечение за единицу времени, не может быть больше, чем общее число ионов, создаваемых в разряде в разряде в единице времени внешними ионизирующим фактором.
Опыты показывают, однако, что если после достижения тока насыщения в газе продолжать значительно повышать напряжение, то ход вольтамперной характеристики внезапно нарушается. При достаточно большом напряжении ток резко возрастает.
Скачок тока показывает, что число ионов сразу резко возросло. Причиной этого является само электрическое поле: оно сообщает некоторым ионам столь большие скорости, т.е. столь большую энергию, что при соударении таких ионов с нейтральными молекулами последние разбиваются на ионы. Общее число ионов определяется теперь не ионизирующим фактором, а действием самого поля, которое может само поддерживать необходимую ионизацию: проводимость из несамостоятельной становится самостоятельной. Описанное явление внезапного возникновения самостоятельной проводимости, имеющее характер пробоя газового промежутка, - не единственная, хотя и весьма важная, форма возникновения самостоятельной проводимости.
Искровой разряд. При достаточно большой напряженности поля (около 3 МВ/м) между электродами появляется электрическая искра, имеющая вид ярко светящегося извилистого канала, соединяющего оба электрода. Газ вблизи искры нагревается до высокой температуры и внезапно расширяется, отчего возникают звуковые волны, и мы слышим характерный треск.
Описанная форма газового разряда носит название искрового разряда или искрового пробоя газа. При наступлении искрового разряда газ внезапно утрачивает свои диэлектрические свойства и становится хорошим проводником. Напряженность поля, при которой наступает искровой пробой газа, имеет различное значение у разных газов и зависит от их состояния (давления, температуры). Чем больше расстояние между электродами, тем большее напряжение между ними необходимо для наступления искрового пробоя газа. Это напряжение называется напряжением пробоя.
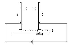
Зная, как зависит напряжение пробоя от расстояния между электродами какой-либо определенной формы, можно измерить неизвестное напряжение по максимальной длине искры. На этом основано устройство искрового вольтметра для грубой больших напряжений.
Он состоит из двух металлических шаров, закрепленных на стойках 1 и 2, 2-я стойка с шаром может приближаться или удаляться от первой при помощи винта. Шары присоединяют к источнику тока, напряжение которого требуется измерить, и сближают их до появления искры. Измеряя расстояние при помощи шкалы на подставке, можно дать грубую оценку напряжению по длине искры (пример: при диаметре шара 5 см и расстоянии 0,5 см напряжение пробоя равно 17,5 кВ, а при расстоянии 5 см – 100 кВ).
Возникновение пробоя объясняется следующим образом: в газе всегда есть некоторое число ионов и электронов, возникающих от случайных причин. Однако, число их настолько мало, что газ практически не проводит электричества. При достаточно большой напряженности поля кинетическая энергия, накопленная ионом в промежутке между двумя соударениями, может сделаться достаточной, чтобы ионизировать нейтральную молекулу при соударении. В результате образуется новый отрицательный электрон и положительно заряженный остаток – ион.
Свободный электрон 1 при соударении с нейтральной молекулой расщепляет ее на электрон 2 и свободный положительный ион. Электроны 1 и 2 при дальнейшем соударении с нейтральными молекулами снова расщепляет их на электроны 3 и 4 и свободные положительные ионы, и т.д.
Такой процесс ионизации называют ударной ионизацией, а ту работу, которую нужно затратить, чтобы произвести отрывание электрона от атома – работой ионизации. Работа ионизации зависит от строения атома и поэтому различна для разных газов.
Образовавшиеся под влиянием ударной ионизации электроны и ионы увеличивает число зарядов в газе, причем в свою очередь они приходят в движение под действием электрического поля и могут произвести ударную ионизацию новых атомов. Таким образом, процесс усиливает сам себя, и ионизация в газе быстро достигает очень большой величины. Явление аналогично снежной лавине, поэтому этот процесс был назван ионной лавиной.
Образование ионной лавины и есть процесс искрового пробоя, а то минимальное напряжение, при котором возникает ионная лавина, есть напряжение пробоя.
Таким образом, при искровом пробое причина ионизации газа заключается в разрушении атомов и молекул при соударениях с ионами (ударная ионизация).
Молния. Красивое и небезопасное явление природы – молния – представляет собой искровой разряд в атмосфере.
Уже в середине 18-го века обратили внимание на внешнее сходство молнии с электрической искрой. Высказалось предположение, что грозовые облака несут в себе большие электрические заряды и что молния есть гигантская искра, ничем, кроме размеров, не отличающаяся от искры между шарами электрической машины. На это указывал, например, русский физик и химик Михаил Васильевич Ломоносов (1711-65), наряду с другими научными вопросами занимавшийся атмосферным электричеством.
Это было доказано на опыте 1752-53 г.г. Ломоносовым и американским ученым Бенджамином Франклином (1706-90), работавшими одновременно и независимо друг от друга.
Ломоносов построил «громовую машину» - конденсатор, находившийся в его лаборатории и заряжавшийся атмосферным электричеством посредством провода, конец которого был выведен из помещения и поднят на высоком шесте. Во время грозы из конденсатора можно было рукой извлекать искры.
Франклин во время грозы пустил на бечевке змея, который был снабжен железным острием; к концу бечевки был привязан дверной ключ. Когда бечевка намокла и сделалась проводником электрического тока, Франклин смог извлечь из ключа электрические искры, зарядить лейденские банки и проделать другие опыты, производимые с электрической машиной (Следует отметить, что такие опыты чрезвычайно опасны, так как молния может ударить в змей, и при этом большие заряды пройдут через тело экспериментатора в Землю. В истории физики были такие печальные случаи. Так погиб в 1753 г. в Петербурге Г.В. Рихман, работавший вместе с Ломоносовым).
Таким образом, было показано, что грозовые облака действительно сильно заряжены электричеством.
Разные части грозового облака несут заряды различных знаков. Чаще всего нижняя часть облака (отраженная к Земле) бывает заряжена отрицательно, а верхняя – положительно. Поэтому, если два облака сближаются разноименно заряженными частями, то между ними проскакивает молния. Однако грозовой разряд может произойти и иначе. Проходя над Землей, грозовое облако создает на ее поверхности большие индуцированные заряды, и поэтому облако и поверхность Земли образуют две обкладки большого конденсатора. Разность потенциалов между облаком и Землей достигает огромных значений, измеряемых сотнями миллионов воль, и воздухе возникает сильное электрическое поле. Если напряженность этого поля делается достаточно большой, то может произойти пробой, т.е. молния, ударяющая в Землю. При этом молния иногда поражает людей и вызывает пожары.
Согласно многочисленным исследованиям, произведенным над молнией, искровой заряд характеризуется следующими примерными числами: напряжение (U) между облаком и Землей 0,1 ГВ (гигавольт);
сила тока (I) в молнии 0,1 МА (мегаампер);
продолжительность молнии (t) 1 мкс (микросекунда);
диаметр светящегося канала 10-20 см.
Гром, возникающий после молнии, имеет такое же происхождение, как и треск при проскакивании лабораторной искры. Именно, воздух внутри канала молнии сильно разогревается и расширяется, отчего и возникают звуковые волны. Эти волны, отражаясь от облаков, гор, и т.п., часто создают длительное эхо – громовые раскаты.
Коронный разряд. Возникновение ионной лавины не всегда приводит к искре, а может вызвать и разряд другого типа – коронный разряд.
Натянем на двух высоких изолирующих подставках металлическую проволоку ab, имеющую диаметр несколько десятых миллиметра, и соединим ее с отрицательным полюсом генератора, дающего напряжение несколько тысяч вольт. Второй полюс генератора отведем к Земле. Получится своеобразный конденсатор, обкладками которого являются проволока и стены комнаты, которые, конечно, сообщаются с Землей.
Характеристики
Тип файла документ
Документы такого типа открываются такими программами, как Microsoft Office Word на компьютерах Windows, Apple Pages на компьютерах Mac, Open Office - бесплатная альтернатива на различных платформах, в том числе Linux. Наиболее простым и современным решением будут Google документы, так как открываются онлайн без скачивания прямо в браузере на любой платформе. Существуют российские качественные аналоги, например от Яндекса.
Будьте внимательны на мобильных устройствах, так как там используются упрощённый функционал даже в официальном приложении от Microsoft, поэтому для просмотра скачивайте PDF-версию. А если нужно редактировать файл, то используйте оригинальный файл.
Файлы такого типа обычно разбиты на страницы, а текст может быть форматированным (жирный, курсив, выбор шрифта, таблицы и т.п.), а также в него можно добавлять изображения. Формат идеально подходит для рефератов, докладов и РПЗ курсовых проектов, которые необходимо распечатать. Кстати перед печатью также сохраняйте файл в PDF, так как принтер может начудить со шрифтами.
















