PM-ukr (729295)
Текст из файла
МІНІСТЕРСТВО ОСВІТИ УКРАЇНИ
Кафедра прикладної механіки
ПРОЕКТ ЗУБЧАСТОЇ ПЕРЕДАЧІ
ПМ.ДМ.02.07.200
Розрахунково-графічна робота
з прикладної механіки
Відмінно
Керівник В.Ю. Грицюк
Виконав
студент гр.
Чернігів 1999
ТЕХНІЧНЕ ЗАВДАННЯ
Запроектувати прямозубу циліндричну передачу при таких даних: потужність на вихідному валу PВИХ=47,5 кВт; частота обертання тихохідного валу nВИХ=(30015) об/хв; передача реверсивна; термін експлуатації нескінчений.
Кінематична схема
Рисунок 1
-
ПІДГОТОВЧА РОБОТА
-
Вхідні дані
Визначимо потужність яка буде потрібна від двигуна
З [1] згідно з таблицею 5.4 ми маємо: ц=0,96…0,98; п=0,99…0,995; м=0,94…0,97.
Приймаємо: ц=0,97; п=0,99; м=0,97.
Визначимо потрібну частоту обертання вала двигуна
З таблиці 5.5 [1] знаходимо iзаг=3…6.
Скориставшись таблицею 5.1 з [1], виберемо двигун 4А 225М4.
Отримані дані:
Передача прямозуба, реверсивна. Термін експлуатації нескінчений.
-
Вибір матеріалу і визначення допустимих напружень
Використаємо таблицю 8.8 з [2].
Для шестерні виберемо сталь 35ХМ:
термообробка поліпшення,
межа міцності М1=900 МПа,
межа текучості Т1=800 МПа,
твердість HB 241.
Для колеса виберемо сталь 45:
термообробка поліпшення,
межа міцності М2=750 МПа,
межа текучості Т2=450 МПа,
твердість HB 192…240,
виберемо твердість HB 200.
Поверхнева обробка не передбачається.
При твердості менше HB 350 можливе припрацювання.
Визначення допустимих напружень для розрахунку на контактну витривалість при дії довгочасного навантаження.
З таблиці 8.9 [2] при нормалізації, поліпшенні при HB 180…350 маємо
, а
.
При нескінченому терміні експлуатації KHL=1.
Так як передача прямозуба, то маємо
.
Визначимо допустиме напруження для розрахунку на витривалість при згині при дії довгочасного навантаження.
З таблиці 8.9 [2] при нормалізації, поліпшенні при HB 180…350 маємо
, а
.
При нескінченому терміні експлуатації KFL=1.
Так як передача реверсивна, то маємо KFC=0,7…0,8, приймемо KFC=0,7.
Визначаємо допустимі напруження для статичної перевірки міцності при дії короткочасного перевантаження.
З таблиці 8.9 [2] при нормалізації, поліпшенні при HB 180…350 маємо
, а
.
-
ПРОЕКТНИЙ РОЗРАХУНОК
-
Проектний розрахунок на контактну витривалість при дії довгочасного навантаження
-
Для сталевої прямозубої передачі Ka=495 МПа. З таблиці 8.4 [2] при HB<350 та при симетричному розміщенні коліс на валу маємо ba=0,3…0,5, виберемо ba=0,3. По рисунку 8.15 [2] крива V при
знайдемо KH=1,03. Приймемо aw=310 мм, тоді
. Приймаю bw=95 мм.
Застосуємо програму PRAM2, з такими вихідними даними:
Передаточне число u = 4.93.
Крутящий момент на веденому колесі T2 = 1513.
Коефіцієнт ширини передачі ba = 0,30.
Межа текучості матеріалу ведучого колеса T1 = 800.
Межа текучості матеріалу веденого колеса T2 = 450.
Частота обертання ведучого вала n1 = 1480.
Твердість по Бринелю матеріалa ведучого колеса HB1=241.
Твердість по Бринелю матеріалa веденого колеса HB2=200.
Вид передачі : прямозуба.
Розташування коліс на валі : симетричне.
ДН пpи pозрахунку на КВ для ведучого колеса HP1 = 502,
для веденого колеса HP2 = 427.
ДН пpи pозрахунку на ВПИ для ведучого колеса FP1 = 173,
для веденого колеса FP2 = 144.
Програма видала такі дані: aw=320, bw=100 (майже вірно).
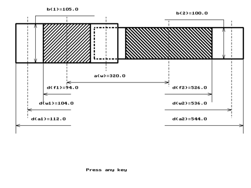
2.2 Проектний геометричний розрахунок.
Міжосьова відстань aw=320 мм .
Ширина зачеплення bw=100 мм .
Модуль зачеплення нормальний mn=4,00 мм .
Числа зубів : z1=26 ,
z2=134 .
Кут нахилу зубів = 0 град. 0 хв. 0 сек.
Початкові діаметри коліс : dw1=104,0 мм ,
dw2=536,0 мм .
Ділильні діаметри коліс : d1=104,0 мм ,
d2=536,0 мм .
Діаметри виступів коліс : da1=112,0 мм ,
da2=544,0 мм .
Діаметри западин коліс : df1=94,0 мм ,
df2=526,0 мм .
Рисунок 2
Перевіримо частоту обертання вихідного валу
,
Одержали частота обертання вихідного вала у межах допустимого.
Додаткові відомості.
Колова швидкість = 8,059 м/с ,
Коефіцієнти перекриття :
торцевого = 1,75 ,
осьового = 0,00 ,
Ступінь точності 7 .
3. ПЕРЕВІРОЧНИЙ РОЗРАХУНОК
3.1. Перевірка контактної витривалості при дії довгочасного навантаження
Розрахункове напруження H=399 МПа ,
допустиме напруження HP=427 МПа .
H=399 < HP=427 контактна витривалість забезпечується.
Перевіримо величину недовантаження
.
Недовантаження у межах рекомендованого з точки зору економічності.
3.2. Перевірка витривалості при згині при дії довгочасного навантаження
Розрахункове напруження на перехідній поверхні :
F1=112 МПа,
F2=104 МПа,
допустиме значення напруження згину
FP1=173 МПа,
FP2=144 МПа.
F1=112 МПа < FP1=173 МПа,
F2=104 МПа < FP2=144 МПа,
витривалість при згині забезпечується.
3.3. Перевірка статистичної міцності при короткочасних перевантаженнях
Діюче контактне напруження при перевантаженні
допустиме контактне напруження при перевантаженні
діючі напруження при згині при перевантаженні
допустиме напруження при згині при перевантаженні
Витривалість при перевантаженні забезпечується.
СПИСОК ПОСИЛАНЬ
1 Расчёты деталей машин: Справ. пособие / А. В. Кузьмин, И. М. Чернин, Б. С. Козинцов. – Мн.: Выш. шк., 1986. – 400 с.
2 Иванов М. Н. Детали машин: Учеб. для машиностр. спец. вузов. – М.: Высш. шк., 1984. – 336 с.
ЗМІСТ
Технічне завдання 1
1 Підготовча робота 2
1.1 Вхідні дані 2
1.2 Вибір матеріалу і визначення допустимих напружень 3
2 Проектний розрахунок 5
2.1 Проектний розрахунок на контактну витривалість при дії довгочасного навантаження 5
2.2 Проектний геометричний розрахунок 6
3 Перевірочний розрахунок 9
3.1 Перевірка контактної витривалості при дії довгочасного навантаження 9
3.2 Перевірка витривалості при згині при дії довгочасного навантаження 9
3.3 Перевірка статичної міцності при дії короткочасного перевантаження 9
Корзун Ю. О. Варіант № 7 Аркуш
ПЕ-972 1
350>Характеристики
Тип файла документ
Документы такого типа открываются такими программами, как Microsoft Office Word на компьютерах Windows, Apple Pages на компьютерах Mac, Open Office - бесплатная альтернатива на различных платформах, в том числе Linux. Наиболее простым и современным решением будут Google документы, так как открываются онлайн без скачивания прямо в браузере на любой платформе. Существуют российские качественные аналоги, например от Яндекса.
Будьте внимательны на мобильных устройствах, так как там используются упрощённый функционал даже в официальном приложении от Microsoft, поэтому для просмотра скачивайте PDF-версию. А если нужно редактировать файл, то используйте оригинальный файл.
Файлы такого типа обычно разбиты на страницы, а текст может быть форматированным (жирный, курсив, выбор шрифта, таблицы и т.п.), а также в него можно добавлять изображения. Формат идеально подходит для рефератов, докладов и РПЗ курсовых проектов, которые необходимо распечатать. Кстати перед печатью также сохраняйте файл в PDF, так как принтер может начудить со шрифтами.















