PM-rus (729294)
Текст из файла
МИНИСТЕРСТВО ОБРАЗОВАНИЯ УКРАИНЫ
Кафедра прикладной механики
ПРОЕКТ ЗУБЧАТОЙ ПЕРЕДАЧИ
ПМ.ДМ.02.07.200
Расчетно-графическая работа
из прикладной механики
Відмінно
Руководитель В.Ю. Грицюк
Выполнил
студент гр.
Чернигов 1999
ТЕХНИЧЕСКАЯ ЗАДАЧА
Запроектировать прямозубую цилиндрическую передачу при таких данных: мощность на исходном вале PВИХ=47,5 квт; частота обращения тихоходного вала nВИХ=(30015) об/мин; передача реверсивная; срок эксплуатации неконченый.
Кинематическая схема
Рисунок 1
-
ПОДГОТОВИТЕЛЬНАЯ РАБОТА
-
Входные данные
Определим мощность которая будет нужна от двигателя
С [1] в соответствии с таблицей 5.4 мы имеем: ц=0,96...0…0,98;г=0,99...0…0,995;г=0,94...0…0,97
Принимаем: ц=0,97; п=0,99; г=0,97.
Определим нужную частоту обращения вала двигателя
Из таблицы 5.5 [1] находим iзаг=3...6.…6
Воспользовавшись таблицей 5.1 с [1], выберем двигатель 4А 225Г4.
синхронная частота обращения
,
Полученные данные:
Передача прямозубая, реверсивная. Срок эксплуатации неконченый.
-
Выбор материала и определение допустимых напряжений
Используем таблицу 8.8 с [2].
Для шестерни выберем сталь 35ХМ:
термообработка улучшения,
граница прочности М1=900 МПа,
граница текучести Т1=800 МПа,
твердость HB 241.
Для колеса выберем сталь 45:
термообработка улучшения,
граница прочности М2=750 МПа,
граница текучести Т2=450 МПа,
твердость HB 192…240,
выберем твердость HB 200.
Поверхностная обработка не предполагается.
При твердости меньшее HB 350 возможное припрацювання.
Определение допустимых напряжений для расчета на контактную выносливость при действии долговременной погрузки.
Из таблицы 8.9 [2] при нормализации, улучшении при HB 180…350имеем
, а
.
При неконченому терміні эксплуатации KHL=1.
Так как передача прямозубая, то имеем
.
Определим допустимое напряжение для расчета на выносливость при сгибе при действии долговременной погрузки.
Из таблицы 8.9 [2] при нормализации, улучшении при HB 180…350имеем
, а
.
При неконченому терміні эксплуатации KFL=1.
Так как передача реверсивная, то имеем KFC=0,7...0…0,8,примем KFC=0,7.
Определяем допустимые напряжения для статической проверки прочности при действии кратковременной перегрузки.
Из таблицы 8.9 [2] при нормализации, улучшении при HB 180…350имеем
, а
.
-
ПРОЕКТНЫЙ РАСЧЕТ
-
Проектный расчет на контактную выносливость при действии долговременной погрузки
-
Для стальной прямозубой передачи Ka=495 МПа. Из таблицы 8.4 [2] при HB<350 и при симметричном размещении колес на вале имеем ba=0,3...0…0,5,выберем ba=0,3. По рисунку 8.15 [2] кривая V при
найдем KH=1,03. Примем aw=310 гг, тогда
. Принимаю bw=95 гг.
Применим программу PRAM2, с такими исходными данными:
Передаточне число u = 4.93.
Крутящий момент на ведомом колесе T2 = 1513.
Коэффициент ширины передачи ba = 0,30.
Граница текучести материала ведущего колеса T1 = 800.
Граница текучести материала ведомого колеса T2 = 450.
Частота обращения ведущего вала n1 = 1480.
Твердость по Бринелю матеріалa ведущему колесу HB1=241.
Твердость по Бринелю матеріалa ведомому колесу HB2=200.
Вид передачи : прямозубая.
Расположение колес на вале : симметричное.
ДН при расчете на КВ для ведущего колеса HP1 = 502,
для ведомого колеса HP2 = 427.
ДН при расчете на ВПИ для ведущего колеса FP1 = 173,
для ведомого колеса FP2 = 144.
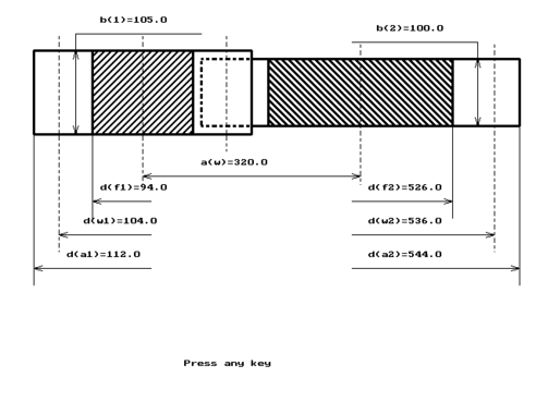
Программа выдала такие данные: aw=320, bw=100 (почти верно).
2.2 Проектный геометрический расчет.
Межосевое расстояние aw=320 гг .
Ширина зацепления bw=100 гг .
Модуль зацепления нормальный mn=4,00 гг .
Числа зубьев : z1=26 ,
z2=134 .
Угол наклона зубьев = 0 град. 0 мин. 0 сек.
Начальные диаметры колес : dw1=104,0 гг ,
dw2=536,0 гг .
Делительные диаметры колес : d1=104,0 гг ,
d2=536,0 гг .
Диаметры выступлений колес : da1=112,0 гг ,
da2=544,0 гг .
Диаметры впадин колес : df1=94,0 гг ,
df2=526,0 гг .
Рисунок 2
Проверим частоту обращения исходного вала
,
Получили частота обращения исходного вала в границах допустимого.
Дополнительные сведения.
Колова скорость = 8,059 м/с ,
Коэффициенты перекрытия :
торцового = 1,75 ,
осевого = 0,00 ,
Степень точности 7.3.
ПРОВЕРОЧНЫЙ РАСЧЕТ
3.1. Проверка контактной выносливости при действии долговременной погрузки
Расчетное напряжение H=399 МПа ,
допустимое напряжение HP=427 МПа .
H=399 < HP=427 контактная выносливость обеспечивается.
Проверим величину недогруженности
.
Недогруженность в границах рекомендованной с точки зрения экономичности.
3.2. Проверка выносливости при сгибе при действии долговременной погрузки
Расчетное напряжение на переходной поверхности :
F1=112 МПа,
F2=104 МПа,
допустимое значение напряжения сгиба
FP1=173 МПа,
FP2=144 МПа.
F1=112 МПа < FP1=173 МПа,
F2=104 МПа < FP2=144 МПа,
выносливость при сгибе обеспечивается.
3.3. Проверка статистической прочности при кратковременных перегрузках
Действующее контактное напряжение при перегрузке
допустимое контактное напряжение при перегрузке
действующие напряжения при сгибе при перегрузке
допустимое напряжение при сгибе при перегрузке
Выносливость при перегрузке обеспечивается.
СПИСОК ССЫЛОК
1 Расчёты деталей машин: Справь. пособие / А. В. Кузьмин, И. М. Чернин, Б. С. Козинцов. – Мн.: Выш. шк., 1986. – 400 с.
2 Иванов М. Н. Детали машин: Учеб. для машиностр. спец. вузов. – Г.: Высш. шк., 1984. – 336 с.
СОДЕРЖАНИЕ
Техническая задача 1
1 Подготовительная работа 2
1.1 Входные данные 2
1.2 Выбор материала и определение допустимых напряжений 3
2 Проектный расчет 5
2.1 Проектный расчет на контактную выносливость при действии долговременной погрузки 5
2.2 Проектный геометрический расчет 6
3 Проверочный расчет 9
3.1 Проверка контактной выносливости при действии долговременной погрузки 9
3.2 Проверка выносливости при сгибе при действии долговременной погрузки 9
3.3 Проверка статической прочности при действии кратковременной перегрузки 9
Корзун Ю. О. Варіант № 7 Аркуш
ПЕ-972 1
350>Характеристики
Тип файла документ
Документы такого типа открываются такими программами, как Microsoft Office Word на компьютерах Windows, Apple Pages на компьютерах Mac, Open Office - бесплатная альтернатива на различных платформах, в том числе Linux. Наиболее простым и современным решением будут Google документы, так как открываются онлайн без скачивания прямо в браузере на любой платформе. Существуют российские качественные аналоги, например от Яндекса.
Будьте внимательны на мобильных устройствах, так как там используются упрощённый функционал даже в официальном приложении от Microsoft, поэтому для просмотра скачивайте PDF-версию. А если нужно редактировать файл, то используйте оригинальный файл.
Файлы такого типа обычно разбиты на страницы, а текст может быть форматированным (жирный, курсив, выбор шрифта, таблицы и т.п.), а также в него можно добавлять изображения. Формат идеально подходит для рефератов, докладов и РПЗ курсовых проектов, которые необходимо распечатать. Кстати перед печатью также сохраняйте файл в PDF, так как принтер может начудить со шрифтами.















