complete (728978), страница 9
Текст из файла (страница 9)
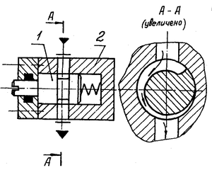
Таким образом обеспечивается, например, переключение с рабочего хода на обратный ход, или с холостого хода на рабочий и т.п. Давление срабатывания регулируется путем изменения затяжки пружины / с помощью регулировочного винта 4. Каналы Б и В предназначены для дренажа утечек и соединяются с линией слива. Серийно выпускаются реле давления, рассчитанные на 50 МПа, время срабатывания составляет 0,05 ... 0,10 с.
Рис. 34.
Конструктивная схема реле давления
3.5.3 Аппаратура управлеия расходом жидкости
Для регулирования скорости ползуна пресса в соответствии с требованиями технологии необходимо изменять количество жидкости, поступающей в гидроцилиндр. Это можно осуществить двумя способами: изменением Подачи насоса (объемное регулирование) или делением потока жидкости, нагнетаемой насосом с постоянной подачей, на два потока, один из которых направляется в полость цилиндра, а другой - на слив. Изменение соотношения расходов в двух потоках достигается при помощи дросселя, поэтому такое регулирование скорости называют дроссельным.
Дроссель, или дроссельный клапан, представляет собой местное гидравлическое сопротивление, устанавливаемое в одной из гидравлических линий. Коэффициент сопротивления дросселя а следова тельно, перепад давлений и расход жидкости, проходящей через дроссель, могут бесступенчато регулироваться в широких пределах путем изменения площади проходного сечения. Дроссельное регулирование характеризуется высокой чувствительностью
Стоимость гидропривода с дроссельным регулированием ниже, чем с объемным благодаря использованию менее дорогих насосов с постоянной подачей. Недостаток дроссельного регулирования - пониженный КПД гидропривода из-за того, что часть нагнетаемой насосом жидкости высокого давления вытесняетсяв бак и следовательно, не совершает полезной работы. По конструктивному исполнению различают Дроссели игольчатые, щелевые и осевые. На рис. 35 показана констру игольчатого дроссельного клапана. Расход жидкости регулируется путем изменения проходного сечения между конусом иглы 1 и коническим отверствием в седле 2 за счет осевого перемещения иглы..
Конструктивная схема щелевого дросселя приведена на рис. 36. На дросселе 1 выполнена канавка переменной глубины, благодаря чему при повороте дросселя относительно корпуса 2 изменяется площадь проходного сечения.
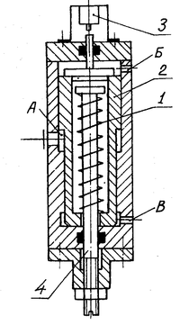
Рис. 36. Дроссель щелевого типа Рис. 37. Дроссельный клапан осевого типа
На рис. 37 показан дроссельный клапан осевого типа (стрелки показывают направление движения жидкости). Дроссель 1 под действием пружины 2 занимает положение, отвечающее наибольшей площади проходного сечения. При смещении дросселя 1 влево от указанного положения площадь проходного сечения уменьшается. Для слива утечек предусмотрены осевое и радиальное отверстия в дросселе 1. Линия слива утечек присоединяется к отверстию в крышке 3. Дроссельные клапаны такой конструкции применяют, например, для плавного уменьшения скорости ползуна гидропресса перед началом технологической операции. В этом случае перемещение дросселя 1 происходит под действием плоского кулака, закрепленного на ползуне пресса.
-
Система управления РТК для нанесения лакокрасочных материалов
4.1 Структура системы управления
Структура системы управления РТК определяется в первую очередь видом объектов управления, характером происходящих-в них процессов и взаимодействиями между ними. Такими объектами в составе РТК прежде всего являются технологическое оборудование и промышленные роботы, объединенные в ячейки, транспортные системы и автоматизированные склады. Все эти объекты находятся в определенной иерархической подчиненности и функционируют в составе единого комплекса. Поэтому и структура системы управления комплекса тоже является иерархической, включающей несколько уровней управления. На нижнем (первом) уровне этой системы находится управление РТЯ, которое организуется на основе специальных устройств управления с увязкой по времени начала и конца выполнения отдельных операций или с использованием дополнительной информации о ходе технологического процесса. В своей основе этот уровень управления реализуется в виде программного управления. Он включает в себя также каналы связи с оборудованием и верхними уровнями управления. Реализация этого уровня в настоящее время осуществляется на основе унифицированных устройств управления ПР и основного технологического оборудования. Второй уровень управления — уровень связи систем управления отдельных РТЯ в согласованно работающий участок или линию. Аппаратурно этот уровень часто реализуется с помощью мини-ЭВМ. В развитом варианте на этом уровне может также осуществляться автоматизированный синтез программ функционирования РТЯ. Эффективность применения на данном уровне стандартных мини-ЭВМ помимо выполнения приведенных выше функций обусловлена:
1) возможностью автоматизации технологической подготовки производства, сокращением времени разработки программ и возможностью их быстрой корректировки;
2) повышением надежности передачи информации в результате ликвидации промежуточных программоносителей (магнитные ленты, перфоленты) и устройств считывания с них информации (магнитные головки, фотосчитыватели);
3) автоматизацией учета показателей технологического процесса (время обработки, точность и т. д.) и контроля технологических
режимов;
4) возможностью автоматизации контроля качества продукции и определения его зависимости от изменения технологических параметров.
Следующим по сложности типом РТК является цех, и соответственно система управления РТК цехом образует третий уровень управления, который осуществляет координацию работы РТУ, автоматизированных складов и внутрицеховых транспортных систем. Этот уровень реализуется также с использованием ЭВМ.
Четвертый уровень—уровень оперативно-календарного планирования и контроля. На этом уровне осуществляется составление плана по объему и номенклатуре изделий на смену, сутки, педелю и т. д. Как самостоятельные подсистемы в состав четвертого уровня входят подсистемы диагностики и устранения неисправностей РТК.
Таким образом, в развитом виде система управления РТК состоит из четырех уровней управления. Структурная схема такой системы приведена на схеме 2..
Схема 2 . Структурная схема системы управления:
1 —банк данных; 2 — подсистема управления РТК; 3 — подсистема оперативно-календарного планирования; 4— подсистема контроля качества; 5 — подсистема автоматического контроля и устранения неисправностей; 6,7 — диспетчер управления оборудовалием (ДУО); 8 — диспетчер управления транспортом; 9 :— подсистема планирования по объему и номенклатуре; 10 — устройство управления транспорта
11 —диспетчер управления оборудованием контроля качества; 12, 13 — подсистема выбора программ (ПВП); 14 — подсистема расчета маршрута; 15 — подсистема учета и анализа простоев оборудования; 16 — подсистема учета брака, и его статистического анализа; 17, 18, 19 —устройства управления роботов и технологического оборудования (УРТО).
-
Алгоритм системы управления
Список используемой литературы
-
В.В. Кислый. Справочное пособие по деревообработке.—Екатеринбург, издательство «Бриз», 1995 г.
-
Г. Заславская. Обраюотка дерева.Традиционная техника – Москва, «Издательство АСТ»-«Гелиос», 2001 г.
-
А.А. Барташевич; В.П. Антонов. Технология производства мебели и резьба по дереву. – Минск, «Вышэйшая школа», 2001г.
-
Т.В. Грацианская. Нормативы расхода материалов в производстве мебели и паркета -- Москва, издательство «Бриз», 2000г
-
О.Д.Бобиков. Изготовление столярно-мебельных изделий. – Москва, 2000г
-
В.Н. Волынский. Каталог деревообрабатывающего оборудования.—Москва, «АСУ-Импульс», 2001г.
-
В.Ф. Крисанов, Б.М. Рыбин, В.Г. Санаев. Оборудование для отделки из древесины. – Москва, «Лесная промышленность», 1985г
-
Типовые гибкие технологические процессы производства оеон и дверей. Том 1.—Балабаново : НПО «Научстандартдом», 1991г.
-
Типовые гибкие технологические процессы производства оеон и дверей. Том 2.—Балабаново : НПО «Научстандартдом», 1991г.
-
В.П. Бухтияров. Технология производства мебели. – Москва, «Лесная промышленность», 1987.
-
Мебельное обозрение – ноябрь 2001г.—Москва
-
Н.И. Прозоровский Технология обработки столярных изделий. – Москва., «Высшая школа», 1986г.
-
Т.Л. Лившиц, Б.И. Тиняковский . Лакокрасочые материалы / Справочное пособие. – Москва, «Химия», 1982г.
-
Н.А. Гончаров, Башинский В.Ю., Буглай Б.М. Технология изделий из древесины. – Москва, «Лесная промышленность», 1990г.
-
Васильченко В.А. Гидравлическое оборудование мобильных машин. – Москва, «Машиностроение», 1983г.
-
Шурков В.Н. Основы автоматизации производства и промышленные роботы. – Москва, «Машиностроение», 1986г.
Заключение
В данной работе было рассмотрено построение роботизированных технических комплексов для нанесения лакокрасочных покрытий на мебельном производстве. Данная тема всегда будет актуальна, т.к. создание таких мехатронных устройств ведёт к неминуемому повышению качества производимых предприятием изделий. И ещё не моло важно то, что технологический процесс лакопокраски является вредным для человека, а поэтому следует стремиться к проектированию таких комплексов, чтобы участие человека в их работе сводилось к миниммуму.
Автор изучил компоновку робототехнических комплексов, их состав, а также алгоритмы работы. В массовом производстве производительность РТК играет роль двигателя всего предприятия.
В силу своих особенностей робототехнические комплексы представляют собой целый раздел в технической науке, ведь они включают в себя не только механику, но и обширные материалы из других отраслей.
68















