complete (728978), страница 8
Текст из файла (страница 8)
Поршневые гидроцилиндры рассмотренной конструкции, предназначенные для работы при давлении масла р = 32 МПа в диапазоне усилий 63 ... 2500 кН, серийно выпускаются специализированными заводами как комплектующие изделия.
Многообразие конструкций гидроцилиндров не исчерпывается, разумеется, рассмотренными примерами. Так, например, гидроцилиндры, работающие при очень высоких давлениях - свыше 100 МПа, выполняют в виде предварительно напряженной конструкции с двухслойной цилиндрической стенкой. Наружный слой соединяют с внутренним по посадке с натягом, благодаря чему наиболее напряженная зона цилиндра при сборке нагружается сжимающими напряжениями. Они суммируются с растягивающими напряжениями при нагружении цилиндра внутренним давлением. Применение предварительно напряжкнной конструкции позволяет существенно уменьшить наружний диаметр цилиндра. Имеются примеры конструкций, в которых наружняя станина выполнена путем намотки высокопрочной проволки, причем в процессе намотки создается необходимое натяжение проволки.
3.5 Аппаратура управления
Аппаратура управления гидропривода может быть разделена на распределительную, регулирующую и защитную.
3.5.1. Распределительная аппаратура
Эта аппаратура обеспечивает распределение потоков рабочей жидкости в соответствии с циклом работы машины. К ней относятся клапанные и золотниковые распределители, а также клапаны, пропускающие жидкость только в одном направлении - так называемые обратные клапаны и некоторые специальные устройства на их базе (поддерживающие клапаны и гидрозамки).
3.5.1.1 Клапанные распределители
Клапанные распределители делятся по назначению на впускные или напорные и на выпускные или сливные. Впускные обеспечивают проход жидкости от источника давления (насоса) к потребителю (гидроцилиндру), а выпускные - из гидроцилиндра на слив. Для управления одной полостью гидроцилиндра устанавливают два клапанных распределителя - впускной и выпускной. Клапанные распределители используют в гидроприводах, работающих с водой. В гидроприводах, работающих с минеральными маслами, как правило, используются золотниковые распределители.
С
хема клапанного распределителя показана на рис. 28. Для прохода жидкости в направлении, указанном стрелками, клапан 1 приподнимают с помощью управляющего штока 2. При опущенном клапане 1 вход и выход распределителя - полости А и Б - разъединены, так как клапан 1 прижат к седлу 3 силой Рв давления жидкости в полости В, постоянно сообщенной с полостью А.
Пружина нужна главным образом для ускорения опускания клапана 1 после отвода штока 2 вниз. Для удаления воздуха из надклапанной полости предусмотрена воздухос-пускная пробка 5.
Рис. 28. Схема клапанного распределителя
Размеры клапана и высоту его подъема при открытии назначают такими, чтобы скорость жидкости в полости Б и в зазоре м«вдукпа-паном и седлом не превышала допустимой величины. Для воды. 20 30 м/с доя впускных и 10 ... 15 м/с для выпускных клапанов. Допустимая скорость для выпускных клапанов Уменьшена с тем чтобы снизить перепад давлений на клапане при обратном ходе поршня (плунжера).
3.5.1.2 Золотниковые распределители
Золотниковые распределители предназначены для работы в гидроприводах, где в качестве рабочей жидкости используется минеральное или синтетическое масло. Принцип действия распределителя поясняется схемой, приведенной на рис. 46. В корпусе 1 запрессована втулка 2, в которой с возможностью относительного осевого перемещения установлен золотник 3. Каналы (ходы) 1 - IV предназначены для подвода и отвода жидкости. Канал 1 соединяют с источником жидкости высокого давления, канал II - с линией слива, каналы III и IV - с полостями поршневого гидроцилиндра, управляемого данным распределителем.
Таким образом, для управления двухполостным гидроцилиндром достаточно иметь один золотниковый распределитель вместо четырех клапанных. Золотник 3 распределителя может занимать три фиксированных положения - два крайних и одно среднее (нейтральное). На рис. 29 золотник 3 показан в нейтральном положении. В крайнем левом положении золотника канал III будет соединен со сливом, а канал IV с насосом. В крайнем правом положении канал III
Рис. 29. Золотниковый распределитель
будет соединен с насосом, а канал IV со сливом. Перемещение золотника из нейтрального положения в крайние осуществляется при помощи двух электромагнитов толкающего типа, а при больших размерах золотника для этого используют гидравлическое или электрогидравлическое управление. В первом случае в торцовые камеры А к Б подается жидкость под давлением из линии управления через отдельный вспомогательный распределитель. Во втором случае вспомогательный трехпозиционный распределитель с электромагнитным управлением или два двухпозиционных вспомогательных распределителя устанавливаются на корпусе 1 и являются неотъемлемой частью основного распределителя.
Для возврата золотника 3 в нейтральное положение предусмотрены пружины и дистанционные втулки 4.
Герметизация сопряжения золотник-втулка обеспечивается благодаря малой величине зазора.
Золотниковые распределители характеризуются следующими признаками:
- числом позиций;
- числом ходов (каналов);
- допустимым расходом жидкости (пропускная способность);
- допускаемым давлением жидкости;
- схемой распределения потоков жидкости;
- способом управления;
- способом монтажа.
По числу позиций различают трехпозиционные и двухпозици-онные распределители. По числу ходов различаются двух-, трех- и четырехходовые, или, что то же, двух-, трех- и четырехлинейные.
Специализированные заводы гидроаппаратуры выпускают золотниковые распределители с допустимым расходом жидкости от 1,33 • 10"4 м3/с до 0,55 м3/с (от 8 до 3000 л/мин), рассчитанные на давление 20 МПа и 32 МПа, в специальном исполнении - до 50 МПа.
Схемы распределения потоков жидкости серийными золотниковыми распределителями показаны на рис. 30. Трехпозиционные распределители (1) - (5) отличаются друг от друга состояниями в нейтральном положении золотника. В распределителе первого исполнения напорная линия насоса соединена со сливом, полости гидроцилиндров заперты. Во втором исполнении все линии соединены между собой. В третьем исполнении все линии перекрыты (конструктивная схема распределителя этого исполнения приведена на рис. 29).
В четвертом исполнении оба гидроцилиндра соединены с насосом, а в пятом - со сливом. Во всех пяти исполнениях при крайнем левом положении золотника цилиндр Ц1 соединяется с напорной линией насоса, а цилиндр Ц2 - со сливом, в крайнем правом Ц1 - со сливом, а Ц2 - с насосом.
Рис.30 . Четырехлинейные распределители:
(/) - (5) - трехпозиционные, (б) и (7) - двухпозиционные; Н- подвод жидкости от насоса, С - слив,
Ц1,Ц2 - линии к гидроцилиндрам
Потеря давления при движении жидкости через золотниковый распределитель обычно не превышает 0,3 ... 0,4 МПа.
По способу управления, как было отмечено выше, различают распределители с электромагнитным, гидравлическим и электрогидравлическим управлением. Значительно реже применяются распределители с пневматическим управлением.
По способу монтажа, т.е. соединения распределителя с другими элементами гидропривода, различаются распределители со стыковым, фланцевым и резьбовым подсоединением. В первом случае все каналы (I, II, III, IV, а также отверстие для дренажа утечек) выведены на одну из плоскостей корпуса, которая при помощи винтов или шпилек стыкуется с плитой из толстолистового проката. В плите просверлены отверстия, необходимые для соединения аппаратов управления гидроприводом в соответствии с гидросхемой. Такой способ монтажа в настоящее время находит широкое применение.
При втором способе монтажа к каналам распределителя присоединяются трубы с помощью фланцев, а при третьем способе в каналах (ходах) нарезается резьба, как правило коническая, в которую ввинчиваются штуцеры, соединяемые с трубами.
Золотники изготовляют из углеродистых сталей У8А, У10А, из конструкционной стали 20Х с последующей цементацией, а также из сталей аустенитного класса, например, стали ШХ15. Золотник должен быть закален до твердости 56 ... 62HRC. Поверхности рабочих поясков золотника шлифуются и полируются, после чего золотник промывается или подвергается ультразвуковой обработке с целью удаления продуктов износа абразивного инструмента.
Втулка золотникового распределителя выполняется либо из тех же сталей, что и золотник, либо из твердых бронз. В ряде конструкций распределителей втулка отсутствует, и золотник размещается непосредственно в отверстии корпуса, который изготовляют из высококачественного чугуна путем литья в кокиль.
3.5.1.3 Обратные клапаны, поддерживающие клапаны, гидрозамки
Обратные клапаны предназначены для пропускания жидкости в одном направлении. Они самоуправляемы, т.е. их состояние - открытое или закрытое - зависит от направления потока жидкости. Схема обратного конического клапана показана на рис. 31. При небольших расходах жидкости применяются также шариковые обратные клапаны. Пружина предназначена для ускорения посадки клапана на седло при "запрещенном" направлении потока. Расчет размеров обратного клапана выполняется так же, как для клапанного распределителя.
Рис. 31. Схема обратного клапана
Поддерживающие клапаны (рис. 32) обеспечивают свободный проход жидкости в одном направлении, а в противоположном направлении жидкость проходит через клапан только при определенном давлении. При движении жидкости в направлении 1 она прохо
Рис. 32. Поддерживающий клапан
дит из полости А в полость Б через обратный клапан с шариком 7, конический клапан 2 в это время прижат к седлу 3 пружиной 4. При движении жидкости в направлении II она проходит из полости Б в полость А, отжимая конический клапан 2, под давлением, определяемым силой затяжки пружины 4. Серийно выпускаются поддерживающие клапаны, рассчитанные на давление до 20 МПа и расход до 2,67- 10'3м3/с(160л/мин).
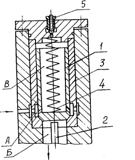
Гидрозамок (рис. 33) представляет комбинацию обратного клапана и клапанного распределителя с гидравлическим управлением. Когда давление рл в линии А превышает давление рБ в линии Б, жидкость проходит из линии А в линию Б, отжимая обратный клапан1., линии А и Б разъединены, и жидкость в линии Б и соединенной с ней полости гидроцилиндра заперта. Для соединения А и Б в этом случае необходимо отжать клапан 2. Для этого под поршень 3 подается жидкость под достаточным давлением через линию управления В.
Серийно выпускаемые гидрозамки рассчитаны на давление до 32 МПа и расход жидкости до 6,67 • 10"3 м3/с (400 л/мин).
Рис. 33. Схема гидрозамка
3.5.2 Аппаратура управления давлением жидкости
Для изменения состояния гидропривода при достижении определенного давления жидкости применяют реле давления 1 (рис. 34). К камере А подсоединяется ответвление управляемой гидролинии. Пока сила давления жидкости меньше
силы затяжки пружины 1 золотник 2 неподвижен и находится в положении, показанном на рис. 54. При достижении установленного давления золотник 2 перемещается вверх и нажимает на шток микропереключателя 3. Срабатывание микропереключателя приводит к изменению состояния электрической системы управления гидроприводом.















