complete (728978), страница 6
Текст из файла (страница 6)
ОБЪЕМНЫЕ НАСОСЫ
- ПОРШНЕВЫЕ
-- КРИВОШИПНЫЕ ПЛУНЖЕРНЫЕ
-- ЭКСЦЕНТРИКОВЫЕ
-- АКСИАЛЬНЫЕ
-РОТОРНЫЕ
--РОТОРНО-ПОСТУПАТЕЛЬНЫЕ
---РАДИАЛЬНЫЕ
---АКСИАЛЬНЫЕ
--РОТОРНО-ВРАЩАТЕЛЬНЫЕ
---ШИБЕРНЫЕ
---ШЕСТЕРЁННЫЕ
---ВИНТОВЫЕ
В поршневых насосах рабочая камера-полость цилиндра неподвижна, а поршень (плунжер) совершает возвратно-поступательное движение.
Роторные насосы делятся на роторно-поступательные и ротор-но-вращательные. В цилиндрической рабочей камере роторно-поступательного насоса расположен поршень, совершающий при вращении вала насоса два движения - переносное (вращение вместе с камерой) и относительное (возвратно-поступательное движение внутри камеры). В роторно-вращательных насосах рабочая камера ограничена поверхностями статора и ротора. Периодическое изменение объема камеры при вращении вала насоса обусловлено геометрией поверхностей статора и ротора.
По способу распределения жидкости, или, что то же, по способу соединения рабочей камеры с линиями всасывания и нагнетания, различают клапанные и бесклапанные насосы. В последних распределение жидкости реализуется благодаря тому, что при вращении ротора рабочая камера перемещается из зоны всасывания в зону нагнетания.
Роторные насосы обратимы - они могут работать как в режиме гидронасоса, так и в режиме гидродвигателя вращательного движения (гидромотора), преобразующего энергию жидкости в механическую работу, совершаемую вращающимся валом . В мебельном производстве именно роторные насосы в приводах механизмов применяются в подавляющем большинстве случаев и поэтому в данной работе рассматриваются именно этот класс агрегатов.
3.3.2 Роторно-поступательные насосы.
3.3.2.1 Аксиально-поршневые насосы
Схема роторно-поступательного аксиально-поршневого регулируемого бесклапанного насоса приведена на рис. 15. В корпусе насоса 1 установлен наклонный диск 2. Угол наклона диска 2 к валу 3 может изменяться в определенных пределах, однако при работе насоса диск остается неподвижным. На валу 3 жестко закреплен ротор 4, в отверстиях которого расположены поршни 5. Под действием пружины 6 ползушки 7, шарнирно соединенные с поршнями 5, находятся в постоянном контакте с рабочей плоскостью диска 2. При вращении ротора 4 поршни 5 совершают переносное движение, вращаясь вокруг оси вала 3 вместе с ротором, а также движутся возвратно-поступательно относительно ротора.
В корпусе 1 неподвижно закреплен распределительный диск 8 с двумя дуговыми пазами (рис. 16), один из которых соединен с линией всасывания, а другой - с линией нагнетания. При вращении вала 3 по часовой стрелке (если смотреть со стороны, где вал выступает из корпуса) с линией всасывания соединен паз А, а с линией нагнетания - паз Б. При движении поршня по дуге a-в-с поршневой объем увеличивается, происходит всасывание жидкости. При движении поршня по дуге c-d-a жидкость вытесняется в линию нагнетания
Рис. 15. Схема аксиально-поршневого регулируемого насоса
.
Рис. 16. Распределительный диск (вид
регулируемого насоса
со стороны ротора)
Подачу можно бесступенчато регулировать путем изменения угла у вручную или с помощью гидравлического механизма, питаемого жидкостью от вспомогательного шестеренного насоса (на рис. 10 не показано). Серийные насосы этого типа рассчитаны на работу при давлении 20 МПа. Их подача находится в пределах от 4,2-10 до 6,7-10" м/с, объемный КПД г\0 = 0,93 ... 0,95. Частота вращения вала 1500 мин"1.
3.3.2.2 Радиально-поршневые насосы
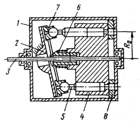
Схема радиально-поршневого насоса показана на рис. 12. В корпусе насоса 1 неподвижно закреплена ось 2, на которой установлен вращающийся вокруг нее ротор 3. В радиальных отверстиях, выполненных в роторе, расположены поршни 4. Статор 5 установлен в корпусе 1 таким образом, что центр его внутренней (рабочей) поверхности не совпадает с центром оси 2. В оси 2 выполнены четыре осевых отверстия, два из которых соединены с линией всасывания, а два других - с линией нагнетания. В случае вращения ротора по часовой стрелке, как показано на рис. 17, с линией всасывания соединены отверстия, расположенные ниже горизонтального диаметра, а с линией нагнетания - расположенные выше него.
Эксцентриситет статора е может бесступенчато изменяться от максимальной величины до нуля с помощью регулировочного устройства. В реверсивных насосах центр статора может располагаться по разные стороны от центра вращения ротора, благодаря чему может изменяться направление потока жидкости (линии всасывания и нагнетания меняются ролями).
На рис. 18 показана конструкция насоса в продольном разрезе.
Рис. 17. Схема радиально-поршневого насоса
Рис. 18. Продольный разрез радияльно-поршневого насоса
Как видно из рис. 13, статор состоит из двух частей - наружной 5а и внутренней - 56, которые связаны через подшипники качения 7 и 8. Во внутреннюю часть статора запрессовано кольцо 9, с коническими поверхностями которого контактируют сферические поверхности поршней. Приводной вал 10 связан с ротором 3 жесткой соединительной муфтой. На валу 10 установлена ведущая шестерня 11 встроенного шестеренного насоса, который используется в системе управления радиально-поршневым насосом. Выпускаются ради-ально-поршневые насосы и без встроенного шестеренного насоса.
При вращении ротора 3 поршни 4 совершают два движения: переносное - вместе с ротором и относительное - возвратно-поступательное. Когда подпоршневая полость сообщена с линией всасывания, поршень перемещается от центра ротора под действием центробежной силы до упора в кольцо 9 статора. Всасывание происходит пока поршень находится ниже горизонтального диаметра ( рис. 17). При перемещении поршня в зоне, расположенной выше горизонтального диаметра, подпоршневой объем уменьшается, так как в относительном движении поршень приближается к центру ротора, и жидкость из-под поршня вытесняется в линию нагнетания.
Механизм радиально-поршневого насоса кинематически эквивалентен кривошипно-ползунному механизму с длиной кривошипа равной е и длиной шатуна, равной расстоянию от центра ротора до точки контакта поршня со статором. Ход поршня 4 относительно ротора 3 составляет 2е.
Помимо упомянутых выше переносного и относительного движений, поршень 4 совершает вращательное движение вокруг своей оси под действием момента силы трения при контакте сферической головки поршня с конической поверхностью кольца 9. Вращение поршня способствует более равномерному его износу. Под действием указанной силы трения внутренняя часть статора 56 (рис. 18) вращается вокруг центра статора, что не влияет на движение поршня, но существенно снижает износ в контакте поршня со статором.
Регулирование подачи реализуется путем изменения эксцентриситета е при перемещении статора относительно ротора.
Радиально-поршневые насосы рассчитаны на давление р = 20 МПа, их подача составляет от 1,67-10"3 до 6,67-10"3 м3/с (100 ... 400 дм3/мин) при частоте вращения п = 1000 мин"1. Объемный КПД г)0 = 0,85 ... 0,87, полный КПД ti = 0,77 ... 0,82. Высота всасывания Д,с = 0,5 м. Подача встроенного шестеренного насоса составляет 0,20 ... 0,35 от подачи основного насоса; давление, развиваемое шестеренным насосом, достигает 1,6 МПа.
По способу регулирования подачи различаются насосы: с ручным управлением, с электрогидравлическим управлением, со следящей системой управления и с автоматическим управлением в функции давления.
В насосе с ручным управлением перемещение статора выполняется при помощи пары винт-гайка (рис. 17).
Схема насоса с электрогидравлическим управлением показана на рис. 19. Эта система обеспечивает работу насоса в трех режимах: холостой ход, высокая подача, низкая подача. Применительно к гидроприводу пресса в первом режиме насос работает в период паузы в работе пресса, когда ползун пресса неподвижен. В это время удаляется из рабочей зоны пресса отштампованное изделие и туда помещается очередная заготовка. Второй режим насоса - используют во время хода приближения ползуна с инструментом к заготовке, а также при обратном ходе ползуна. Эти движения ползуна должны происходить с большой скоростью, поэтому требуется высокая подача насоса. Третий режим используют во время рабочего хода ползуна.
Система содержит встроенный вспомогательный шестеренный насос 1, напорный клапан 2, трехпозиционный золотник 3 и двухпо-зиционный золотник 4, к которому от основного насоса подведены отвод 5 от линии всасывания и отвод 6 от линии нагнетания. Полость А постоянно соединена с линией нагнетания шестеренного насоса. Давление в линии нагнетания ограничивается напорным клапаном 2. Поступлением жидкости в полости Б и В управляет золотник 3.
Рис. 19. Схема радиально-поршневого насоса с электрогидравлическим управлением
В режиме холостого хода электромагниты Э1 и Э2 обесточены и золотник 3 находится в нейтральным положении, полость Б находится под давлением, а полость В соединена со сливной линией (т.е. с баком). Под действием давления жидкости в полости Б и усилия пружины поршень 7 занимает крайнее правое положение. Статор при этом оказывается в нейтральном положении либо близком к нему (е = 0). Золотник 4 под давлением жидкости в правой торцевой полости перемещен в крайнее левое положение, благодаря чему линия нагнетания основного насоса соединена с линией всасывания. Поэтому подача жидкости в линию нагнетания равна нулю даже в том случае, когда центры статора и ротора не совпадают.
Для перехода из первого режима во второй включают электромагнит Э1. Золотник 3 занимает крайнее левое положение и соединяет полости Б и В, а также обе торцевые полости золотника 4 со сливом. Под действием пружины золотник 4 занимает крайнее правое положение, и линии 5 и 6 разъединяются. Статор под действием давления жидкости в полости А перемещается влево на величину /г'. Эксцентриситет е в этом положении будет наибольшим.
Для перехода из второго режима в третий включается электромагнит Э2. Команда на включение Э2 подается, например, путевым электрическим переключателем, установленным на прессе и срабатывающим от кулачка, закрепленного на ползуне. Золотник 3 устанавливается в крайнее правое положение, полости Б и В соединяются с нагнетательной линией насоса 1. Статор основного насоса под давлением жидкости в полости В перемещается на величину h" в крайнее правое положение до упора в регулировочный винт 8, установленный в крышке полости А*. Величина эксцентриситета во втором режиме регулируется с помощью гайки 9, а в третьем режиме -винта 8.
На рис. 20 показана схема радиально-поршневого насоса со следящей системой управления. Система содержит встроенный шестеренный насос 7, предохранительный клапан 2 и золотник управления 4, корпус 3 которого жестко связан со статором основного насоса. Полость А постоянно соединена с нагнетательной линией шестеренного насоса.
В положении, показанном на рис. 20, полость Б заперта, статор зафиксирован в корпусе насоса с определенным эксцентриситетом
Рис. 20. Схема радиально-поршневого насоса со следящей системой управления
Так как при переходе из второго режима в третий поток жидкости реверсируется, в системе управления прессом необходимо предусмотреть во относительно ротора. Для уменьшения подачи насоса золотник 4 вручную перемещают вправо на расстояние, равное необходимому изменению эксцентриситета е. Полость Б соединяется с нагнетательной линией шестеренного насоса 1, и так как площадь сечения полости Б больше, чем полости А, статор перемещается вправо. Корпус золотника 3 перемещается вместе со статором, а золотник 4 остается неподвижным, так как положение рукоятки 5 фиксирует его относительно корпуса насоса.
Перемещение статора будет продолжаться до тех пор, пока не восстановится первоначальное относительное положение корпуса 3 и золотника 4. Таким образом перемещение статора будет равно перемещению золотника - статор "следит" за положением золотника относительно корпуса, отсюда название "следящая система".















