145886 (728902), страница 3
Текст из файла (страница 3)
В конструкции котла воплощены прогрессивные идеи, в том числе: крупноблочное изготовление поверхностей нагрева (коэффициент блочности 78 %, число блоков - 3150 шт.), возможность выполнения. Механизированного ремонта, автоматизация процессов регулирования в широком диапазоне нагрузок др. Головные агрегаты показали высокую надежность и экономичность в работе, что позволило котлу П-57 присвоить Знак качества. В связи с повышением поставочной зольности экибастузского угля ЗиО провел дальнейшую модернизацию агрегата с изменением наименования П-57-3. (л3; стр…..)
6.4 Выбор системы пылеприготовления для котла П-57
Выбираем индивидуальную систему пылеприготовления с прямым вдуванием – с непосредственной подачей пыли в топку без промежуточного бункера пыли.
Для экибастузского каменного угля, характерезующегося большим выходом летучих (30%), целесообразно применение молотковых мельниц.
Выбираем восемь молотковых мельниц типа ММТ –2000/2590/750, производительностью 44 т/ч, одна их которых резервная.
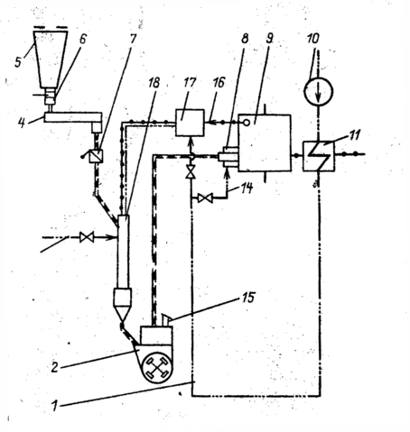
рис. 6.2 индивидуальная система пылеприготовления с прямым вдуванием с молотковыми мельницами с газовой сушкой.
1 – короб горячего воздуха, 2 – мельница, 3 – присадка холдного воздуха, 4 – питатель сырого топлива, 5 – бункер сырого топлива;
6 – шибера; 7 – клапан мигалка; 8 – горелка; 9 – котел; 10 – дутьевой вентилятор; 11 – воздухоподогреватель; 14 короб вторичного воздуха; 15 – взрывные клапана; 16 – газоход; 17 – смеситель; 18 – устройство нисходящей сушки.
7. Выбор схемы топливного хозяйства ГРЭС на основном топливе.
Основным топливом проектируемой ГРЭС является экибастузский
каменный уголь, марки СС.
СХЕМА ТОПЛИВНОГО ХОЗЯЙСТВА ЭЛЕКТРОСТАНЦИИ
Топливно-транспортное хозяйство современных тепловых электростанций представляет собой комплекс сооружений, машин и механизмов, предназначенных для:
1) приема поступающих и отправки разгруженных железнодорожных маршрутов;
2) размораживания топлива в полувагонах перед разгрузкой, если поступает смерзшееся топливо;
3) разгрузки поступивших железнодорожных маршрутов;
4) внутристанционного транспорта топлива к бункерам парогенераторов или на склад;
5) хранения и выдачи топлива со склада;
6) дробления топлива до установленного нормами размера кусков;
7) распределения топлива по бункерам парогенераторов.
Кроме того, в тракте топливоподачи устанавливают механизмы для улавливания и удаления металлических и древесных предметов из потока топлива с целью предохранения технологического оборудования от поломок, пробоотборные и проборазделочные установки, а также контрольно-измерительные приборы, измеряющие количество поступающего топлива.
Подъездные пути.
Уголь на ГРЭС поставляется железнодорожным транспортом.
Подъездные пути эксплуатируются по договору с предприятием Министерства путей сообщения, (ЕТП) заключаемому на основании «Единого технологического процесса работы подъездных путей и станций примыкания».Норма простоя вагонов с углем под разгрузкой определяется в результате расчетов в ЕТП затрат времени на следующие операции: подачу маршрута с углем со станции примыкания на ГРЭС; взвешивание угля, разбивку маршрута на ставки и маневровые работы на ГРЭС; разгрузку вагонов с углем ; сбор порожняка иего возврат на станцию примыкания.
Топливо доставляется в четырехосных полувагонах грузоподъемностью 63 тонны.
7. 1 Размораживающие устройства.
Восстановление сыпучести смерзшегося в полувагонах топлива осуществляют разогревом его в размораживающих устройствах. Для проектируемой ГРЭС наиболее эффективным является пленочное оттаивание топлива от стенок полувагонов в размораживающем устройстве, с последующей разгрузкой их вагоноопрокидывателем.
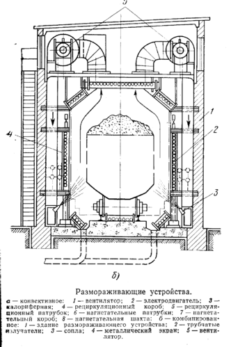
рис 7.2
На рисунке показано размораживающее устройство комбинированного типа. Стенки полувагонов нагреваются от трубчатых излучателей обогреваемых паром и имеющих температуру поверхности 150 - 200С. Кроме трубчатых излучателей в размораживающем устройстве установлены вентиляторы для циркуляции горячего воздуха.
Расчет вместимости размораживающего устройства.
В
местимость определяется по формуле : n= B(р+м)
где р=1,5 ч и м=0,5ч; В – Часовой q
расход топлива эл.станцией т/ч; q – усредненная грузоподъемность полувагона т. Размораживающее устройство – двухпутное, комбинированное.
n
= 877(1,5+0,5) =28 вагонов.
63
Разгрузочные устройства с вагоноопокидывателям.
Этот тип разгрузочного устройства применяют при поступлении на электростанции низкокачественного топлива с повышенной влажностью, низкой сыпучестью, склонного к смерзанию при низкой температуре.
Применять вагоноопрокидыватели экономически целесообразно на тепловых электростанциях с расходом топлива свыше 150 т/ч. Разгрузочные устройства с вагопоопрокидывателями позволяют снизить количество эксплуатационного персонала, занятого на разгрузке, уменьшить длительность простоя железнодорожных полувагонов на территории ТЭС, разгружать большое количество топлива в минимально короткие сроки.
На электростанциях с расходом топлива, от 400 до 1250 т/ч, как правило, устанавливают два вагоноопрокидывателя.
На проектируемой ГРЭС установим два роторных вагоноопрокидывателя, которые разгружают полувагоны поворотом их вокруг продольной оси на 175. (рис )
Роторные вагоноопрокидыватели требуют значительного заглубления подбункерного помещения.
рис 7.3
МЕХАНИЗМЫ ВНУТРИСТАНЦИОННОГО
ТРАНСПОРТА
Транспорт твердого топлива от разгрузочных устройств до бункеров сырого топлива в главном корпусе, на склад и со склада осуществляется ленточными конвейерами. Ленточные конвейеры могут быть следующих типов: стационарные и передвижные с движением ленты в одном направлении и с движением ленты попеременно в одном из двух направлений (реверсивные).
Ленточные конвейеры имеют высокую производительность, являются надежным и экономичным механизмом непрерывного действия, ремонт и обслуживание которого сравнительно просты. Конвейеры применяют горизонтальные, наклонные, горизонтально-наклонные. Угол наклона конвейеров с гладкой лентой принимается не более 18 для всех видов твердого топлива. В местах загрузки конвейера крупнокусковым топливом угол наклона конвейера ограничивается 12 – 15 для предотвращения скатывания крупных кусков.
Через пересыпные короба топливо загружается на верхнюю рабочую ветвь ленты и транспортируется к месту разгрузки, которая происходит через концевые барабаны или осуществляется специальными разгрузочными устройствами в необходимых местах.
Основным элементом ленточного конвейера является бесконечная лента, огибающая два или несколько барабанов и поддерживаемая роликами. Скорость движения ленты конвейера принимается от 2,0 до 2,5 м/с.
рис 7.4
Для обеспечения надежности на электростанциях всегда устанавливают два параллельных конвейера. Конвейеры устанавливаются в закрытых отапливаемых помещениях, включая галереи и эстакады. Высота галерей (эстакад) в свету не ниже 2,2 м, ширина исходя из обеспечения прохода между конвейерами не менее 1000 мм и боковых проходов 700 мм. Через каждые 75 - 100 м предусматриваются переходные мостики через конвейеры.
Дробильные устройства.
До поступления в мельницы парогенераторов топливо измельчается в молотковых дробилках до размеров кусков не более 15 мм, а при высокой влажности до 25 мм. Для станции с потреблением топлива в 877 т/ч, выберем две молотковых дробилки . М2030, производительностью 1000 – 1250 т/ч.
по одной на каждую нитку
Топливные склады.
Топливные склады выполняются открытыми. Склад, организуемый для планового и долговременного хранения топлива в целях обеспечения электростанции топливом при длительных задержках в его доставке, называется резервным складом или резервной частью склада. Склад, организуемый для систематического выравнивания расхождения в количестве прибывающего на электростанцию топлива и подаваемого в данный момент в бункера котельной, называется расходным.
Резервные и расходные склады угля располагаются на территории электростанции поблизости от главного корпуса и могут совмещаться на одной площадке. В этом случае из-за нечеткой границы между ними значительная часть резервного склада переходит в разряд расходного. На таких совмещенных складах хранить топливо необходимо в соответствии с нормами, установленными для резервных складов.
Вместимость складов угля и сланцев принимается, как правило, равной 30-суточному расходу топлива. Если электростанция проектируется с учетом расширения, то должна предусматриваться и возможность расширения склада.
Для определения емкости топливного склада рассчитаем месячный расход топлива при максимальной нагрузке.
Часовой расход топлива на проектируемой ГРЭС - 877 т, суточный – 21048 т, месячный - 631440 т.
Для проектируемой ГРЭС выбираем кольцевой склад с поворотным штабелеукладчиком и роторным перегружателем.
На рисунке показана компоновка такого склада емкостью 650000 т. угля.
Из разгрузочного устройства ленточными конвейерами уголь подается к штабелеукладчику. Поворотным штабелеукладчиком, на стреле которого установлены два конвейера: стационарный и передвижной реверсивный – топливо подается на склад. Склад в этом случае имеет форму кольца трапецеидального профиля. Со склада топливо выдается поворотным роторным перегружателем, мост которого вращается относительно той же вертикальной оси центральной колонны, что и штабелеукладчик.
Центральная вертикальная колонна и бетонное кольцо., ограничивающее внутренний диаметр штабеля, являются опорами, по которым происходит передвижение штабелеукладчика и роторного перегружателя.
Описанная механизация угольного склада позволяет полностью или частично автоматизировать складские операции с производительностью до 1800 – 2000 т/ч.
8. Выбор оборудования схемы ГРЭС
8.1 РЕГЕНЕРАТИВНЫЕ ПОДОГРЕВАТЕЛИ
Регенеративная установка, предназначенная для подогрева поступающей в котел питательной воды паром из нерегулируемых отборов турбины, состоит из части низкого давления (от конденсатора до деаэратора) и части высокого давления (от деаэратора до котла). Основными элементами регенеративной установки в части низкого давления являются пять поверхностных подогревателей ПНД-1, ПНД-2, ПНД-З, ПНД-4, ПНД-5, находящихся по водяной стороне од напором конденсатных насосов. В части высокого давления для регенеративного подогрева питательной воды предназначены три поверхностных подогревателя ПВД-7, ПВД-8 и ПВД-9, находящихся по водяной стороне под напором питательных насосов.
Вся регенеративная установка выполнена однониточной.
Характеристики регенеративных подогревателей, применяемых в турбоустановке, приведены табл. 8.1 (л2; стр 114)















