Met2_ATPOXP (728784), страница 2
Текст из файла (страница 2)
При этом концентрация раствора понижается и оставшаяся жидкая фаза Gмр в смеси с Gкр в виде потока суспензии Gc выводится из процесса.
Показатель эффективности процесса - диаметр кристаллов, dкр.
Цель управления процессом - обеспечение dкр = dкрзд.
Материальный баланс по всему веществу
Уравнение динамики:
Материальный баланс по кристаллизуемому веществу.
Уравнение динамики:
-
Из (5) выразим Gкр в явном виде:
-
Выражение (6) представляет Gкр на основе материального баланса процесса кристаллизации.
где
- число кристаллов, которое образуется
за время пр в объеме Vс;
- изменение массы одного кристалла в ед. времени, кг/с.
-
В целом, на основании (6) и (7) можно записать:
Математическое описание для размера частиц.
-
На основании диффузионной теории и правила Мак-Бена скорость роста кристаллов можно представить через радиус частиц:
где
r - радиус кристалла, м; t - время, с;
Сп, С* - концентрации пересыщенного и насыщенного растворов, кг/м3;
Еа - энергия активации, кдж/кг;
-
- температура, К;
R - универсальная газовая постоянная, кдж/кг*К.
-
На основании (9) и (10) - диаметр кристалла можно представить:
-
Если процесс кристаллизации вести при = const = зд и обеспечить Сн= const, то Сп и С* будут предопределены, т.к. система имеет 2 степени свободы (s=2).
-
Таким образом, dкр=dкрзд можно обеспечить стабилизацией при условии Сн= const.
Тепловой баланс процесса кристаллизации.
Уравнение динамики:
Можно принять = мр = кр = с .
-
На основании (11) и (12) можно считать:
-
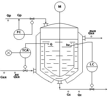
Предпочтительное управляющее воздействие Gхл .
Информационная схема кристаллизатора
Рис.6.
-
Возможные неконтролируемые возмущения:
-
В целом, кристаллизатор является сложным многосвязным объектом.
Типовая схема автоматизации процесса кристаллизации
Рис.7.
-
Регулирование.
-
Регулирование в аппарате по подаче хладоагента Gхл - обеспечивает косвенное регулирование показателя эффективности процесса: = f (dкр).
-
Регулирование h по отбору маточного раствора Gмр - для обеспечения материального баланса по жидкой фазе.
-
Стабилизация расхода исходного раствора Gр - для обеспечения заданной производительности установки.
-
Контроль.
-
Сигнализация.
-
Значительные отклонения температуры от задания.
3. Материалы к лекции №11
Автоматизация процесса абсорбции
Равновесие в процессе абсорбции.
-
Число степеней свободы для системы бинарный газ+жидкость:
S = k – f + 2=3-2+2=3.
-
Переменные для данной системы: температура , давление Р; концентрации С.
-
Равновесие такой системы при постоянных и Р описывается законом Генри:
где m - коэффициент распределения:
где Е - константа Генри:
где q - дифференциальная теплота растворения; R - универсальная газовая постоянная; С - константа.
-
На основании (2) и (3) коэффициент распределения m зависит от P и следующим образом: при Р, m ; при , Е . m.
-
Следовательно, растворимость газа в жидкости на основании (1), определяемая как:
, увеличивается с увеличением давления Р и уменьшением температуры .
Влияние Р и на среднюю движущую силу процесса абсорбции.
(фазовые диаграммы при противотоке распределяющих веществ)
Рис.1.
-
При Р1 и 1 , Δср1; 2 - При Р2 > Р1 , Δср2 ; 3 - При 3 > 1 , Δср3
Результаты анализа диаграмм:
-
Δср =f (, Р, сгн , сгк , сан , сак );
-
Δср2 > Δср1 ; при Р→ Δср ;
-
Δср3 < Δср1 ; при → Δср
Влияние направления движения потоков
на средние движущие силы процесса абсорбции.
Рис.2а.
-
- рабочая линия процесса абсорбции при противотоке распределяющих веществ;
-
- рабочая линия процесса абсорбции при прямотоке распределяющих веществ;
-
- равновесная линия процесса абсорбции.
Движение распределяющих веществ противотоком.
Рис.2б.
Движение распределяющих веществ прямотоком.
Рис.2в.
-
Выводы по характеристикам схем противотока и прямотока:
Кинетика процесса абсорбции.
Уравнения массопередачи в процессе абсорбции:
или
где
Мга - масса распределяемого компонента, переходящая из газа в абсорбент в единицу времени, кг/ч;
F - поверхность массопередачи м2;
Кг , Ка - коэффициенты массопередачи,
;
где
г - коэффициент массоотдачи от потока газа к поверхности контакта фаз, кг/(м2 *ч);
а - коэффициент массоотдачи от поверхности контакта фаз к потоку абсорбента, кг/(м2 *ч).
Схема насадочного абсорбера.
Рис.6.
Объект управления
Схема абсорбционной установки.
1, 2 – холодильники; 3 – абсорбционная насадочная колонна.
Рис.5.
Работа схемы.
Исходная газовая смесь Gг и абсорбент Gа в холодильниках 1 и 2 охлаждаются до заданных температур г0 и а0 и противотоком подаются в колонну 3.
В колонне 3 происходит извлечение целевого (распределяемого) компонента из исходной газовой смеси с помощью жидкого абсорбента.
В результате массообменного процесса между газовой и жидкой фазами получают:
-
в низу колонны - насыщенный абсорбент Gна с концентрацией целевого (распределяемого) компонента сна;
-
в верху колонны - обедненную газовую смесь Gог с концентрацией целевого (распределяемого) компонента сог .
Показатель эффективности процесса - концентрация распределяемого компонента в обедненной газовой смеси сог.
Цель управления - обеспечение сог = согзд на минимально возможном для данной установки значении.
Материальный баланс по целевому компоненту.
-
Материальный баланс по целевому компоненту в газовой фазе.
Уравнение динамики:
где Мгна - масса целевого компонента, переходящая из газовой фазы в жидкую в единицу времени, кг/ч.
Из выражений (1) и (2) следует, что:
(3),
где Мгна - определяется уравнением массопередачи.
-
Материальный баланс по целевому компоненту в насыщенном абсорбенте.
Уравнение динамики:
Из выражений (4) и (5) следует, что:
(6),
где Mгна - определяется уравнением массопередачи.
-
Материальный баланс по общему количеству целевого компонента в процессе абсорбции.
Уравнение динамики:
Аналогично, можно получить:
(10).
Материальный баланс по жидкой фазе.
Уравнение динамики:
Уравнение статики:
На основании (11) и (12):
. (13).
Материальный баланс по газовой фазе.
-
Уравнение динамики:
где Мог - мольная масса обедненной газовой смеси,
кг/моль;
Рог - давление в колонне, Па;
ог - температура в колонне (по газовой фазе), К,
Vог - объем газовой фазы в колонне, м3 .
-
Уравнение статики:
-
На основании (14) и (15) можно считать:
-
Предпочтительное управляющее воздействие Gог.
Тепловой баланс в абсорбере.
-
Уравнение динамики для холодильника1:
-
На основании (17) и (18) можно считать:
-
Предпочтительное управляющее воздействие Gхл1.
-
Уравнение динамики для холодильника 2.
-
На основании (20) можно считать:
-
Предпочтительное управляющее воздействие Gхл2.
Информационная схема для установки с показателем эффективности сог .
Рис.7
Схема абсорбционной колонны как многосвязного
объекта при показателе эффективности сог.
Рис.8
Информационная схема для установки с показателем эффективности сна .
Рис.9
-
Возможные управляющие воздействия, контролируемые и неконтролируемые возмущения те же, что и в системе с показателем эффективности сог.
Схема абсорбционной колонны как многосвязного
объекта при показателе эффективности сна.
Рис.10.
Типовая схема автоматизации процесса абсорбции.















