145803 (728757)
Текст из файла
Содержание :
-
Характеристики закрученных потоков 3
-
Формирование закрученных течений 7
-
Топки, горелки и циклоны 11
-
Характерные особенности закрученных потоков 15
-
Изменение структуры потока с увеличением закрутки 18
-
Структура рециркуляционной зоны 20
-
Вихревые горелки, прецессирующее вихревое ядро
в потоке с горением 22
-
Горение в закрученном потоке 25
-
Пределы срыва и устойчивость пламени 28
-
Проектирование вихревых горелок 29
-
Список использованной литературы 31
1. ХАРАКТЕРИСТИКИ ЗАКРУЧЕННЫХ ПОТОКОВ
Сильное влияние закрутки на инертные и реагирующие течения хорошо известно и изучается на протяжении многих лет. Когда эффект закрутки оказывается полезным, конструктор старается создать закрутку, наиболее подходящую для решения его задач; если же подобные эффекты нежелательны, конструктор предпринимает усилия для регулирования или устранения закрутки. Закрученные течения имеют широкий диапазон приложений. В случае отсутствия химических реакций сюда относятся, например, течения в вихревых реакторах, циклонных сепараторах и трубах Ранка - Хилша, при срыве вихревой пелены с крыльев самолета, в водоворотах и торнадо, в устройствах для распыления аэрозолей в сельском хозяйстве, в теплообменниках, струйных насосах, а также теория бумеранга и полета пчелы. В течениях с горением широко используется сильное благоприятное влияние закрутки инжектируемых воздуха и горючего на улучшение стабилизации высокоинтенсивных процессов горения и при организации эффективного чистого сгорания во многих практических устройствах: в бензиновых и дизельных двигателях, в газовых турбинах, промышленных печах, бойлерах и других технических нагревательных аппаратах. В последнее время усилия исследователей были направлены на понимание и описание аэродинамики закрученных течений с процессами горения газообразных, жидких и твердых топлив. Экономичное конструирование и экологичность работы технических устройств с горением могут быть значительно улучшены дополнительными экспериментами и модельными исследованиями. При этом экспериментальная и теоретическая аэродинамика течений с горением используется вместе со сложными методами вычислительной гидродинамики. Развитие и совершенствование этих методов позволят значительно снизить затраты времени и средств на программы развития новых устройств.
Закрученные течения являются результатом сообщения потоку спирального движения с помощью закручивающих лопаток, при использовании генераторов закрутки с осевым и тангенциальным подводом или прямой закруткой путем тангенциальной подачи в камеру с формированием окружной компоненты скорости (называемой также тангенциальной или азимутальной компонентой скорости). Экспериментальные исследования показывают, что закрутка оказывает крупномасштабное влияние на поле течения: на расширение струи, процессы подмешивания и затухания скорости в струе (в случае инертных струй), на размеры, форму и устойчивость пламени и интенсивность горения (в случае реагирующих потоков). На все эти характеристики влияет интенсивность закрутки потока. Интенсивность закрутки обычно характеризуется параметром закрутки, представляющим собой безразмерное отношение осевой компоненты потока момента количества движения к произведению осевой компоненты потока количества движения и эквивалентного радиуса сопла, т. е.
где величина
является потоком момента количества движения в осевом направлении и учитывает вклад х - -компоненты турбулентного сдвигового напряжения; а величина
является потоком количества движения в осевом направлении и учитывает вклад турбулентного нормального напряжения и давления (осевая тяга), d/2—радиус сопла, и, v, ω - компоненты скорости в направлении осей х, r, цилиндрической системы координат.
В свободной струе, распространяющейся в затопленном пространстве, величины Gх и G постоянны, т. е. являются инвариантами для данной струи.
Если использовать уравнение для количества движения в радиальном направлении и пренебречь слагаемыми
, то вклад давления в Gx можно выразить через ω следующим образом:
Эту характеристику зачастую трудно измерить с хорошей точностью, поэтому используются альтернативные упрощенные варианты. Иногда величину S рассчитывают без учета турбулентных напряжений, иногда пренебрегают вкладом давления. В этих случаях величины G и Gх при смещении вниз по потоку не сохраняются.
Рассмотрим сначала случай, когда поток закручен как целое на выходе из сопла, т.е.
Иными словами, профиль осевой скорости и считается равномерным, а скорость закрутки ω возрастает от 0 (при r=0) до ωm0 (при r=d/2, т.е. на стенке сопла). Если вклад давления в Gх сводится к учету слагаемого ω2/2, а турбулентными напряжениями пренебрегают, то это дает
где Gх=ωm0/um0 - отношение максимальных скоростей в выходном сечении сопла. Таким образом, параметр закрутки S может быть представлен в виде
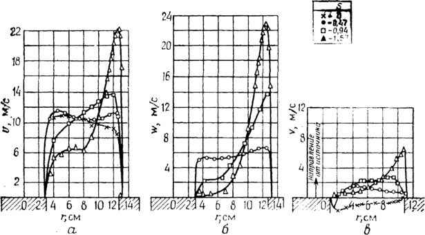
где связь S и G проиллюстрирована на рис.1.1, где также приведены экспериментальные значения измеренных независимо величин S и G. Соотношение S ~ G для вращения газа как целого правдоподобно описывает реальный случай истечения из генератора закрутки при G < 0,4 (S 0,2). Однако при более интенсивности закрутки распределение осевой скорости значительно отклоняется от равномерного; большая часть потока выходит из отверстия вблизи внешней кромки; в качестве примера на рис.1.2 приведены распределения осевой, окружной и радиальной скоростей в кольцевом выходном сечении генератора закрутки с тангенциальным и осевым подводом, полученные экспериментально при нескольких значениях параметра закрутки. Указанная теоретическая зависимость
Рис.1.1. Соотношение между параметрами S и G, характеризующими закрутку.
Рис. 1.2. Радиальные распределения осевой, окружной и радиальной скоростей на выходе из закручивающего устройства со смешанной тангенциально-осевой подачей, демонстрирующие влияние изменения степени закрутки
:
а — осевая скорость; б — окружная скорость; в — радиальная скорость.
S ~ G дает в этом случае заниженные значения S при заданных значениях G, так что фактически более реальным оказывается следующее соотношение между S и G:
также изображенное на рис. 1.1.
Течение может быть охарактеризовано также локальным параметром закрутки Sx, в котором используется толщина слоя смешения rb, а не радиус сопла d/2. Кроме того, закрутка потока может выражаться непосредственно через угол установки лопаток закручивающего аппарата и геометрические параметры сопла, через тягу и вращающий момент закручивающего устройства, через угол расширения струи вниз по потоку от сопла и через другие параметры. Целесообразно связать угол установки лопаток закручивающего аппарата с создаваемым им значением параметра закрутки. В этой связи для сравнения следует заметить, что угол установки лопаток (φ и параметр закрутки S связаны приближенным соотношением
где d и dh - соответственно диаметры сопла и втулки закручивающего аппарата. Это соотношение вытекает из предположения о распределении осевой скорости в кольцевом канале, соответствующем движению газа как целого, и допущению о малой толщине лопаток, имеющих постоянный угол φ по отношению к направлению основного потока и сообщающих потоку постоянную скорость закрутки. Действительно, интегрируя выражения (1.2), (1.3) по r от Rh=dh/2 до R=d/2, получим
откуда следует соотношение (1.7). В случае безвтулочного закручивающего аппарата (или для аппарата с очень малым отношением dh/d) приведенное выше выражение упрощается следующим образом:
так что, например, углы установки лопаток 15°, 30°, 45°, 60°, 70° и 80° соответствуют значениям S, равным примерно 0,2; 0,4; 0,7; 1,2; 2,0 и 4,0 соответственно. Здесь предполагается 100%-ная эффективность закручивающего аппарата, но в действительности она уменьшается при увеличении угла установки. На рис.1.3 приведен примерный вид зависимости угла выхода потока воздуха θ для закручивающего аппарата с плоскими лопатками от угла установки лопаток φ и отношения шага установки лопаток к длине хорды σ=s/c. Следует также отметить, что целесообразно использовать изогнутые лопатки в решетках закручивающих аппаратов, и по некоторым экспериментальным данным известно, что эффективный угол закрутки, сообщаемой потоку, определяется углом установки задней кромки.
Рис.1.3. Изменение угла выхода θ для закручивающего устройства с плоскими лопатками в зависимости от угла установки лопаток φ и отношения шага установки к хорде σ=s/c, полученное на основе данных для каскада плоских лопаток (а) и данных для каскада криволинейных лопаток (б).
На рис.1.3 б, приведены соответствующие обозначения для угла выхода потока воздуха θ, зависящего от угла установки задней кромки лопатки φ (равного 180°-γ) и отношения шага установки лопаток к длине хорды σ. Здесь использованы следующие обозначения:
θ - угол поворота потока,
φ - конечный угол поворота лопаток,
δ - угол отставания, равный φ-θ,
γ - угол хорды лопатки, равный 180°-φ,
R - радиус кривизны,
с - длина хорды лопатки,
s - расстояние между лопатками (шаг установки лопаток),
и связь между этими параметрами выражается приближенным соотношением Картера
Характеристики
Тип файла документ
Документы такого типа открываются такими программами, как Microsoft Office Word на компьютерах Windows, Apple Pages на компьютерах Mac, Open Office - бесплатная альтернатива на различных платформах, в том числе Linux. Наиболее простым и современным решением будут Google документы, так как открываются онлайн без скачивания прямо в браузере на любой платформе. Существуют российские качественные аналоги, например от Яндекса.
Будьте внимательны на мобильных устройствах, так как там используются упрощённый функционал даже в официальном приложении от Microsoft, поэтому для просмотра скачивайте PDF-версию. А если нужно редактировать файл, то используйте оригинальный файл.
Файлы такого типа обычно разбиты на страницы, а текст может быть форматированным (жирный, курсив, выбор шрифта, таблицы и т.п.), а также в него можно добавлять изображения. Формат идеально подходит для рефератов, докладов и РПЗ курсовых проектов, которые необходимо распечатать. Кстати перед печатью также сохраняйте файл в PDF, так как принтер может начудить со шрифтами.















