145070 (728026)
Текст из файла
Міністерство Освіти та Науки України
ДНІПРОПЕТРОВСЬКИЙ НАЦІОНАЛЬНИЙ УНІВЕРСИТЕТ
Радіофізичний факультет
Кафедра радіоелектроніки
КУРСОВЕ ЗАВДАННЯ
З курсу: Аналогова схемотехніка
На тему
Дослідження схем визначення емоційного стану людини
Виконала: ст. гр. РБ-99-1
Дубіна О. Л.
Перевірив: ст. викл. каф. РЕ
Груздов В. Є.
Дніпропетровськ
2003
Реферат
Курсове завдання: 16 стор., 3 рис., 4 літ. джерел.
ЕМОЦІЙНИЙ СТАН ЛЮДИНИ, ЕЛЕКТРОДИ, ОПІР ШКІРИ, ПРИСТРІЙ РЕГІСТРАЦІЇ, МЕДИЧНА ІНФОРМАЦІЯ, ДОСЛІДЖЕННЯ, МАКЕТ.
В даній роботі надано основні теоретичні дані щодо дослідження емоційного стану людини. Згідно з теорією розроблений макет для вище вказаного дослідження, а саме – дослідження зміни опору шкіри людини в залежності від її емоційного стану. Також надані рекомендації та методичні вказівки щодо роботи зі розробленим макетом.
ЗМІСТ
Вступ 4
1.Основні теоретичні відомості 5
2.Робота приладу 9
3.Постановка задачі 10
4.Вибір схеми 11
5.Конструкція макету 12
6.Завдання для підготовки до роботи 13
7.Порядок виконання роботи 14
Висновки 15
Список використаних джерел 16
ВСТУП
В даний час розвиток електроніки та найближчих галузей допомагає науково-технічному прогресу в медицині. Медицинська електроніка займається розробкою, виробництвом та застосуванням електроних пристроїв і може розвиватися тільки у міцній співдружності та взаєморозумінні лікарів та інженерів.
Розповісти про досягнення електроніки в галузі медичної техніки, конкретно про можливість визначення емоційного стану людини – мета цієї роботи.
-
ОСНОВНІ ТЕОРЕТИЧНІ ВІДОМОСТІ
Классификация устройств съёма медицинской информации.
Устройства съёма медицинской информации обеспечивают получение сигналов, связанных с теми или иными явлениями, происходящими в живом организме. Устройства съёма – переходное звено между исследуемым организмом и последующими устройствами усиления сигналов, их отображения, регистрации, обработки и т.д.
Проблема съёма медицинской информации является первой, которая неизбежно возникает при контакте врача и инженера на стыке медицины и техники. Для того, чтобы получить достоверный результат при измерении и регистрации, объективно отражающий суть процессов, происходящих в организме, сделать правильный вывод при постановке диагноза или про исследовании эмоционального состояния человека, необходимо чётко представлять принципы, работу и методику применения устройств съёма информации, достоинства и недостатки их различных конструкций.
Все медицинские параметры, подлежащие измерению и регистрации, можно разделить на две группы: измеряемые непосредственно и измеряемые косвенно.
К первой группе относятся, например, измерения температуры тела, биоэлектрических потенциалов. Съём этих величин осуществляется с помощью соответствующих устройств, которые непосредственно воспринимают от исследуемого организма изменения тех или иных параметров: механического перемещения, температуры, электрического потенциала.
Ко второй группе параметров относятся такие, которые сами по себе не могут быть измерены либо проведение подобных замеров затруднено, но измерения которых приводят в изменениям других показателей, более удобных для измерений. Очевидно, требуется обратить особое внимание на установление первоначальных зависимостей между параметрами, интересующими исследователя, и фактическими измеряемыми косвенными показателями.
Независимо от особенностей конкретных технических реализаций к устройствам съёма информации можно предъявить ряд общих требований. Они должны обеспечить:
-
получение устойчивого информативного сигнала;
-
максимальную помехозащищённость;
-
удобство размещения в необходимом для измерения месте;
-
отсутствие побочно – раздражающего или другого действия на организм;
-
возможность стерилизации (без изменения характеристик) и многократного использования.
Всю совокупность различных устройств съёма медицинской информации целесообразно подразделить лишь на две большие группы (рис. 1): это электроды и датчики (преобразователи).
Пристрої регістрації медицинської информації
Сенсори (перетворювачи)
електроди
біокерувальні
енергетичні
активні
пасивні
Рис. 1. Класифікація пристроів регістрації медицинської информації.
Электроды – это проводники специальной формы, с помощью которых часть электрической цепи, составленная из проводов, соединяется с другой частью этой цепи неметаллического типа проводимости (например, с той или иной частью тела, органом, поверхностью кожи и т.д.). Электроды чаще всего используются для съёма электрического сигнала, реально существующего в исследуемом организме. Они просто выполняют роль контакта, осуществляя отведение электрического сигнала без потерь, зависящей от качества контакта между электродом и той частью организма, с которой от соприкасается.
К электродам, как элементам съёма медико – биологической информации, обычно предъявляют специфические требования:
-
они должны быстро фиксироваться и сниматься;
-
обладать низкой стоимостью;
-
обладать высокой стабильностью электрических параметров;
-
эластичностью при достаточной механической прочности;
-
не давать артефактов и помех;
-
не оказывать раздражающего действия.
Датчик – (преобразователь медицинской информации) – устройство съёма информации, реагирующий своим чувствительным элементом на воздействие измеряемой величины, а также осуществляющий преобразование этого воздействия в форму, удобную для последующего усиления, регистрации, обработки и т. д.
Тип и конструкция датчика зависят от вида необходимого преобразования, т.е. определяются конкретными физическими представлениями входного неэлектрического сигнала и выходного электрического, а также зависят от условий работы датчика.
Электроды
Важнейшим общим требованием, предъявляемым к различным электродам, является требование минимума потерь полезного сигнала, особенно на переходном сопротивлении электрод – кожа, которое нужно стремиться сделать наименьшим. Величина переходного сопротивления зависит от типа металла, из которого изготовлен электрод, свойств кожи, площади её соприкосновения с электродом и от проводимости проводящей среды между ними.
Переходное сопротивление уменьшается также с увеличением площади контакта электрод – кожа. Переходное сопротивление между чистой сухой кожей и электродом измеряется сотнями килоом. Для его уменьшения между кожей и электродом обычно прокладывается марлевая салфетка, смоченная физиологическим раствором. При этом переходное сопротивление снижается до десятков килоом. В последнее время чаще применяют специальные проводящие электродные пасты, которые дают лучший результат, чем простые электролиты.
Существует множество типов металлических электродов. В качестве материала для их изготовления применяются золото, платина, серебро, палладий, нержавеющая сталь, сплавы с иридием и др. металлы и химические соединения. Причём, вопрос о влиянии металла и способа обработки на характер получаемых результатов до сих пор остаётся предметом постоянной дискуссии.
Конструкции и характеристики электродов зависят во многом от целей их применения.
По назначению электроды делятся на четыре группы:
-
для одноразового использования (в кабинетах функциональной диагностики и т.д.);
-
для длительного, непрерывного наблюдения (в условиях палат реанимации, интенсивной терапии);
-
для динамического наблюдения (в условиях физических нагрузок, в спортивной медицине);
-
для экстремального применения (в условиях неотложной терапии, скорой помощи).
Для кратковременного использования применяется так называемый электрод - присоска. Этот электрод снабжен резиновым баллончиком, который даёт возможность просто и достаточно надёжно прикрепить электрод в нужном месте. Однако такой электрод нельзя использовать для длительной регистрации из-за недостаточной герметичности и возможных кровоизлияний в кожу и подкожную клетчатку.
Для долговременной регистрации применяется паста специального состава, не вызывающая раздражения кожи, и чаще применяются тарелкообразные электроды.
Погрешности устройств регистрации информации.
Погрешности устройств регистрации информации – одно из звеньев в общей цепи ошибок измерений, зависящих от ряда технических и специфических причин.
Различают погрешности, связанные с:
А) изменением физических параметров окружающей среды;
Б) индивидуальными особенностями организма (варианты струкруты и состава тканей, например);
В) неточным выполнением процесса измерения физических параметров организма (крепление, ориентация и согласование датчика с объектом, обработка кожи и т.д.);
В) несовершенством измерительной системы.
В настоящее время на представляется возмодным дать точную характеристику отдельных составляющих полной погрешности измерения физиологических параметров.
-
РОБОТА ПРИЛАДУ ДЛЯ ВИЗНАЧЕННЯ ЕМОЦІЙНОГО СТАНУ ЛЮДИНИ.
Прибор для определения эмоционального состояния человека применяют в следственной практике. Было установлено, что ложь и отрицание вины преступниками сопровождается нервным напряжением, ведущим к различным физиологическим явлениям: повышение кровяного давления и др.
Современные устройства позволяют примерно в 85% случаев верно оценивать ответы. Прибор состоит из комплекта чувствительных измерительных приборов, подключённых к датчикам давления. Эластичный браслет с таким датчиком, закреплённый выше локтя, позволяет регистрировать на самописце запись изменения пульса и давления. Датчик, размещаемый на уровне груди, позволяет регистрировать ритм дыхания. Однако в радиолюбительской практике значительно проще регистрировать изменение сопротивления кожи на кистях рук или на запястье. Электроды в виде электропроводящих полосок шириной примерно 20 мм с помощью липкой ленты прикрепляют к коже (запястья, ладони, лба) на расстоянии 10-15 мм. Испытуемому задают серию вопросов, на которые он должен дать ответы «да» и «нет». Расшифровав запись на самописце или по отклонению стрелки прибора, определяют реакцию организма на правильные ответы и на заведомо ложные.
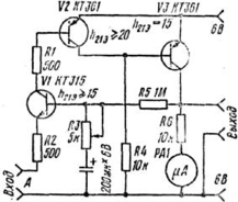
Схема (рис. ) упрощённого прибора имеет высокую чувствительность, позволяет отмечать даже слабое волнение исследуемого в случае умышленной лжи и реагирует на изменение сопротивления кожи. В обычном состоянии сопротивление кожи составляет 3… 100 кОм, а под воздействием возбуждения меняется примерно на 5%.
рис. 2. Схема визначення емоційного стану людини.
К выходным зажимам прибора подключают гальванометр или самописец. Чувствительность прибора регулируют резистором R1. Устройство пригодно для организации психологических тестов и викторин.
3. ПОСТАНОВКА ЗАДАЧІ
Згідно з раніше вказаним, існує способів регістрації медичної інформації. Для їх дослідження необхідно було розробити та виготовити експериментальний макет, на якому було б можливо проводити дослідження принципа їх роботи.
Крім того необхідно було розробити методичні вказівки щодо визначення ємоційного стану людини на цьому макеті.
4.ВИБІР СХЕМИ
Виберемо нескладну схему для визначення емоційного стану людини, яка складається з чотирьох транзисторів, пяти резисторів постійного опору, одно резистора зі змінним опором, електролітичного конденсатору та мікроамперметра(Рис.14).
рис. 2. Схема визначення емоційного стану людини.
Характеристики
Тип файла документ
Документы такого типа открываются такими программами, как Microsoft Office Word на компьютерах Windows, Apple Pages на компьютерах Mac, Open Office - бесплатная альтернатива на различных платформах, в том числе Linux. Наиболее простым и современным решением будут Google документы, так как открываются онлайн без скачивания прямо в браузере на любой платформе. Существуют российские качественные аналоги, например от Яндекса.
Будьте внимательны на мобильных устройствах, так как там используются упрощённый функционал даже в официальном приложении от Microsoft, поэтому для просмотра скачивайте PDF-версию. А если нужно редактировать файл, то используйте оригинальный файл.
Файлы такого типа обычно разбиты на страницы, а текст может быть форматированным (жирный, курсив, выбор шрифта, таблицы и т.п.), а также в него можно добавлять изображения. Формат идеально подходит для рефератов, докладов и РПЗ курсовых проектов, которые необходимо распечатать. Кстати перед печатью также сохраняйте файл в PDF, так как принтер может начудить со шрифтами.
















