144787 (727885)
Текст из файла
Министерство образования и науки Российской Федерации
Федеральное агентство по образованию
Государственное образовательное учреждение
Высшего профессионального образования
Южно-Российский государственный технический университет
Шахтинский институт (филиал)
РЕФЕРАТ
по дисциплине: Технология строительного производства
на тему: Технология строительства убежищ, возводимых в особый период
Работу выполнила
студентка группы В 1.4 Белина Е.Г.
Работу принял доц. К.Т.Н. Шубин А.А.
Шахты 2010
Содержание
Введение
Планировочно-конструктивные решения сооружений
Особенности проектирования, изготовления и монтажа конструкций
Технико-экономические показатели убежищ
Заключение
Список литературы
Введение
Основной задачей гражданской обороны является защита населения от современных средств поражения путём размещения в защитных сооружениях (убежищах и противорадиационных укрытиях). Строительство этих сооружений осуществляется заблаговременно, либо в короткие сроки по особому указанию. Убежища в системе защитных сооружений занимают главенствующую роль, так как обеспечивают противоядерную, противохимическую, противорадиационную и противобактериологическую защиту укрываемых.
Основополагающим фактором, учитываемым при проектировании убежищ, является поражающее действие взрыва ядерного боеприпаса, которое наиболее существенно влияет на конструктивно-планировочное решение убежищ и их стоимость.
Убежища, возводимые в особый период (быстровозводимые убежища), представляют собой особый тип защитных сооружений гражданской обороны с простыми планировочно-конструктивными решениями, вытекающими из условий эксплуатации их только по прямому назначению, т.е. для защиты людей от расчётных средств поражения. Поэтому, именно зданиям такого типа необходимо уделять особое внимание.
Планировочно-конструктивные решения сооружений
Убежища, возводимые в особый период (быстровозводимые убежища), представляют собой особый тип защитных сооружений гражданской обороны с простыми планировочно-конструктивными решениями, вытекающими из условий эксплуатации их только по прямому назначению, т.е. для защиты людей от расчётных средств поражения.
Главным условием, определяющим планировочно-конструктивные решения отдельно стоящих быстровозводимых убежищ, является применение для их строительства конструкций, изделий и материалов, имеющихся в народном хозяйстве страны, либо использование конструкций без существенных изменений способа производства. При этом должны быть сведены к минимуму или практически исключены из состава производственного процесса «мокрые процессы» (укладка монолитного бетона), сварочные работы и т.д., приводящие к увеличению сроков строительства или требующие квалифицированной рабочей силы. Применение монолитного бетона нежелательно, т.к. расчётную прочность он набирает длительное время – 25-30 суток. С этой же точки зрения нежелательно применение кирпичной кладки. При строительстве убежищ допустимо использовать цементный раствор, служащий выравнивающим слоем при установке конструкций, а также для заделки швов или щелей.
Применение конструкций и элементов индивидуального (специального) изготовления нецелесообразно, т.к. требует больших капитальных затрат, вкладываемых задолго до возможного их использования и связанных с необходимостью проведения существенной переоснастки и перестройки технологических, линий предриятий-изготовителей.
Габариты быстровозводимых убежищ назначают минимально возможными, исходя из рационального размещения бытового оборудования и условий пребывания людей в сооружении в течение определённого времени (не менее двух суток). Расстояние в свету между несущими конструкциями (в основном стенами) для удобства установки скамей и создания проходов между ними может быть, м:
при однорядном продольном размещении 1,1 – 1,3
при двухрядном продольном размещении 1,7 – 1,9
при четырёхрядном продольном размещении 3,4 – 3,8
при двухрядном поперечном размещении 2,4 – 2,8
Таким образом, исходя из наличия конструкций и изделий различного размера, пролёт убежищ целесообразно принимать в пределах 1,2 – 3,6 м. При двухъярусном расположении мест для укрываемых высота убежища от пола до выступающих конструкций покрытия должна быть не менее 1,9 м. При одноярусном расположении, когда места для лежания укрываемых не делают, достаточно иметь высоту 1,7 м. Для соблюдения минимально необходимых санитарных норм и возможности перемещения людей по убежищу необходимо иметь на одного укрываемого не менее 0,5 м2 площади пола. Поскольку высота убежищ может быть неодинаковой, различной получается и площадь ограждающих конструкций на одного человека.
Таблица 1. Площадь ограждающих конструкций на одного человека
| Материал | Площадь ограждающих конструкций на 1 чел., 1м2 | |
| Стены | Покрытия | |
| Железобетон Грунтонабивные мешки Дерево | Ж Металл Дерево Железобетон Металл Дерево Железобетон Металл Дерево | 1,5 1,5 1,9 2,2 1,8 2,5 2,8 |
| Бетонные блоки | Ж Металл Дерево | 1,6 1,7 |
Эту площадь определяют в зависимости от климатической зоны, количества подаваемого в сооружение воздуха и от материалов, из которых возводится убежище. При строительстве в центральных районах страны и подаче воздуха 2 м3/ч на человека площадь ограждающих конструкций (покрытие и стены) принимают по таблице 1, из которой видно, что требуемая площадь ограждающих конструкций в сооружениях из дерева почти в 2 раза выше, чем в сооружениях из железобетона. Вызвано это тем, что бетон поглощает больше теплоты, поэтому на одного укрываемого необходимо подавать в сооружение большее количество воздуха.
Быстровозводимые убежища, оборудованные входами и аварийным выходом, включают: помещения для укрываемых, санузел, места для размещения простейших фильтров, вентиляторов и баков с водой. Место с размещённым санузлом отгораживают от помещения убежища простейшими перегородками из досок, фанеры и т.п. или из брезента. Фильтровентиляционное оборудование от помещения для укрываемых, как правило, не изолируют.
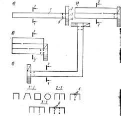
Рисунок 1. Планировочные схемы быстровозводимых убежищ а – однопролётные; б – двухпролётные; в – трёхпролётные; г – коленчатые; l – помещения для укрываемых; 2 – пандус, 3 – предтамбур, 4 – лестничный спуск; 5 – тамбур; 6 – внутренние рамы с распорками
Небольшие пролёты быстровозводимых накладывают свой отпечаток на планировочные схемы. Обычно отдельно стоящие убежища имеют вытянутую форму в плане (рис. 1, а, б, в). Поскольку выбор свободного места для размещения убежища в сложившейся городской (промышленной) застройке может вызвать трудности, то в этих условиях следует применить многопролётную планировочную схему. Убежище также может иметь Г-образный вид в плане, соответствующий конкретной застройке (рис.1, г). Длина сооружений определяется их вместимостью. Для большой вместимости (100 чел.) и однопролётной схеме (при двухрядном размещении мест) она составляет около 35 м. При двухпролётной схеме длина будет приблизительно в 1,5 раза меньше. В поперечном сечении остов однопролётных убежищ может иметь прямоугольную, трапециевидную, круглую и другие формы, как это показано на рисунке 1.
Характерной особенностью планировочных схем многопролётных убежищ является то, что в качестве внутренних вертикальных несущих конструкций, как правило, используют стены. Это вызвано тем, что для возведения убежищ применяют подручные конструкции и материалы, среди которых нет железобетонных колонн и коротких ригелей. Планировочное решение убежищ с внутренними несущими стенами в значительной степени упрощает и их конструктивное исполнение. Это является положительным фактором, т.к. строительство подобных сооружений можно осуществлять силами населения.
При двух и более пролётных схемах во внутренних стенах следует устраивать проёмы для объединения отдельных помещений в одно убежище (рис.1, б, в). Это делают либо раздвижкой стеновых блоков, либо применением элементов с дверными проёмами. Возведение убежищ с двух- и более пролётными схемами вызывается не только условиями застройки, но и сложностью использования существующих малопрочных железобетонных конструкций гражданского и промышленного строительства. В связи с этим возможны решения убежищ, когда в качестве внутренних несущих элементов используют деревянные или металлические рамы, размещаемые в продольном направлении. Рамы состоят из несущих балок, стоек и нижнего лежня (рис.1). В поперечном направлении рамы раскрепляют распорками.
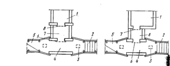
Входы в быстровозводимые убежища состоят из лестничного спуска (пандуса), предтамбура и тамбура. Для сокращения площади застройки убежищ и учитывая одноразовый характер их использования, лестничные спуски допускается располагать более крутыми – под углом 45о, но вдоль маршей следует поручни. Рекомендуется применять входы сквозникового типа, для которых нагрузки на входные участки и защитные устройства (двери) будут минимальными, причём для уменьшения объёма работ допускается лестничный спуск возводить с одной стороны, а с другой – предусмотреть пандус.
Рисунок 2. Принципиальные планировочные решения сквозниковых входов 1-помещения для укрываемых; 2 – лестничный спуск; 3 – водосборный приямок; 4 – предтамбур; 5 – пандус; 6 – защитно-герметическая дверь; 7 – герметическая дверь; 8 – тамбур.
Входы рекомендуется устраивать в торце сооружений. Это обеспечивает более надёжную передачу нагрузок на продольные стены и покрытие сооружения, обладающего в этом направлении повышенной жёсткостью и устойчивостью. В сооружениях вместимостью до 100 человек и размере входного проёма 60х160 см допускается устройство одного входа. В убежищах большей вместимости предусматривают два входа, желательно с разных сторон. При использовании дверных проёмов 80х180 см допускается устраивать один вход на 200 человек. Планировочные решения входов показаны на рисунке 2. Для линейных убежищ в торце устраивают аварийный выход.
Аварийный выход в убежищах Г-образной формы можно размещать в месте поворота сооружения.
При выборе места для размещения средств воздухоподачи учитывают особенности планировочной схемы. Если сооружение имеет вытянутую форму и два входа (с противоположных концов), то средства воздухоподачи лучше размещать в середине сооружения. При одном входе фильтровентиляционное оборудование следует располагать в противоположном конце от входа. Если сооружение имеет Г-образную форму, оборудование устанавливать на повороте.
Конструктивные решения быстровозводимых убежищ разнообразны и зависят от применяемых материалов и изделий. В качестве ограждающих и несущих элементов используют сборные железобетонные изделия, бетонные блоки, лесоматериалы, металлопрокат, листовую и волнистую сталь, ткани и другие подручные материалы. Лучшим материалом являются сборные железобетонные конструкции в виде плитных, линейных или объёмных изделий. К плитным изделиям относятся: панели, настилы, плиты; к линейным – балки, ригели, колонны, перемычки; к объёмным – замкнутые элементы прямоугольного, круглого или смешанного сечения. В таблице 2 приведена характеристика основных железобетонных элементов, выпускаемых промышленностью, которые могут быть использованы для строительства быстровозводимых убежищ.
Таблица 2. Укрупненная номенклатура и характеристика существующих железобетонных конструкций.
Характеристики
Тип файла документ
Документы такого типа открываются такими программами, как Microsoft Office Word на компьютерах Windows, Apple Pages на компьютерах Mac, Open Office - бесплатная альтернатива на различных платформах, в том числе Linux. Наиболее простым и современным решением будут Google документы, так как открываются онлайн без скачивания прямо в браузере на любой платформе. Существуют российские качественные аналоги, например от Яндекса.
Будьте внимательны на мобильных устройствах, так как там используются упрощённый функционал даже в официальном приложении от Microsoft, поэтому для просмотра скачивайте PDF-версию. А если нужно редактировать файл, то используйте оригинальный файл.
Файлы такого типа обычно разбиты на страницы, а текст может быть форматированным (жирный, курсив, выбор шрифта, таблицы и т.п.), а также в него можно добавлять изображения. Формат идеально подходит для рефератов, докладов и РПЗ курсовых проектов, которые необходимо распечатать. Кстати перед печатью также сохраняйте файл в PDF, так как принтер может начудить со шрифтами.
елезобетон
елезобетон















