144753 (727863)
Текст из файла
МИНИСТЕРСТВО ОБРАЗОВАНИЯ И НАУКИ РФ
БЕЛГОРОДСКИЙ ГОСУДАРСТВЕНЫЙ ТЕХНОЛОГИЧЕСКИЙУНИВЕРСИТЕТ
ИМ. ШУХОВА
Кафедра ТГВ
РЕФЕРАТ
На тему: «Воздушные завесы. Принцип действия. Назначение. Классификация. Воздушные завесы периодического и постоянного действия. Расчёт воздушных завес шиберирующего и смесительного типа»
Выполнил: студент гр. ТВ-42
Нормальный парен
Проверил: Кущев урод
Белгород 2004
Содержание
Введение …………………………………………………………………………….3
Принципы установки воздушных завес……………………………………………5
Принцип работы завес………………………………………………………………7
Расчет воздушных завес…………………………………………………………….9
Пример I расчёта воздушных завес……………………………………………….11
Расчет боковой двусторонней завесы шиберирующего типа…………………..12
Расчет и устройство воздушно-тепловых завес у входных дверей общественных зданий в три и более этажей……………………………………………………….14
Заключение………………………………………………………………………….15
Список литературы………………………………………………………………....17
Введение
С наступлением холодов любой владелец, как маленького павильона, так и большого супермаркета начинает задумываться, как сохранить тепло в своем магазине, т.к. поток посетителей входящих и выходящих не прекращается в течение всего дня и двери практически всегда открыты,
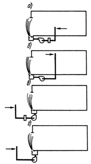
то мерами защиты помещения от проникания холодного наружного воздуха являются тамбуры (а), шлюзы (б), вращающиеся двери (в) (рис. 1).
В тех случаях, когда названные способы по разным причинам неприемлемы, следует устраивать воздушные завесы.
У
Рис. 1. Меры защиты от проникания холодного воздуха:
а- тамбур; б- шлюз; в- вращающиеся двери .
течка теплого воздуха через открытые двери зависит от трех факторов:- Разница давлений внутри и снаружи
- Разница температур внутри и снаружи
- Скорость ветра в дверном проеме
Правильно подобранная тепловая завеса предотвращает утечку теплого воздуха, максимально уменьшая эти факторы.
В теплое время года завесы без источника тепла создают заграждение наружному воздуху в проемах кондиционируемых помещений и холодильных камер.
Теплоносителем в завесе может быть электричество или горячая вода. Устроена завеса очень просто – в металлическом или пластиковом корпусе размещаются электрические тэны (или змеевики из труб в случае водяного теплоносителя) и мощный вентилятор, напор которого должен быть таким, чтобы перекрывать величину дверного проема. Также завеса может комплектоваться пультом управления (встроенным или выносным) и термостатом. [4 стр. 67]
Существуют также завесы без источника тепла предназначены для создания чисто воздушных завес в проемах больших размеров, в промышленных зданиях, депо и ангарах. Кроме того, воздушные завесы без источника тепла – идеальная защита холодильных камер и кондиционируемых помещений.
Завесы без нагревательных элементов могут использоваться для разделения смежных производственных помещений, соединенных открытыми проемами, с различным внутренним климатом.
Наконец, завесы такого типа могут найти применение для ограждения источников вредных выделений (совместно с вытяжкой вентиляцией).
На основе завес без источника тепла можно создавать оригинальное решение экономичной защиты проемов отапливаемого помещения в зимнее время.
ПРИНЦИПЫ УСТАНОВКИ ВОЗДУШНЫХ ЗАВЕС
Воздушные или воздушно-тепловые завесы устанавливают:
1. У ворот, открывающихся чаще 5 раз или не менее чем на 40 мин в смену, расположенных в районах с расчетной температурой наружного воздуха для холодного периода года - 15°С и ниже (параметры Б), если исключена возможность устройства тамбуров или шлюзов.
2. У ворот или технологических проемов при любых наружных температурах и любой продолжительности открывания при соответствующем обосновании.
3. В тамбурах и шлюзах у входных дверей вестибюлей общественных зданий и вспомогательных зданий промышленных предприятий.
4. В тамбурах и шлюзах у входных дверей общественных и производственных зданий и помещений, оборудованных системами кондиционирования воздуха. [2 стр. 153]
Завесы должны обеспечить во время открывания ворот в помещениях температуру на рабочих местах не ниже 14°С при легкой работе, 12°С — при средней и 8°С — при тяжелой работе. При отсутствии вблизи ворот рабочих мест допускается понижение температуры до 5°С, в вестибюлях общественных зданий — до 12°С.
Температуру воздуха завесы, как правило, принимают не выше 50°С. Скорость выхода воздуха из устройств завесы не более 25 м/с (в производственных зданиях).
Типы воздушных завес. Воздушные завесы устраиваются с подачей воздушной (шиберирующей) струи: а) снизу вверх; б) сверху вниз; в) сбоку ворот. По режиму работы завесы делят на периодически и постоянно действующие.
Рис. 2. Схемы воздушных завес с различными местами воздухозабора и температурой подаваемого воздуха
Принцип работы завес. Воздушная завеса — это результат взаимодействия двух потоков: воздушной струи и набегающего на нее горизонтального потока воздуха. Воздушная струя, не препятствуя движению людей и транспорта, как правило, существенно уменьшает количество проникающего в помещение наружного воздуха. При этом воздушная завеса может, быть устроена по месту воздухозабора и температуры подаваемого воздуха (рис.2): а — с забором внутреннего воздуха с температурой tв и подогревом его перед подачей в завесу до tз; б - с забором внутреннего воздуха и подачей его в завесу без подогрева( tз = tв); в — с забором наружного воздуха и подогревом его перед подачей в завесу ( tз > tв); г — с забором, наружного воздуха и подачей его в завесу без подогрева ( tз = tв).
По варианту а устраиваются завесы, если необходимо сохранить неизменными параметры микроклимата производственных помещений, обычно если в последних вблизи ворот расположены рабочие места. По варианту б устраиваются завесы, если допустимо понижение температуры в зоне ворот или при устройстве завес в проемах внутренних стен, разделяющих два помещения.
По варианту в воздушные завесы могут быть использованы, в качестве агрегата приточной вентиляции, в этом случае воздушная завеса может работать постоянно; по варианту г воздушная завеса как бы преграждает полностью доступ наружного воздуха в помещение.
Следует отметить, что воздушные завесы в зависимости от местных условий устраиваются с подачей воздуха, через горизонтальную щель, расположенную внизу проема; с подачей воздуха через горизонтальную щель, расположенную вверху проема; как правило, с боковой подачей воздуха через вертикальные щели по обеим сторонам проема.
При устройстве завесы с боковой подачей воздуха следует обеспечить усиленную подачу воздуха в нижнюю часть проема (в нижнюю треть по высоте ворот). С этой целью нижнюю часть щели следует делать шире верхней. По эффекту действия лучшими являются двусторонние боковые завесы. При их действии не наблюдается уменьшения температуры воздуха в районе ворот в момент прохождения транспорта. [1 стр. 252]
РАСЧЕТ ВОЗДУШНЫХ ЗАВЕС
Воздушную завесу можно рассматривать как плоскую неизотермическую струю, действие которой развивается на границе двух сред: наружного и внутреннего воздуха.
При открывании ворот в открытый проем направляется поток воздуха снаружи. Причинами, вызывающими движение воздуха через ворота, шляются: ветер, разрежение в нижней части здания вследствие различных плотностей внутреннего и наружного воздуха и разрежение в здании вследствие преобладания объема воздуха вытяжной вентиляции над приточной. Слишком большое разрежение вследствие превышения вытяжки над притоком может свести на нет действие воздушной завесы, т. е. в открытые ворота будет поступать воздух наружный в количестве намного больше расчетного. Поэтому при эксплуатации завесы нужно обязательно устранить излишние объемы вытяжного воздуха.
Расчет набегающего потока. Скорость набегающего потока
, (1)
где
р — разность между наружным и внутренним давлениями по обе стороны ворот (наружное давление учитывается как комбинированное действие; трех причин, см. выше).
Однако в расчет удобнее вводить не разность давлений, а геометрическую высоту z, т. е. высоту расположения нейтральной зоны (на которой внутреннее и внешнее давления равны).
Разность давлений на высоте х от пола вычисляется по формуле
, (2)
где
q — разность плотностей внутреннего и наружного воздуха.
Местная скорость высоте х будет
. (3)
При х = 0 скорость будет максимальной:
. (4)
(пограничный слой вблизи пола не учитывается).
Разделив формулу (3) на формулу (4), получим
. (5)
Выражение для скорости vx может быть записано в виде
. (6)
где
t —разность температур внутренней tB и наружной tH. Так как числовое значение радикала
мало меняется с изменением Тв то для 10°С<tB<30°С формулу (6) можно упростить:
. (7)
Тогда максимальная скорость у пола (при х = 0)
. (7')
По формулам (7.) и (7') можно для конкретных условий построить график распределения скоростей (рис. З).
Средняя скорость свободной струи, выходящей из щели завесы,
,
где vo — начальная скорость истечения из щели; b — ширина щели; s — длина струи (вместо х введена длина, так как ось завесы не совпадает с осью х координат); а — коэффициент турбулентной структуры.
Длину s можно выразить через проекцию на координатную ось х формулой
где
— угол наклона струи; h —длина завесы.
Одновременное действие струи и набегающего потока определяется (фиксируется) количеством воздуха LH, пересекающего ось Ох (в пределах проема):
,
— линия тока; В — ширина ворот.
Количество воздуха Lo, выпущенного через щель размером B
b
(b — ширина щели), определяется по формуле
,
где vo - начальная скорость струи.
Характеристика завесы определяется по формуле
,
где LB — расход воздуха через ворота при бездействии вентиляции; Lн — расход наружного воздуха, допускаемого к прорыву в помещение; Lo — расход воздуха на завесу.
Для завес с нижней подачей характеристика завесы следующая:
;
для завес с боковой подачей характеристика завесы
.
Функции
и
определяются графически:
Физический смысл характеристики завесы R: она показывает количество задержанного завесой воздуха, приходящегося на 1 м3 воздуха завесы. Характеристика зависит и от конструктивного оформления завесы.
Величина
= (LB — LH)/LB называется коэффициентом полезного действия завесы.
Методика проектирования и расчёта завес приводится в призере.
Пример I.
Рассчитать воздушную завесу у ворот гаража, выполнимую по схеме с забором внутреннего воздуха и подачей его в завесу без подогрева. Размеры ворот: ширина В = 3,5 м, высота Н = 2,5 м. Расчетные темпер туры наружного tн и внутреннего tB воздуха: tH = -20°С; tB = -10°С.
Решение
Находим скорость врывания воздуха в ворота. Выявление скорости врывания представляет весьма сложную задачу. Лучшим решением можно было бы считать данные экспериментальных наблюдений — замеренные скорости движения воздуха в условиях, аналогичных решаемой задаче; при отсутствии экспериментальных данных можно применить методы расчета аэрации; возможно также применение формулы (7').
Найдем максимальную скорость у пола, принимая высоту расположения нейтральной зоны z =4 м:
Расход наружного воздуха через ворота при бездействии завесы
м3/ч.
Задаемся геометрическими размерами завесы: принимаем ширину щели
b = 0,1 м, угол наклона струи к плоскости ворот
= 30°, при этом коэффициент турбулентной структуры а = 0,2.
По графику рис. 5 при а = 0,2 и
= 30°, если подача воздуха через цель завесы производится снизу,
= 0,41.
При назначении угла начального наклона струи к плоскости ворот следует иметь в виду, что при углах наклона 50° и больше струя налипает на землю и при этом теряется смысл завесы.
Определяем далее характеристику завесы:
Характеристики
Тип файла документ
Документы такого типа открываются такими программами, как Microsoft Office Word на компьютерах Windows, Apple Pages на компьютерах Mac, Open Office - бесплатная альтернатива на различных платформах, в том числе Linux. Наиболее простым и современным решением будут Google документы, так как открываются онлайн без скачивания прямо в браузере на любой платформе. Существуют российские качественные аналоги, например от Яндекса.
Будьте внимательны на мобильных устройствах, так как там используются упрощённый функционал даже в официальном приложении от Microsoft, поэтому для просмотра скачивайте PDF-версию. А если нужно редактировать файл, то используйте оригинальный файл.
Файлы такого типа обычно разбиты на страницы, а текст может быть форматированным (жирный, курсив, выбор шрифта, таблицы и т.п.), а также в него можно добавлять изображения. Формат идеально подходит для рефератов, докладов и РПЗ курсовых проектов, которые необходимо распечатать. Кстати перед печатью также сохраняйте файл в PDF, так как принтер может начудить со шрифтами.
















