143883 (727421)
Текст из файла
Кафедра технологии строительных материалов
Курсовая работа
По дисциплине: ПАТСИ
ТЕМА: Расчет процесса конвективной сушки сыпучего материала в барабанной, вращающейся сушилке.
Задание:
Рассчитать процесс конвективной сушки сыпучего материала в барабанной, вращающейся сушилке при подогреве воздуха продуктами сгорания отопительного газа при следующих условиях:
-
Материал – песок;
-
Производительность сушилки по сухому материалу Gк = 12000 кг/ч;
-
Влагосодержание материала:
а) начальное – Uн = 10%,
б) конечное – Uк = 0,5%;
-
Температура, 0С:
а) атмосферного воздуха – 20 0С,
б) газов на входе в сушилку – 300 0С,
в) газов на выходе из сушилки – 80 0С;
-
Относительная влажность воздуха φ0 = 70%;
-
Атмосферное давление – 105 Па;
-
Теплоемкость материала – 0,8 кДж/кг∙К, плотность – 1200 кг/м3;
-
Напряженность сушилки по влаги – 85 кг/м3∙ч;
-
Средний диаметр частицы материала – 1 мм;
-
Удельные потери тепла в окружающую среду на 1 кг испаренной влаги qп = 22,6 кДж/кг, что соответствует примерно 1% тепла затрачиваемого на испарение 1 кг воды.
-
Перевалочные устройства – подъемнолопастные, степень заполнения – 12%
-
Состав природного газа:
CH4 – 98,0 %,
C2H6 – 1,0 %,
C3H8 – 0,2 %,
C4H10 – 0,3 %,
CО – 0,2 %,
H2 – 0,3 %.
По приведенным данным произвести расчет материального и теплового балансов процесса сушки с помощью диаграммы Рамзина. Произвести расчет габаритов барабанной сушилки. В зависимости от типа материала используются различные перевалочные устройства, зная тип перевалочных устройств можно определить степень заполнения барабана.
Содержание:
Введение…………………………………………………………….…...3
I. Классификация сушилок……………..………………………….……..4
II. Барабанная сушилка ……………………………………………….….5
III. Принципиальная схема барабанной сушилки…..…………….……….6
Глава 1. Расчет параметров топочных газов подаваемых
в сушилку…………………………………………………………..7
Глава 2. Определение параметров отработанных газов,
расхода сушильного агента и расхода тепла на сушку……...….9
Глава 3. Определение основных размеров сушильного барабана……....11
IV. Заключение…………………………………………………………....15
Список литературы…………………………………………...……….16
Введение
Удаление влаги из твердых и пастообразных материалов удешевляет их транспортировку и придает им определенные свойства, а также уменьшению коррозии аппаратуры. Влагу можно удалять механическим способом: отжим, центрифугирование, отстаивание. Однако этими способами влага удаляется частично, более тщательное удаление влаги осуществляется путём тепловой сушки: испарение влаги, удаление паров.
Процесс тепловой сушки может быть естественным и искусственным. Естественная сушка применяется редко. По физической сущности сушка является сложным диффузионным процессом. Его скорость определяется скоростью диффузии влаги из глубинных частей материала к поверхности, а затем в окружающую среду. Удаление влаги при сушке включает не только перенос материала, но и перенос тепла, таким образом является теплообменным и массообменным процессами. По способу подвода тепла к высушиваемому материалу сушку делят:
-
Контактная – путём передачи тепла от теплоносителя к материалу через разделительную стенку;
-
Конвективная – путём непосредственного соприкосновения высушиваемого материала с сушильным агентом. В качестве которого используют: подогретый воздух, топочные газы либо топочные газы с воздухом;
-
Радиационная – путём передачи тепла инфракрасным излучением;
-
Диэлектрическая – в поле токов высокой частоты;
-
Сублимационная – в замороженном состоянии в вакууме.
Высушиваемый материал при любом методе сушки находится в контакте с влажным воздухом или газом. При конвективной сушке влажному воздуху отводится основная роль. Поэтому необходимо чётко представлять какими параметрами описывается воздух.
I. Классификация сушилок.
Сушка материалов, полупродуктов или готовых изделий используется практически на всех стадиях производства строительных материалов, изделий и конструкций.
Для сушки применяют разнообразные сушилки, отличающиеся по ряду признаков которые положены в основу классификации, приведённой ниже:
Таблица №1
| Признак классификации | Типы сушилок |
| 1. Давление в рабочем пространстве. | Атмосферные, вакуумные, под избыточным давлением. |
| 2. Режим работы. | Периодического и непериодического действия. |
| 3. Вид теплоносителя. | Воздушные, на дымовых или инертных газах, на насыщенном или перегретом паре, на жидких теплоносителях. |
| 4. Направление движения теплоносителя относительно материала. | Прямоточные, противоточные, с перекрёстным током, реверсивные. |
| 5. Характер циркуляции теплоносителя. | С естественной и принудительной циркуляцией. |
| 6. Способ нагревания теплоносителя. | С паровыми воздухонагревателями, с топочными устройствами, с электронагревателями, комбинированные. |
| 7. Краткость использования теплоносителя. | Прямоточные или рециркуляционные. |
| 8. Способ удаления влаги из сушилки. | С отходящим теплоносителем, с продувочным воздухом, компенсационные, с химическим поглощением влаги. |
| 9. Способ подвода тепла к материалу. | Конвективные, контактные, с нагревом токами высокой частоты, с лучистым нагревом, с акустически или ультразвуковым нагревом. |
| 10. Вид высушиваемого материала. | Для крупно дисперсных, тонкодисперсных, пылевидных, ленточных, пастообразных, жидких растворов или суспензий. |
| 11.Гидродинамический режим. | С плотным неподвижным слоем, перемешиваемым слоем, взвешаным слоем (псевдосжиженый слой, закрученные потоки), с распылением в потоке теплоносителя. |
| 12. Конструктивный тип сушилки. | Камерные, шахтные, ленточные, барабанные, трубные и т. д. |
II. Барабанная сушилка.
Она представляет собой сварной цилиндр – барабан, на наружной поверхности которого укреплены бандажные опоры, кольца жесткости и приводной зубчатый венец; Ось барабана может быть наклонена к горизонту на 4о - 6о
Барабанные атмосферные сушилки непрерывного действия предназначены для сушки сыпучих материалов топочными газами или нагретым воздухом.
Внутри барабана устанавливают насадки, конструкция которых зависит от свойств высушиваемого материала. Со стороны загрузочной камеры многозапорная винтовая насадка, с числом спиральных лопастей от шести до шестнадцати в зависимости от диаметра барабана. При сушке материала с большой адгезией к поверхности на начальном участке последнего закрепляют цепи, при помощи которых разрушают камки и очищают стенки барабана. Для этой же цели могут применять ударные приспособления, расположенные с внешней стороны барабана.
В сушилках диаметром 1000 – 1600 мм для материала с хорошей сыпучестью и средним размером частиц до 8 мм устанавливают секторную насадку. В тех же сушилках, для материалов, обладающих повышенной адгезией или сыпучих материалов со средним размером частиц более 8 мм устанавливают подъемно – лопастные устройства. В сушилках диаметром 1000 – 3500 мм для материалов склонных к налипанию, но восстанавливающих сыпучие свойства в процессе сушки сначала устанавливают подъемно – лопастные перевалочные устройства, а затем секторные насадки.
Основной материал для изготовления барабанов сушилок, загрузочных и разгрузочных камер – углеродистые стали. В технически обоснованных случаях дополнительное изготовление барабанов, разгрузочных и разгрузочных камер частично или полностью из жаростойких сталей специальных марок.
Барабанные вакуумные сушилки работают, как правило, периодически и их применяют для сушки термочувствительных материалов от воды и органических растворителей, а также для сушки токсичных материалов. В зависимости от свойств материала и требований к готовой продукции применяют сушилки среднего или глубокого вакуума. Вакуумные барабанные сушилки применяют в основном в производстве полимерных материалов.
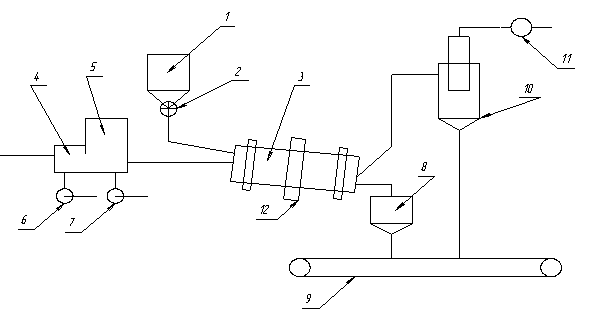
III. Принципиальная схема барабанной сушилки
1 – барабан; 2 – питатель; 3 – сушильный барабан; 4 – топка; 5 – смесительная камера; 6, 7, 11. – вентиляторы; 8 – промежуточный бункер; 9 – транспортёр; 10– циклон; 12 – зубчатая передача.
Влажный материал из бункера 1 с помощью питателя 2 попадает во вращающийся сушильный барабан 3. Параллельно материалу в сушилку подаётся сушильный агент, образующийся от сгорания топлива в топке 4 и смешения газов в смесительной камере 5. Воздух в топку и смесительную камеру подаётся вентиляторами 6,7. Высушеный материал с противоположного конца сушильного барабана 8, а из него на транспортирующее устройство 9.
Отработанный сушильный агент перед выбросом в атмосферу очищается от пыли в циклоне 10. При необходимости производится дополнительное, мокрое пылеулавливание.
Транспортировка сушильного агента через сушильную камеру осуществляется с помощью вентилятора 11. При этом установка находится под небольшим разрежением, что исключает утечку сушильного агента через неплотности упаковки.
Барабан приводится во вращение электродвигателем через зубчатую передачу 12.
Глава 1. Расчет параметров топочных газов подаваемых в сушилку.
В качестве топлива используется природный газ следующего состава (в объемных процентах):
СН4 – 98,0 %
С2Н6 – 1,0 %
С3Н8 – 0,2 %
С4Н10 – 0,3 %
CO – 0,2 %
H2 – 0,3 %
Теоретическое количество сухого газа L0 затрачиваемого на сжигание одного кг топлива равно:
L0 = 138∙(0,0179∙CO + 0,248∙H2 + ∑ [(m+n/4)/(12m+n)]CmHn ), (1)
где составы горючих газов выражены в объемных долях.
Подставив соответствующие значения, получим:
L0 = 138∙(0,0179∙0,002 + 0,248∙0,003 + 0,125∙0,98 + 0,116∙0,01 + 0,1136∙0,002 + +0,1121∙0,003) = 17,25 кг/кг
Для определения теплоты сгорания топлива воспользуемся характеристиками горения простых газов.
Таблица 2
| Газ | Реакция | Тепловой эф – фект реакции, кДж/м3 |
| Водород | Н2 + 0,5О2 = Н2О | 10810 |
| Оксид углерода (11) | СО + 0,5 О2 = СО2 | 12680 |
| Метан | СН4 + 2 О2 = СО2+ 2Н2О | 35741 |
| Ацетилен | С2Н2 +2,5 О2 = 2СО2 + Н2О | 58052 |
| Этилен | С2Н4 + 3 О2= 2СО2+ 2Н2О | 59108 |
| Этан | С2Н6 + 3,5 О2 = 2СО2 + 3Н2О | 63797 |
| Пропан | С3Н8 + 5 О8 = 3СО2 + 4Н2О | 91321 |
| Бутан | С4Н10 + 6.5 O2 = 4CO2+ 5 H2O | 118736 |
| Сероводород | Н2S + 1.5O2 =S2O + H2O | 23401 |
Количество тепла QV, выделяющееся при сжигании 1 м3 газа равно:
Qν = ∑ φi ∙ Hi = 0,98∙35741 + 0,01∙63797 + 0,002∙91321 + 0,003∙118736 + 0,002∙12680 +0,003∙10810= 36260,79 (кДж/кг),
Характеристики
Тип файла документ
Документы такого типа открываются такими программами, как Microsoft Office Word на компьютерах Windows, Apple Pages на компьютерах Mac, Open Office - бесплатная альтернатива на различных платформах, в том числе Linux. Наиболее простым и современным решением будут Google документы, так как открываются онлайн без скачивания прямо в браузере на любой платформе. Существуют российские качественные аналоги, например от Яндекса.
Будьте внимательны на мобильных устройствах, так как там используются упрощённый функционал даже в официальном приложении от Microsoft, поэтому для просмотра скачивайте PDF-версию. А если нужно редактировать файл, то используйте оригинальный файл.
Файлы такого типа обычно разбиты на страницы, а текст может быть форматированным (жирный, курсив, выбор шрифта, таблицы и т.п.), а также в него можно добавлять изображения. Формат идеально подходит для рефератов, докладов и РПЗ курсовых проектов, которые необходимо распечатать. Кстати перед печатью также сохраняйте файл в PDF, так как принтер может начудить со шрифтами.
















