135789 (722630), страница 5
Текст из файла (страница 5)
Таблица 4.2.1
| fпч, кГц | 445 | 455 | 465 | 475 | 480 | |||
| Uвыхчд, В | 6,5 | 5 | 3 | 1 | 0,6 | |||
| fгет, кГц | 4300 | 4360 | 4410 | 4470 | 4480 | |||
| Δ fпч, кГц | -20 | -10 | 0 | 10 | 15 | |||
| Δ fгет, кГц | 110 | 60 | 0 | -60 | -70 |
Таблица 4.2.2 - Характеристики без АПЧ
| fc, кГц | 4711 | 4820 | 4884 | 4950 | 5003 | 5066 | 5266 |
| Uвых, В | 0,15 | 0,5 | 1,1 | 1,5 | 1 | 0,5 | 0,15 |
Таблица 4.2.3 – Характеристики с АПЧ
| fc, кГц | 4720 | 4860 | 4900 | 4950 | 5000 | 5080 | 5450 | |
| Uвых, В | а | 0,15 | 0,5 | 1 | 1,5 | 1 | 0,5 | 0,15 |
| Uвых, В | б | |||||||
5 Безопасность жизнедеятельности
5.1 Создание оптимальных условий труда на участке травления печатных плат
При внедрении модернизированного лабораторного макета в серийное производство, одним из этапов изготовления макета будет травление печатных плат для последующей сборки электронной части лабораторного макета. Рассмотрим условия труда и возможные вредные факторы, которые могут возникнуть при работе на участке по травлению печатных плат.
-
Освещение – недостаточное освещение вызывает уменьшение производительности труда, усиливает утомляемость, увеличивает количество ошибочных действий, могущих привести к браку или несчастному случаю, также может развиться близорукость. Для недопущения возникновения этих факторов на участке по травлению печатных плат применяется комбинированная система – естественное и искусственное освещение .
2. Микроклимат – отклонения отдельных параметров микроклимата от рекомендованных значений снижают работоспособность, ухудшают самочувствие , и могут привести к профессиональным заболеваниям. Так, при низкой температуре воздуха происходит охлаждение организма, что способствует возникновению простудных заболеваний. При высокой температуре возникает перегрев организма, что ведет к повышенному потоотделению и снижению работоспособности. Работник теряет внимание, что может стать причиной несчастного случая. Повышенная влажность воздуха затрудняет испарение влаги с поверхности кожи и легких, что ведет к нарушению терморегуляции организма, и к ухудшению состояния человека и снижению работоспособности. При пониженной относительной влажности у человека появляется ощущение сухости слизистых оболочек верхних дыхательных путей. Скорость движения воздуха также имеет немаловажное значение, при температуре до 35-36о С оказывает на человека освежающее действие, а при температуре более 40 о С – неблагоприятное. По характеру выполняемая на участке работа относится к легкой физической категории 1б (производится сидя, стоя или связана с ходьбой и сопровождается некоторым физическим напряжением). В помещении где производятся работы такой категории, установлены следующие нормированные значения микроклиматических условий:[1]
-
температура воздуха в холодный период года 23-25оС;
-
относительная влажность 40-60%;
-
температура воздуха в теплый период года 22-24оС;
-
скорость движения воздуха не более 0,2 м/с.
-
Выделения вредных веществ – при работе на участке травления печатных плат выделяется большое количество вредных веществ. Травление происходит в растворе соляной кислоты,. температура раствора составляет 60-70 оС. При этом выделяются хлорид меди CuCl2, водород H2, возможно выделение хлора Cl2. Водород при смешивании с атмосферным кислородом образует взрывоопасную смесь. Хлор относится ко второму классу опасности (высокоопасные вещества), его нормированная предельно допустимая концентрация в воздухе рабочей зоны составляет 1 мг/м3 [1]. Он может вызвать тяжелые отравления со смертельным исходом. Для защиты от воздействия на человека вредных веществ необходимо применение не только общей, но и местной вентиляции.
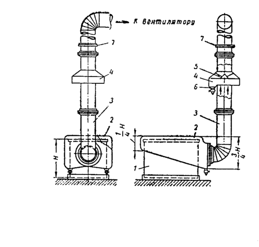
Для эффективного отвода загрязненного воздуха от участка по травлению печатных плат применим двубортовые отсосы, расположенные около каждой из четырех ванн для травления печатных плат. Ванны имеют одинаковые размеры 500Х200 мм. Схема двубортового отсоса приведена на рисунке 5.1.1. Количество воздуха L (м3/час), удаляемого одним двубортовым отсосом, определяется по формуле:[8]
L=1400(0,53Bl2/(B+l2)+H)1/3Bl2k1k2kΔT,
где B – расчетная ширина ванны, м;
l2 – длина ванны, м;
H – расстояние от зеркала электролита до оси щели, м (по конструктивным соображениям принимаем 100 мм);
k1 - коэффициент учета конструкции отсоса, принимаемый равным 1 для двубортового отсоса;
k2 – коэффициент учета токсичности выделяющихся вредных веществ, принимается равным 1,25;
Рисунок 5.1.1 - Схема двустороннего бортового отсоса:
1 – корпус ванны; 2 – кожух бортового отсоса: 3 – вытяжной воздуховод; 4 – сборник для улавливания раствора; 5 – конус в сборнике; 6 – удале-ние конденсата: 7 – заслонка.
kΔT - коэффициент учета температуры электролита, при разности температур электролита и окружающего воздуха в 50о С принимается равным 1.79.
Окончательно, имеем:
L=1400*(0,53*0,5*0,2/(0,5+0,2)+0,1)1/3*0,5*0,2*1,79*1,25*1= 175 м3/ч
Общее количество удаляемого воздуха, м3/ч,равно
Lобщ=L*n
где n – количество двубортовых отсосов.
Lобщ=175*8=1400 м3/ч
В качестве вентилятора, удаляющего такой объем воздуха, можно применить вентилятор марки К315L фирмы «VENTRADE» (адрес в глобальной сети ИНТЕРНЕТ: http://www.aha.ru/~ventrade), имеющий следующие техничес-кие характеристики:
Потребляемая мощность, Вт 319
Поток, м3/ч 1660
Частота вращения, об/мин 2645
Звуковое давление, dB(А) 46
Вес, кг 5
Меры безопасности при работе с ваннами для травления печатных плат и травильными растворами:
-
вентиляция в цехе включается до начала работ, а выключается только после их окончания;
-
категорически запрещается работа с неисправной вентиляцией, так как в этом случае выделяемый хлор может вызвать отравление людей, а водород создает с атмосферным кислородом взрывоопасную смесь;
-
все работы производятся в резиновых перчатках и стеклянных очках во избежание попадания травильного раствора на кожу и в глаза;
-
в случае попадания раствора в глаза или на кожу, поврежденные участки тела необходимо промыть водой в течение 15-20 минут и обратиться к врачу;
-
емкости с травильным раствором хранятся в плотно закупоренных емкостях в местах, исключающих их возможное повреждение;
-
все работники обязаны знать технику безопасности и меры оказания первой помощи пострадавшим при отравлениях хлором и другими химическими веществами, а также при поражении электрическим током.
5.2 Защита окружающей среды от выбросов вредных веществ
Как уже сказано выше, при работе участка выделяются вредные вещества: водород, хлорид меди, пары соляной кислоты. Также возможно выделение хлора. Соляная кислота и хлор относятся к классу высокоопасных химических веществ. Они оказывают раздражающее воздействие на слизистые оболочки, поверхность кожи и органы дыхания. В сточных водах присутствуют хлорид меди, соляная кислота. Попадание этих веществ в водоемы изменяет уровень кислотности рН, что влечет за собой изменение биологического равновесия и может привести к гибели живых организмов. Поэтому прямой сброс сточных вод в канализацию недопустим.
Для очистки сточных вод участка по травлению печатных плат от солей меди и соляной кислоты применим ионообменный метод очистки. Этот метод позволяет обеспечить высокую эффективность очистки , а также получать выделенные из сточной воды металлы в виде относительно чистых концентрированных солей.
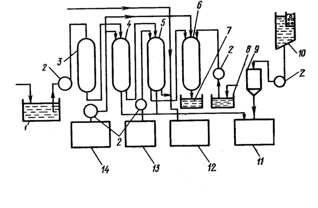
Для ионообменной очистки сточных вод используют синтетические ионообменные смолы. На рисунке 5.2.1 представлена схема ионообменной очистки сточных вод ванн травления от соединений меди. Сточные воды поступают в приемный резервуар 1, откуда насосом 2 подаются в фильтр 3 для очистки от механических примесей. Очищенная от механических примесей сточная вода поступает в последовательно расположенные анионитовые фильтры 4 и 5, заполненные ионообменной смолой в ОН-форме. Очищенная таким образом сточная вода вновь подается в ванну омеднения 12. Вспомогательный катионитовый фильтр 6 предназначен для дополнительной обработки сточной воды в пусковой период. В бак 7 поступают выделенные соединения меди. Бак 8 предназначен для сбора отработанного раствора. Емкости 13 – со щелочью и 14 – с кислотой предназначены для промывки фильтров. Промывной раствор нейтрализуется в баке 11, куда через дозатор 9 одновременно подается необходимое для нейтрализации количество извести из бака 10. Данная схема позволяет задерживать до 95% солей металлов, образующихся при работе участка по производству печатных плат.
Рисунок 5.2.1 Схема ионообменной очистки сточных вод ванн травления
5.3 Меры электробезопасности
Помещение производственного участка по травлению печатных плат химическим методом – относится к особо опасному помещению, так как в нем:
-
Присутствует активная химическая среда (хлорное железо, соляная кислота), которая способна вызвать разрушение изоляции и уменьшение ее сопротивления.
-
Возможно прикосновение человека к имеющим соединение с землей металлоконструкциям здания ( батареям центрального отопления и др.), технологическим аппаратам, механизмам с одной стороны, и к металлическим корпусам электрооборудования, находящегося под напряжением;
-
Имеется бетонный пол, который при определенных условиях может стать электропроводящим (повышенная влажность и др.);
По характеру окружающей среды помещение относится к классу помещений с активной химической средой.















