ref15 (722412)
Текст из файла
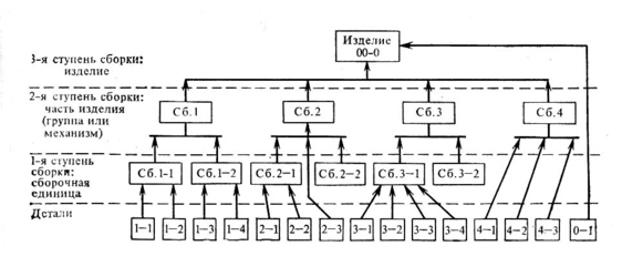
Приложения
Р
ис. 3. Схема сборки веерного типа
Р
ис. 4. Схема сборки с базовой деталью
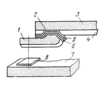
Р
ис. 5. Схема сборки (а) и разрез ИС (б) в круглом корпусе:
1балон; 2соединительные проводники; 3кристалл; 4контактные площадки; 5припой; 6колпачёк ножки; 7стекло; 8выводы; 9спай выводов со стеклом; 10соединение электроконтактной сваркой баллона и ножки; 11металлизационный слой (шина)
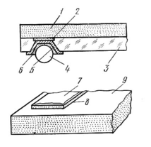
Рис. 6. Схема соединения (сборки) кристалла с шариковыми выводами и подложки пайкой:
1
кристалл; 2контактная площадка; 3стекло; 4шарик медный; 5медная подушка; 6припой (высокотемпературный); 7припой (низкотемпературный); 8вывод из сплава AgPb; 9подложка.
Рис. 7. Схема соединения (сборки) кристалла с балочными выводами и подложки пайкой:
1золотой балочный вывод; 2силицид пластины; 3кристалл; 4нитрид кремния; 5платина; 6титан; 7подложка; 8золотая контактная площадка.
Рис. 8. Схема линии сборки интегральных схем
На линии сборки используют трансферные ленты. Сборка и транспортировка осуществляются на коваровой ленте, которую на участках Л и Б подвергают фотолитографии для получения выводов 2 (рис. 10, а). На участках В, Г и Д на базе ленты с выводными рамками изготавливают корпуса приборов с золочеными выводами. Отрезки ленты с корпусами поступают на сборку. Лента 2, сматываясь с катушки 1, подвергается промывке и обезжириванию в ванне 3 и нанесению фоторезиста в ванне 4, экспонированию в установке 5 с помощью ультрафиолетовой лампы 7. Роль маски в установке выполняет непрерывно движущаяся синхронно с лентой 2 лента 6. Затем ленты промывают в ваннах 8 и 9. Выводы рамки 2 (рис. 10, а) и перфорационные отверстия вытравливают в ванне 10. Слой фоторезиста удаляют в ванне 11, и на выходе ленту сушат. Полученные перфорационные отверстия используют для натяжения и перемещения ленты с помощью звездочки 12. В установке 13 на коваровую ленту с выводами приклеивают с двух сторон трансферную ленту со слоем припоечного стекла. Полученная система обжигается, адгезивный слой выгорает, а стекло спаивается с металлом основной ленты (рис. 10, б). Охлаждение до комнатной температуры производят в камере 14. С помощью устройства 15 на стеклянные слои приклеивают маскирующие ленты с окнами, через которые в ванне 16 осуществляют вытравливание полостей до обнаружения внутренних выводов (рис. 10, е).
П
олученные таким образом из металлической и стеклянных лент корпусные блоки подают в ванну 17 для золочения выводов. На устройстве 18 лента режется на отрезки с корпусами, которые по конвейеру 19 подаются на сборку. Кристалл с готовыми структурами методом перевернутого монтажа лицевой стороной вниз с помощью шариковых выступов присоединяют к системе выводов внутри полученного корпуса (рис. 10, г). Герметизацию корпуса в защитной среде производят отрезками коваровой ленты 7, которые припаивают к основанию с помощью стекла, нагреваемого инструментом (рис. 10, д). Полученная микросхема представлена на рис. 10, е
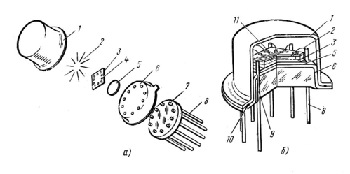
Рис. 9. Трансферная лента:
1несущий слой; 2трансферный слой; 3адгезивный слой; 4антиадгезивная бумага
Р
ис. 10. Схема автоматизированной сборки ИС на ленте:
1лента-носитель; 2 выводы (после травления); 3 перфорация для перемещения ленты; 4стеклянная лента-припой; 5полость корпуса ИС; 6кристалл с готовыми структурами; 7 корпус; 8крышка; 9нагревательный инструмент
Характеристики
Тип файла документ
Документы такого типа открываются такими программами, как Microsoft Office Word на компьютерах Windows, Apple Pages на компьютерах Mac, Open Office - бесплатная альтернатива на различных платформах, в том числе Linux. Наиболее простым и современным решением будут Google документы, так как открываются онлайн без скачивания прямо в браузере на любой платформе. Существуют российские качественные аналоги, например от Яндекса.
Будьте внимательны на мобильных устройствах, так как там используются упрощённый функционал даже в официальном приложении от Microsoft, поэтому для просмотра скачивайте PDF-версию. А если нужно редактировать файл, то используйте оригинальный файл.
Файлы такого типа обычно разбиты на страницы, а текст может быть форматированным (жирный, курсив, выбор шрифта, таблицы и т.п.), а также в него можно добавлять изображения. Формат идеально подходит для рефератов, докладов и РПЗ курсовых проектов, которые необходимо распечатать. Кстати перед печатью также сохраняйте файл в PDF, так как принтер может начудить со шрифтами.














