anten_amplif (721892)
Текст из файла
Министерство общего и профессионального образования
Российской Федерации
ТОМСКИЙ ГОСУДАРСТВЕННЫЙ УНИВЕРСИТЕТ СИСТЕМ УПРАВЛЕНИЯ И РАДИОЭЛЕКТРОНИКИ
(ТУСУР)
Кафедра радиоэлектроники и защиты информации (РЗИ)
Антенный усилитель с подъёмом АЧХ.
Пояснительная записка к курсовому
проекту по дисциплине «Схемотехника аналоговых электронных устройств»
Выполнил
студент гр.148-3
______Размолодин Д.Б.
Проверил
преподаватель каф. РЗИ
______Титов А.А.
2001
Содержание
1.Введение..........................................................................................3
2.Техническое задание......................................................................4
3.Расчётная часть…...........................................................................5
3.1 Структурная схема усилителя...........................................…..5
3.2 Распределение линейных искажений в области ВЧ ........….5
3.3 Расчёт выходного каскада……………………………............5
3.3.1 Выбор рабочей точки..................................................5
3.3.2 Выбор транзистора......................................................6
3.3.3 Расчёт эквивалентной схемы
транзистора…………………………………...............7
3.3.4 Расчёт цепей термостабилизации……………...........9
3.4 Расчёт входного каскада
по постоянному току.……………………………….............14
3.4.1 Выбор рабочей точки……………………….............14
3.4.2 Выбор транзистора………………………….............15
3.4.3 Расчёт эквивалентной схемы
транзистора………………………………….............15
3.4.4 Расчёт цепей термостабилизации.…………............16
3.5 Расчёт корректирующих цепей……………………..............17
3.5.1 Выходная корректирующая цепь………….............17
3.5.2 Расчёт межкаскадной КЦ……………………..........18
3.5.3 Расчёт входной КЦ …………………………............21
3.6 Расчёт разделительных и блокировочных ёмкостей……………………………………………...............23
4 Заключение…………………………………………….…………26
Литература
1.Введение
В данной курсовой работе требуется рассчитать антенный усилитель с подъёмом амплитудно-частотной характеристики. Необходимость усиливать сигнал, принимаемый антенной, возникает из-за того, что достаточно велики потери в кабеле, связывающем антенну и приёмное устройство. К тому же потери значительно возрастают с ростом частоты.
Для того, чтобы компенсировать эти потери сигнал после приёма предварительно усиливают, а затем направляют в приёмный тракт. При этом усилитель должен иметь подъём АЧХ в области высоких частот. В данной работе требовалось обеспечить подъём равный 6дБ на октаву.
При проектировании любого усилителя основной трудностью является обеспечение заданного усиления в рабочей полосе частот. В данном случае полоса частот составляет 400-800 МГц. С учётом того, что усилительные свойства транзисторов значительно ухудшаются с ростом частоты, то разработка устройства с подъёмом АЧХ на таких частотах является непростой задачей.
Наиболее эффективным представляется использование в данном случае межкаскадных корректирующих цепей 4-го порядка. Такая цепь позволяет делать коэффициент усиления с подъёмом до 6 дБ в полосе частот от 0 до fв, что очень важно для данного устройства. Использование этих корректирующих цепей даёт возможность брать транзисторы с граничной частотой
, т.е. менее дорогостоящие, без ухудшения параметров всего усилителя.
2. Техническое задание
Усилитель должен отвечать следующим требованиям:
-
Рабочая полоса частот: 400-800 МГц
-
Линейные искажения
в области нижних частот не более 3 дБ
в области верхних частот не более 3 дБ
-
Коэффициент усиления 25 дБ с подъёмом области верхних частот 6 дБ
-
Амплитуда выходного напряжения Uвых=2.5 В
-
Диапазон рабочих температур: от +10 до +60 градусов Цельсия
-
Сопротивление источника сигнала и нагрузки Rг=Rн=50 Ом
3. Расчётная часть
3.1 Структурная схема усилителя.
Учитывая то, что каскад с общим эмиттером позволяет получать усиление до 20 дБ, оптимальное число каскадов данного усилителя равно двум. Предварительно распределим на каждый каскад по 15 дБ. Таким образом, коэффициент передачи устройства составит 30 дБ, из которых 25 дБ требуемые по заданию, а 5 дБ будут являться запасом усиления.
Структурная схема, представленная на рисунке 3.1, содержит кроме усилительных каскадов корректирующие цепи, источник сигнала и нагрузку.
3.2 Распределение линейных искажений в
области ВЧ
Расчёт усилителя будем проводить исходя из того, что искажения распределены следующим образом: выходная КЦ–1 дБ, выходной каскад с межкаскадной КЦ–1.5 дБ, входной каскад со входной КЦ–0.5 дБ. Таким образом, максимальная неравномерность АЧХ усилителя не превысит 3 дБ.
-
Расчёт выходного каскада
3.3.1 Выбор рабочей точки
Координаты рабочей точки можно приближённо рассчитать по следующим формулам [1]:
где
– начальное напряжение нелинейного участка выходных
Так как в выбранной мной схеме выходного каскада сопротивление коллектора отсутствует, то
. Рассчитывая по формулам 3.3.1 и 3.3.3, получаем следующие координаты рабочей точки:
Найдём мощность, рассеиваемую на коллекторе
мВт.
3.3.2 Выбор транзистора
Выбор транзистора осуществляется с учётом следующих предельных параметров:
-
граничной частоты усиления транзистора по току в схеме с ОЭ
-
предельно допустимого напряжения коллектор-эмиттер
-
предельно допустимого тока коллектора
-
предельной мощности, рассеиваемой на коллекторе
Этим требованиям полностью соответствует транзистор КТ996Б-2. Его основные технические характеристики приведены ниже.
Электрические параметры:
Предельные эксплуатационные данные:
Нагрузочные прямые по переменному и постоянному току для выходного каскада представлены на рисунке 3.2. Напряжение питания выбрано равным 10В.
Рисунок 3.2
3.3.3 Расчёт эквивалентной схемы транзистора
Поскольку рабочие частоты усилителя заметно больше частоты
, то из эквивалентной схемы можно исключить входную ёмкость, так как она не влияет на характер входного сопротивления транзистора. Индуктивность же выводов транзистора напротив оказывает существенное влияние и потому должна быть включена в модель. Эквивалентная высокочастотная модель представлена на рисунке 3.3. Описание такой модели можно найти в [2].
Рисунок 3.3
Параметры эквивалентной схемы рассчитываются по приведённым ниже формулам.
Входная индуктивность:
где
–индуктивности выводов базы и эмиттера.
Входное сопротивление:
где
, причём
,
и
– справочные данные.
Крутизна транзистора:
Выходное сопротивление:
Выходная ёмкость:
В соответствие с этими формулами получаем следующие значения элементов эквивалентной схемы:
3.3.4 Расчёт цепей термостабилизации
Существует несколько вариантов схем термостабилизации. Их использование зависит от мощности каскада и от того, насколько жёсткие требования к термостабильности. В данной работе рассмотрены три схемы термостабилизации: пассивная коллекторная, активная коллекторная и эмиттерная.
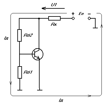
3.3.4.1 Пассивная коллекторная термостабилизация
Данный вид термостабилизации (схема представлена на рисунке 3.4) используется на малых мощностях и менее эффективен, чем две другие, потому что напряжение отрицательной обратной связи, регулирующее ток через транзистор подаётся на базу через базовый делитель.
Рисунок 3.4
Расчёт, подробно описанный в [3], заключается в следующем: выбираем напряжение
(в данном случае
В) и ток делителя
(в данном случае
, где
– ток базы), затем находим элементы схемы по формулам:
Характеристики
Тип файла документ
Документы такого типа открываются такими программами, как Microsoft Office Word на компьютерах Windows, Apple Pages на компьютерах Mac, Open Office - бесплатная альтернатива на различных платформах, в том числе Linux. Наиболее простым и современным решением будут Google документы, так как открываются онлайн без скачивания прямо в браузере на любой платформе. Существуют российские качественные аналоги, например от Яндекса.
Будьте внимательны на мобильных устройствах, так как там используются упрощённый функционал даже в официальном приложении от Microsoft, поэтому для просмотра скачивайте PDF-версию. А если нужно редактировать файл, то используйте оригинальный файл.
Файлы такого типа обычно разбиты на страницы, а текст может быть форматированным (жирный, курсив, выбор шрифта, таблицы и т.п.), а также в него можно добавлять изображения. Формат идеально подходит для рефератов, докладов и РПЗ курсовых проектов, которые необходимо распечатать. Кстати перед печатью также сохраняйте файл в PDF, так как принтер может начудить со шрифтами.















