126272 (717745)
Текст из файла
ЗМІСТ
Вступ
1. Визначення релаксаційних характеристик гум
1.1. Визначення характеристик хімічної і фізичної релаксації напруження у гумах
1.2. Визначення дискретних спектрів тривалості релаксації за тривалістю спостереження
2. Визначення якості приготування гумових сумішей
2.1. Визначення ступеню диспергування технічного вуглецю у гумових сумішах
2.2. Визначення рівномірності змішування за кільцевим модулем гумових сумішей
3. Порівняльна характеристика контролю пластичних мас та еластомерів
3.1. Порівняння методів визначення механічних властивостей пластичних мас та еластомерів
3.2. Порівняння пластоеластичних властивостей пластмас та еластомерів
Література
Вступ
Тема реферату з дисципліни «Контроль якості полімерних матеріалів» - «Визначення релаксаційних характеристик гум. Визначення якості приготування гумових сумішей. Порівняльна характеристика контролю пластичних мас та еластомерів».
Дисципліна «Контроль якості полімерних матеріалів» дає знання про те, якими методами оцінюють якість матеріалів, з яких виготовляють полімерні вироби. Властивості полімерних матеріалів визначають і якість виробів і терміни їх експлуатації. Дисципліна знайомить студента з методами контролю якості пластмас і еластомерів, принципами і суттю цих методів, особливостями контролю того чи іншого матеріалу, а також з розрахунками кількісних показників якості. Матеріал дисципліни базується на вивченні студентами хімії і фізики полімерів, прикладної механіки. Після вивчення цієї дисципліни студент повинен знати основні методи контролю якості полімерних матеріалів; принципи, що закладено до визначення властивостей полімерних матеріалів за цими методами; особливості полімерних матеріалів, які треба ураховувати за контролю їхньої якості; умови здійснення того чи іншого методу контролю; значення конкретної кількості зразків, необхідної для визначення властивостей полімерних матеріалів за тим чи іншим методом випробування; зв’язок властивостей полімерного матеріалу та виробу, для виготовлення якого цей матеріал застосовується. Студент повинен вміти, мати навички запропонувати необхідний метод для визначення потрібних для даного випадку властивостей полімерного матеріалу; відрізняти методи визначення властивостей пластичних мас і еластомерів; забезпечити умови здійснення методу для визначення необхідних властивостей; виконати розрахунки достовірних значень необхідної властивості конкретного матеріалу; відбракувати зразки, що не можуть бути ураховані у розрахунках кількісної характеристики того чи іншого показника.
1. Визначення релаксаційних характеристик гум
1.1 Визначення характеристик хімічної і фізичної релаксації напруження у гумах
гумова суміш пластична маса еластомер
Під релаксаційними властивостями гум розуміють залежність механічних властивостей гуми від тривалості або швидкості навантаження. Розрізняють два види релаксаційних процесів: релаксація напруження та релаксація деформації. Релаксація напруження – це процес встановлення рівноваги між напруженням та деформацією, який характеризується зменшенням напруження та постійним значення деформації протягом випробування. Процес зменшення деформації під дією постійного навантаження називається релаксацією деформації або повзучістю. Релаксаційні процеси можна спостерігати лише тоді, коли їх швидкість можна порівняти з швидкістю механічного навантаження. За підвищення температури релаксація прискорюється, за зниження – уповільнюється. За швидкістю перебігу структурних змін процес релаксації наповнених гум умовно можна розділити на три стадії: фізична релаксація з тривалістю перегрупування структурних елементів 10-4 – 104 с, релаксація наповнених технічним вуглецем структур з тривалістю релаксації 105–106 с, релаксація поперекових зв’язків і ланцюгів з тривалістю 107–109 с (хімічна релаксація). Час, що необхідний для здійснення перегрупувань, тим більший, чим більша енергія взаємодії та чим менша інтенсивність теплового руху, тобто чим менша температура. Звичайно в умовах експлуатації гумових виробів або випробувань гум за достатньо тривалої дії навантаження перебігають всі ці процеси. Але в певних умовах можна виділити той чи інший переважний вид релаксації. Звичайно розрізняють фізичну та хімічну релаксацію. Фізична релаксація перебігає переважно за відносно малої тривалості дії, невисокої температури та бажано в умовах інертних середовищ. Хімічна релаксація перебігає переважно за тривалої дії навантаження, підвищених температур (вище за 100 ºС) та в активних середовищах. Визначення характеристик фізичної та хімічної релаксації проводиться одночасно та вміщує визначення залежності напруження від тривалості знаходження зразка в деформованому стані на приладі релаксометрі. За визначення фізичної релаксації випробування здійснюють за температури 23±2 ºС. Тривалість дії механічного напруження повинна бути достатньою для досягнення рівноважного стану (не менше за 3 години). За хімічної релаксації попередньо створити умови, достатні для перебігу деструктивних процесів. Тривалість випробування може складати до 20 годин. За прямолінійною ділянкою залежності напруження – деформація визначають швидкість релаксації.
1.2.Визначення дискретних спектрів тривалості релаксації за тривалістю спостереження
Визначення дискретних спектрів тривалості релаксації за великої тривалості спостереження проводять на розривній машині. Випробуванню підлягають кільцеві зразки з внутрішнім діаметром 44,6±0,2 мм та зовнішнім 52,6±0,2 мм. Товщина зразків повинна складати від 4 до 6 мм. Зразки вирубають з вулканізованих платин певної товщини спеціальними циліндричними штанцевими ножами. Припускається виготовлення зразків а прес-формах. Кількість зразків – не менше 2. Підготований зразок надівають на ролики розривної машини та розтягують його на 100 або 200 % за швидкості пересування нижнього затиску 300 мм за хвилину. Фіксують максимальні навантаження та подовження. Протягом випробування здійснюється безперервний автоматичний запис кривої релаксації напруження.
2.Визначення якості приготування гумових сумішей
2.1.Визначення ступеню диспергування технічного вуглецю у гумових сумішах
Більшість гумових сумішей вміщують достатньо велику кількість технічного вуглецю, який є активним наповнювачем. Якість гумових сумішей значно залежить від рівномірності розподілу наповнювача в суміші. Погане розмішування веде до неоднорідної структури, появи дефектів, напружених місць та передчасного руйнування виробу. Метод визначення ступеню диспергування технічного вуглецю ґрунтується на вимірюванні діаметрів агломератів технічного вуглецю, визначенні середньої величини розміру частинок та відношенні площини агломератів до площини зразка. Діаметр агломератів вимірюють окулярмікрометром, а площину ділянки, що розглядається, - мікрометричною сіткою. Досліджують звичайно 25–30 полів зразка, для приготування яких необхідно зробити 30–50 серій зрізів. З кожної серії вибирають одно або два поля, де агломерати мають найбільший діаметр.
Ступінь диспергування технічного вуглецю розраховують за формулою:
, %,
де А – площина, що зайнята агломератами технічного вуглецю, які не дисперговані в гумовій суміші; розраховується за а формулою:
,
де ni –кількість агломератів, що не дисперговані;
di – діаметр i-того агломерату недиспергованого технічного вуглецю даного розміру;
S0 – площина поля спостереження;
k – середня об’ємна фракція технічного вуглецю в агломератах; приймається k ≈ 0,4);
f1 та f2 – емпіричні коефіцієнти, які ураховують збільшення поверхні з рахунок набухання та розплющування каучукової матриці агломератів технічного вуглецю (f1 = 4; f2 = 2);
α – об’ємне наповнення суміші технічним вуглецем (α = 0,18).
2.2 Визначення рівномірності змішування за кільцевим модулем гумових сумішей
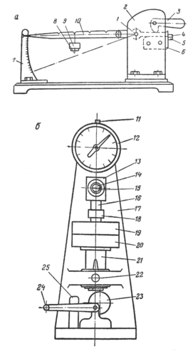
Кільцевий модуль характеризує розтяжність (податливість) гумового зразка. Даним показником оцінюють ступінь жорсткості при міжопераційному експрес-контролі рівномірності змішування гумових сумішей. Випробування вміщує розтягування вулканізованого зразка під дією певного вантажу на приладах стандартної конструкції (рис. 1).
Рис. 1. Прилад для визначення кільцевого модулю гум
1 – вісь; 2 –стійка; 3 –аретир; 4,5 – виступи; 6 – утримувач; 7- шкала;
8 – підвіски; 9 – вантаж; 10 –важіль.
Зразками для випробування є кільця товщиною 4±0,1 мм з зовнішнім діаметром 18±0,2 мм та внутрішнім діаметром 10±0,2 мм. Зразки вулканізують в спеціальних прес-формах, після чого охолоджують проточною водою з температурою 18–20 ºС не менше 10 хвилин.
Зразок надівають на зімкнуті циліндричні виступи таким чином, щоб він щільно приліг до утримувача. На зразок дають навантаження розтягу та утримують його в розтягнутому стані протягом 3 с, після чого відзначають модулю за шкалою приладу.
За кільцевим модулем можна визначати якість та ступінь вулканізації. Для цього треба знати нормативні показники для даної гуми і шляхом порівняння нормативних та експериментально знайдених значень кільцевого модулю можна дати оцінку процесу вулканізації.
3. Порівняльна характеристика контролю пластичних мас та еластомерів
3.1 Порівняння методів визначення механічних властивостей пластичних мас та еластомерів.
Полімерні матеріали для виготовлення виробів вміщують пластики та гуми, які, в свою чергу, готуються з полімерних композицій та формуються у вироби різними методами. Механічні властивості виробів визначаються хімічною будовою полімеру та складом полімерної композиції. Якщо пластмас можуть перероблюватись в вироби і без подальшого зшивання в тримірну сітку (термопласти), то гума завжди є тільки тримірним матеріалом, хоча і з невеликим ступенем зшивання. Тому механічні властивості пластиків та еластомерів відрізняється не тільки між цими двома класами, але і в межах одного і того ж класу. Методи визначення механічних властивостей за своїми засадами та принципом дії майже однакові, але є великі розбіжності через різне відношення до деформації. Це залежить від кількох факторів: фізичного стану, в якому знаходяться той чи інший полімер, наявності чи відсутності хімічної сітки між ланцюгами, наявності пластифікаторів та інших модифікаторів тощо. Пластмаси експлуатуються в склоподібному стані, для якого характерні вимушені еластичні деформації, які є невеликими і призводять до холодної текучості за розтягу. Навіть за високої гнучкості ланцюгів полярна або регулярна будова пластиків зумовлює дуже високу міжмолекулярну взаємодію та низьку деформацію пластмас. Еластомери експлуатуються у власно високоеластичному стані і мають подовження за розтягу , яке перевищує декілька сотень відсотків. Крім того, відмінністю еластомерів є постійний об’єм за деформування, що і визначає високі ущільнюючі властивості гуми. Тому відмінності таких властивостей ведуть до того, що прилади, придатні для контролю пластиків, не можна використовувати для контролю еластомерів і навпаки.
3.2 Порівняння пластоеластичних властивостей пластмас та еластомерів
Пластмаси та еластомери відносяться до одного класу речовин – високомолекулярних речовин з ланками, які повторюються в макромолекулярному ланцюзі, тобто полімерів. При цьому є багато розбіжностей в їх властивостей, які зумовлені хімічною будовою їх ланцюгів. Еластомери побудовані з ланцюгів неполярної природи і тому характеризуються малою міжмолекулярною взаємодією між ланцюгами. Обертання навкруги одинарних зв’язків карбонового ланцюга відбувається легко, тому макромолекули легко змінюють свою конформацію та виявляють велику гнучкість Така висока гнучкість ще підсилюється наявністю в більшості еластомерів подвійного зв’язку, який зміщує до себе електронну густину та полегшує обертання ланцюга. Такі відмінності відокремлюють еластомери від пластиків. Для останніх не існує поняття пластоеластичних властивостей, бо вони не відновлюють своїх розмірів та форми після зняття навантаження. Пластичність пластмас реалізується за підвищених температур, коли відбувається перехід з склоподібного стану до високоеластичного, і матеріал пом’якшується. Ця пластичність не є характерною і швидко зникає за зниження температури до кімнатної, бо стан, в якому експлуатуються пластики, є склоподібним. Цей стан характеризується відсутністю рухомості макромолекул, в ньому можуть тільки відбуватись коливання атомів навкруги центрів тяжіння. В еластомерах власної енергії достатньо для того, щоб постійно відбувались рухи атомів, ланок та ланцюгів в цілому. Тому пластоеластичні властивості є такими, що притаманні тільки еластомерам і визначають їх унікальність серед усіх речовин, які існують.
Література
-
Механические свойства полимеров и полимерных композиций. –М. : Химия, 1978. – 319 с.
-
Григорьев А.П., Федотова О.Я. Лабораторный практикум по технологии пластических масс. – М.: Высшая школа, 1977. - 264 с.
-
Берштейн Л.А. Лабораторный практикум по технологии резины. - Л.: Химия, 1989. - 248 с.
-
Федюкин Д.Л., Махлис Ф.А. Технические и технологические свойства резины.- М.: Химия, 1985. - 240 с.
-
Захаров Н.Д. Лабораторный практикум по технологии резины. - М.: Химия, 1988. - с. 180-181.
Размещено на http://www.allbest.ru/
Характеристики
Тип файла документ
Документы такого типа открываются такими программами, как Microsoft Office Word на компьютерах Windows, Apple Pages на компьютерах Mac, Open Office - бесплатная альтернатива на различных платформах, в том числе Linux. Наиболее простым и современным решением будут Google документы, так как открываются онлайн без скачивания прямо в браузере на любой платформе. Существуют российские качественные аналоги, например от Яндекса.
Будьте внимательны на мобильных устройствах, так как там используются упрощённый функционал даже в официальном приложении от Microsoft, поэтому для просмотра скачивайте PDF-версию. А если нужно редактировать файл, то используйте оригинальный файл.
Файлы такого типа обычно разбиты на страницы, а текст может быть форматированным (жирный, курсив, выбор шрифта, таблицы и т.п.), а также в него можно добавлять изображения. Формат идеально подходит для рефератов, докладов и РПЗ курсовых проектов, которые необходимо распечатать. Кстати перед печатью также сохраняйте файл в PDF, так как принтер может начудить со шрифтами.















