125316 (717569), страница 5
Текст из файла (страница 5)
Затем разводку бактерий передают в производственный аппарат. заполненный суслом из расчета 5-6 дм3 на 1000 дал. Одновременно туда подают культуру дрожжей, приготовленную, как описано выше.
Бутыль на 20 дм3 после каждого отъема закваски доливают прокипяченным 8%-ным суслом до первоначального объема. Через 6-7 сут разводку обновляют.
Разведение прессованных хлебопекарных дрожжей. Дрожжи из расчета 15 г на 10 дал сусла помещают в емкость, смешивая с водой в соотношении 2:1, добавляют 40%-ную молочную кислоту из расчета 40 см3 на 1 кг прессованных дрожжей и устанавливают рН дрожжевой разводки 2,7-2,9. Суспензию выдерживают 3 ч, добавляют пятикратный объем сусла, пастеризованного или прокипяченого и охлажденного до 20-30°С концентрацией 8% СВ. После этого дрожжевую суспензию перемешивают с суслом, выдерживают для разбраживания 2-3 ч при температуре 20-30°С и задают в бродильные емкости.
Для приготовления сусла ККС разводят в воде до концентрации СВ 3-3,2% или используют неупаренное квасное сусло такой же концентрации, добавляют сахарный сироп до 8 % СВ.
Способы приготовления кваса
Приготовление квасного сусла
На заводах безалкогольных напитков квасное сусло получают разбавлением концентрата квасного сусла в воде или настойным способом из квасных ржаных хлебцев или из сухого кваса.
П
риготовление сусла настойным способом состоит в экстрагировании горячей водой растворимых веществ из квасных хлебцев или сухого кваса и отделении нерастворившейся массы (квасной гущи). Квасные хлебцы измельчают на дробилках и настаивают в аппаратах.
Настойный аппарат (рис. 87) представляет собой цилиндрический сосуд 1 с крышкой 2. Внутри аппарат оборудован змеевиком 5, лопастной мешалкой 4 и декантатором 6 для съема сусла с квасной гущи. Вместо змеевика или барботера предпочтительнее использовать паровую рубашку.
Настойный аппарат заполняют горячей водой (80-90°С) в таком объеме, чтобы получить первое сусло в количестве 1/3 от заданного объема изготовляемого кваса, и при перемешиваний по-Рис. 87. Настойный аппарат дают всю массу измельченных квасных бдев или сухого кваса, которая должна расходоваться по рецептуре на объем готового кваса. Смесь перемешивают около 30 мин и затем настаивают 1,5—2 ч. Отстоявшееся первое квасное сусло через декантатор перекачивают в бродильно-купажный аппарат, охлаждая его перед этим в теплообменнике до 25—30° С.
Оставшуюся в аппарате гущу заливают горячей водой (60—70° С) в количестве, равном объему первого сусла, 20 мин перемешивают, 1,5 ч настаивают и декантат пропускают через теплообменник, охлаждая полученное второе сусло до 25-30°С. Второе сусло, соединяют с первым суслом.
Для третьего залива воды берут столько, чтобы было достаточно для доведения общего объема квасного сусла до заданного. Смесь воды и гущи перемешивают 20 мин и настаивают 1 ч. Охлажденное до 25-30°С третье сусло присоединяют к первым двум.
Содержание сухих веществ в первом сусле 1,8—2%, во втором сусле 1,2-1,3, в третьем сусле 0,5-0,7%. Температура поступающего на брожение квасного сусла 23—27° С, содержание сухих веществ — не менее 1,5% масс.
Для получения сусла для окрошечного кваса ржаную муку запаривают кипящей водой в соотношении 1:10, перемешивают, охлаждают до 55°С, добавляют измельченные ячменный и ржаной солода в нагретую до 70—73°С воду. Далее настаивают, как описано выше. Массовая доля сухих веществ в сусле, поступающем на брожение, 1,3%. Выход общего сусла должен быть равен объему приготовляемого кваса.
При приготовлении сусла из концентрата квасного сусла сначала в бродильно-купажный аппарат наливают воду температурой 30-35°С и в ней растворяют концентрат квасного сусла до массовой доли сухих веществ 1,4% (для хлебного кваса) и до 1% для окрошечного кваса. ККС подают в бродильно-купажный аппарат по частям: 2/3 расходуют на получение квасного сусла, а 1/3 вносят при купажировании, что улучшает аромат.
Для приготовления сусла, предназначенного для сбраживания в ЦКБА, используют разведенный пастеризованный концентрат квасного сусла (ККС) или обогащенный концентрат квасного сусла (КОКС), а затем сахарный сироп, комбинированную дрожжевую и молочнокислую закваску или подмоложенные дрожжи.
Перед разведением ККС или КОКС пастеризуют, подвергая тепловой обработке при 75-80°С в течение 30-35 мин. Можно пастеризовать в указанном режиме и разведенный концентрат квасного сусла. После пастеризации его охлаждают до 26-30°С и перекачивают в ЦКБА.
На брожение рекомендуется задавать 70% от общего количества ККС или КОКС. Оставшиеся 30% используют при купажировании кваса.
Допускается подавать на брожение полностью все расчетное количество ККС или КОКС без последующего купажирования кваса с концентратом.
Разведенный концентрат квасного сусла с содержанием сухих веществ 1,4% (при закладке 70% от расчетного количества концентра та), либо 2,2% (при использовании полностью всего количестве концентрата) перекачивают в ЦКБА.
Приготовление кваса с использованием ячменного солода возможно как на предприятиях, производящих квас, так и на пивоваренных заводах, с заменой половины ККС неохмеленным пивным суслом. В случае недостаточной цветности кваса часть сахара заменяют колером.
Сбраживание квасного сусла
Брожение квасного сусла проводят в бродильно-купажных или бродильных аппаратах.
Бродилъно-купажный аппарат (рис. 88) представляет собой цилиндрический сосуд 7 с коническим днищем, сферической крышкой, закрытой герметично люком 12, и опорами 2. Для регулирования температуры сусла аппарат снабжен рубашкой 6. В нижней конической части установлен дрожжеотделитель 3 с задвижкой 1. Для перемешивания сусла при брожении и купажировании имеется пропеллерная мешалка 4.
Аппарат снабжен также штуцерами 8 и 13 для отвода воздуха из аппарата и рубашки, штуцерами 16 и 5 для ввода и отвода охлаждающего рассола, штуцером 9 для подачи сусла и штуцером 14 для ввода сиропа, термометром 10, маномет-17 ром 15, компенсатором 17, пробным краником 18, сливным штуцером 19 и штуцером 11 для ввода датчика автоматического определения уровня жидкости. Корпус аппарата покрыт слоем теплоизоляционного материала.
Аппарат выпускают вместимостью 100 и 500 дал и производительностью соответственно 150 и 700 дал/сут.
Бродильный аппарат (рис. 89) представляет собой цилиндрический резервуар 1 герметически закрывающейся крышкой. Он оборудован охлаждающим змеевиком 2, декантатором 3 для съема сброженного сусла с дрожжевого осадка и штуцером 4 для слива промывной воды с трубой для отвода С02.
Вначале в бродилъно-купажный или брокупажный аппарат подают квасное сусло и 1/4 сахара (в виде сахарного сиропа) его общего количества, предусмотренного рецептурой. Содержание сухих веществ в сусле для небного кваса должно быть не менее 2,5%, а для окрошечного кваса - 1,6%. После этого в сусло носят комбинированную закваску из чистых культур дрожжей и молочнокислых бактерий (2-4% к объему сусла) или разводку, полученную из высушенных, технически чистых культур (0,8% дрожжи и 0,06% молочнокислые бактерии к объему сусла). Брожение проводят при температуре 25-28° С до понижения содержания сухих веществ в сусле на 1% масс, и достижения кислотности не ниже 2 см3 раствора щелочи концентрацией 1 моль/дм3 на 100 см3 кваса. В процессе брожения регулируют температуру, не допуская ее повышения.
Для более полного осахаривания углеводов и, вследствие этого, для ускорения брожения, после ввода сахарного сиропа, добавляют еще молотый ячменный солод (5 г на 1 дм3 сусла). Солод должен иметь низкую продолжительность осахаривания — не более 10 мин.
Для повышения стойкости сброженное сусло (квас) по окончании брожения тщательно отделяют от дрожжей, для чего его охлаждают в бродильно-купажном аппарате до 5—7°С. При этом дрожжи плотным слоем осаждаются в дрожжеотделитель, а квас осторожно, не затрагивая дрожжевого осадка, перекачивают в купажный аппарат или купажируют непосредственно в бродильно-купажном аппарате.
В бродильном аппарате купажировать квас не разрешается.
При брожении квасного сусла часть питательных веществ расходуется на рост дрожжевых клеток и молочнокислых бактерий, а основная масса под действием ферментов преобразуется в новые продукты: сахара, этиловый спирт, органические кислоты, в том числе молочную кислоту, диоксид углерода и др. Пониженная температура сусла способствует растворению С02 и насыщению им кваса.
При работе с недостаточном накоплением в квасе молочной кислоты в готовое сусло, еще до внесения в него сахара, допускается вводить 4% (по объему) комбинированной закваски или разводки высушенных культур (0,5% дрожжей и 1,5% молочнокислых бактерий) и вставлять продукт на 6 ч для накопления молочной кислоты при 30-32 С. Затем вносят 1/4 сахара от рецептуры (в виде сахарного сиропа) и проводят брожение при 30-32°С до снижения содержания СВ на 1% масс. При недостаточном накоплении алкоголя в предыдущих циклах брожения с использованием этого сырья дрожжи в сусло вносят на сколько часов раньше, чем молочнокислые бактерии. Брожение проводят при 28-30°С до понижения содержания СВ на 1% масс.
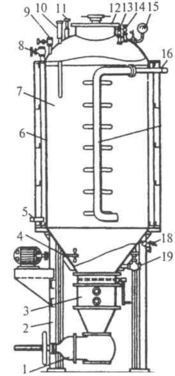
При производстве хлебного кваса, кроме бродильно-купажных и бродильных аппаратов, используют цилиндро-контеские бродильные аппараты ЦКБА (рис. 90). ЦКБА - это более совершенный аппарат, представляющий собой цилиндрический сосуд 1 со сферической крышкой снабженный рубашками: 2 на цилиндрической и 4 на конической частях корпуса для охлаждения бродящего сусла и кваса. В нижней части аппарата смонтированы дрожжеотделитель и горизонтально расположенная мешалка. Аппарат имеет трубопровод 3 для удаления диоксида углерода и подачи моющего раствора и камеру 5 для ввода комбинированной закваски и вывода готового кваса. Аппарат устанавливается на кольцевых опорах 6.
Аппараты выпускаются с рабочей вместимостью 9,4 и 25 м3. Готовый разведенный концентрации квасного сусла, имеющий температуру 26-З0С, перекачивают подготовленный ЦКБА при открытом газовом вентиле 3. С целью ускорения брожения, подмоложенные хлебопекарные дрожжи или комбинированную дрожжевую и молочнокислую закваску задают во вторую порцию разведенного концентрата квасного сусла также при температуре 26—30°С. Для предотвращения пенообразования и упрощения эксплуатации заполнение ЦКБА квасным суслом производят снизу. Затем при перемешивании центробежным насосом «на себя» в ЦКБА вносят 25% предусмотренного рецептурой сахара в виде с фильтрованного сиропа концентрацией сухих веществ 60-65%.
После тщательного перемешивания отбирают пробу для определения перед началом брожения физико-химических показателе сусла - массовой доли сухих веществ, температуры — и закрывают воздушный вентиль. Давление в ЦКБА при брожении регулируют шпунтаппаратом, оно не должно превышать 0,065 МПа.
С целью сокращения сроков занятости и увеличения оборачиемости ЦКБА рекомендуется сусло готовить в отдельно стоящих сборниках, где его тщательно перемешивают и доводят до требуемой плотности.
Брожение проводят при температуре 26—30°С до снижения массоой доли сухих веществ в сусле на 1 г в 100 г сброженного сусла и достижения кислотности не ниже 2 см3 раствора гидроксида натрия концентрацией 1 моль/дм3, расходуемого на титрование 100 см3 сусла. В процессе брожения необходимо контролировать температуру квасного сусла, не допуская ее повышения.
Брожение ведут при периодическом перемешивании центробежным насосом (через каждые 2 ч) в течение 30 мин.
Купажирование и розлив кваса
Купажирование сброженного квасного сусла. В сброженное квасное сусло, находящееся в бродилъно-купажном или купажном аппарате, добавляют оставшиеся 3/4 части сахара и колер. Если сусло было приготовлено с использованием 70% ККС от рецептуры, то добавляют оставшиеся 30%. Полученную смесь, называемую купажом, тщательно перемешивают, продувая через нее диоксид углерода, проверяют соответствие качества кваса требованиям стандарта и направляют его на розлив.















