123578 (717228)
Текст из файла
СОДЕРЖАНИЕ
Введение
1 Возникновение и развитие нанотехнологии
2 Основы технологии наноматериалов
2.1 Общая характеристика
2.2 Технология консолидированных материалов
2.2.1 Порошковые технологии
2.2.2 Интенсивная пластическая деформация
2.2.3 Контролируемая кристаллизавия из аморфного состояния
2.2.4 Технология пленок и покрытий.
2.3 Технология полимерных, пористых, трубчатых и биологических наноматериалов
2.3.1 Гибридные и супрамолекулярные материалы
2.3.2 Нанопористые материалы (молекулярные сита)
2.3.3 Трубчатые материалы
2.3.4 Полимерные материалы
3 Общая характеристика применения наноматериалов
Заключение
Список литературы
ВВЕДЕНИЕ
В последние несколько лет нанотехнология стала рассматриваться не только как одна из наиболее многообещающих ветвей высокой технологии, но и как системообразующий фактор экономики 21 века – экономики, основанной на знаниях, а не на использовании природных ресурсов или их переработке. Помимо того, что нанотехнология стимулирует развитие новой парадигмы всей производственной деятельности («снизу-вверх» - от отдельных атомов — к изделию, а не «сверху вниз», как традиционные технологии, в которых изделие получают путем отсечения излишнего материала от более массивной заготовки), она сама является источником новых подходов к повышению качества жизни и решению многих социальных проблем в постиндустриальном обществе. По мнению большинства экспертов в области научно-технической политики и инвестирования средств, начавшаяся нанотехнологическая революция охватит все жизненно важные сферы деятельности человека (от освоения космоса — до медицины, от национальной безопасности — до экологии и сельского хозяйства), а ее последствия будут обширнее и глубже, чем компьютерной революции последней трети 20 века. Все это ставит задачи и вопросы не только в научно-технической сфере, но и перед администраторами различного уровня, потенциальными инвесторами, сферой образования, органами государственного управления и т.д.
1 ВОЗНИКНОВЕНИЕ И РАЗВИТИЕ НАНОТЕХНОЛОГИИ
Нанотехнология сформировалась на основе революционных изменений в компьютерных технологиях. Электроника как целостное направление возникло около 1900 г. и продолжала бурно развиваться в течение всего прошлого столетия. Исключительно важным событием в ее истории стало изобретение транзистора в 1947 г. После этого началась эпоха расцвета полупроводниковой техники, при которой размеры создаваемых кремниевых устройств постоянно уменьшались. Одновременно с этим непрерывно возрастали быстродействие и объем магнитных и оптических запоминающих устройств.
Однако по мере приближения размеров полупроводниковых устройств к 1 микрону в них начинают проявляться квантово-механические свойства вещества, т.е. необычные физические явления (типа туннельного эффекта). Можно с уверенностью предположить, что при сохранении нынешних темпов развития мощности компьютеров вся полупроводниковая технология примерно через 5-10 лет столкнется с проблемами фундаментального характера, так как быстродействие и степень интеграции в ЭВМ достигнут некоторых «принципиальных» границ, определяемых известными нам законами физики. Таким образом, дальнейший прогресс науки и техники требует от исследователей существенного «прорыва» к новым принципам работы и новым технологическим приемам.
Такой прорыв может быть осуществлен только за счет использования нанотехнологий, которые позволят создать целый ряд принципиально новых производственных процессов, материалов и устройств, например нанороботов [1].
Расчеты показывают, что использование нанотехнологий может повысить основные характеристики полупроводниковых вычислительных и запоминающих устройств на три порядка, т.е. в 1000 раз [ 2].
Однако нанотехнологию не стоит сводить только к локальному революционному прорыву в электронике и компьютерных технологиях. Уже сейчас получен ряд исключительно важных результатов, позволяющих надеяться на существенный прогресс в развитии других направлений науки и техники.
На многих объектах в физике, химии и биологии показано, что переход на наноуровень приводит к появлению качественных изменений в физико-химических свойствах отдельных соединений и получаемых на их основе систем. Речь идет о коэффициентах оптического сопротивления, электропроводности, магнитных свойствах, прочности, термостойкости. Более того, согласно наблюдениям новые материалы, получаемые с использованием нанотехнологий, значительно превосходят по своим физическим, механическим, термическим и оптическим свойствам аналоги микрометрического масштаба.
На основе материалов с новыми свойствами уже сейчас создаются новые типы солнечных батарей, преобразователей энергии, экологически безопасных продуктов и многое другое. Уже созданы высокочувствительные биологические датчики (сенсоры) и другие устройства, позволяющие говорить о возникновении новой науки — нанобиотехнологии и имеющие огромные перспективы практического применения. Нанотехнология предлагает новые возможности микрообработки материалов и создания на этой основе новых производственных процессов и новых изделий, что должно оказать революционное воздействие на экономическую и социальную жизнь будущих поколений [ 3].
2 ОСНОВЫ ТЕХНОЛОГИИ НАНОМАТЕРИАЛОВ
2.1 Общая характеристика
Структура и соответственно свойства наноматериалов формируются на стадии их изготовлёния. Вполне очевидно значение технологии как основы для обеспечения стабильных и оптимальных эксплуатационных характеристик наноматериалов; это важно также с точки зрения их экономичности.
Для технологии наноматериалов в соответствии с многообразием последних характерно сочетание, с одной стороны, металлургических, физических, химических и биологических методов, а с другой стороны, традиционных и принципиально новых приемов. Так, если подавляющее большинство методов получения консолидированных наноматериалов достаточно традиционны, то такие операции, как изготовление, например, «квантовых загонов» с помощью сканирующего туннельного микроскопа, формирование квантовых точек самосборкой атомов или использование ионно-трековой технологии для создания пористых структур в полимерных материалах основаны на принципиально иных технологических приемах.
Весьма разнообразны и методы молекулярной биотехнологии. Все это усложняет изложение основ технологии наноматериалов, учитывая и то, что многие технологические подробности («ноу-хау») авторы описывают только в общих чертах, а зачастую сообщение носит рекламный характер. Далее проанализированы лишь основные и наиболее характерные технологические приемы.
2.2 Технология консолидированных материалов
2.2.1 Порошковые технологии
Под порошком понимают совокупность находящихся в соприкосновении индивидуальных твердых тел (или их агрегатов) небольших размеров — от нескольких нанометров до тысячи микрон [4]. Применительно к изготовлению наноматериалов в качестве исходного сырья используют ультрадисперсные порошки, т.е. частицы размером не более 100 им, а также более крупные порошки, полученные в условиях интенсивного измельчения и состоящие из мелких кристаллитов размером, подобным указанным выше.
Последующие операции порошковой технологии — прессование, спекание, горячее прессование и т. п. — призваны обеспечить получение образца (изделия) заданных форм и размеров с соответствующей структурой и свойствами. Совокупность этих операций часто называют, по предложению М.Ю. Бальшина, консолидацией. Применительно к наноматериалам консолидация должна обеспечить, с одной стороны, практически полное уплотнение (т.е. отсутствие в структуре макро- и микропор), а с другой стороны, сохранить наноструктуру, связанную с исходными размерами ультрадисперсного порошка (т. е. размер зерен в спеченных материалах должен быть как можно меньше и во всяком случае менее 100 нм).
Методы получения порошков для изготовления наноматериалов весьма разнообразны; их условно можно разделить на химические и физические, основные, из которых с указанием наиболее характерных ультрадисперсных порошков, приведены в Таблице 1.
Таблица 1. Основные методы получения порошков для изготовления наноматериалов
| Метод | Вариант метода | Материалы |
| Физические методы | ||
| Испарение и конденсация | В вакууме или в инертном газе | Zn, Cu, Ni, Al, Be, Sn, Pb, Mg, Ag, Cr, MgO, Al2O3, Y2O3, ZrO2, SiC |
| В реакционном газе | TiN, AlN, ZrN, NbN, ZrO3, Al2O3, TiO2. | |
| Высокоэнергетическое разрушение | Измельчение | Fe-Cr, Be, Al2O3, TiC, Si3N4, NiAl, TiAl, AlN |
| Детонационная обработка | BN, SiN, TiC, Fe, алмаз | |
| Электрический взрыв | Al, Cd, Al2O3, TiO2. | |
| Химические методы | ||
| Синтез | Плазмохимический | TiC, TiN, Ti(C,N), VN, AlN, SiC, Si3N4, BN, W |
| Лазерный | Si3N4, SiC, Si3N4-SiC | |
| Термический | Fe, Cu, Ni, Mo, W, BN, TiC, WC-Co | |
| Самораспространяю-щийся высокотемпературный | SiC, MoSi2, Aln, TaC | |
| Механохимический | TiC, TiN, NiAl, TiB2, Fe-Cu, W-Cu | |
| Электрохимический | WC, CeO2, ZrO2, WB4 | |
| Растворный | Mo2C, BN, TiB2, SiC | |
| Криохимический | Ag, Pb, Mg, Cd | |
| Термическое разложение | Конденсированные прекурсоры | Fe, Ni, Co, SiC, Si3N4, BN, AlN, ZrO2, NbN |
| Газообразные прекурсоры | ZrB2, TiB2, BN | |
Рассмотрим некоторые из методов получения ультрадисперсных порошков.
Конденсационный метод. Этот метод известен давно и в теоретическом плане изучен в наибольшей степени. Различают гомогенное и гетерогенное зарождение зародышей (кластеров).
В первом случае зародыш возникает флуктуационно, причем изменяя пересыщение системы (увеличивая или снижая давление пара, варьируя температуру процесса), можно регулировать значение радиуса критического зародыша и добиваться нужного размера частиц получаемых порошков. Проводя испарение в нейтральных средах и вводя в пространство испарения посторонние поверхности, можно провоцировать гетерогенное зародышеобразование для которого высота потенциального барьера образования критического зародыша гораздо ниже по сравнению с объемной гомогенной конденсацией. Таким образом, существуют, по крайней мере, два необходимых и достаточных условия получения ультрадисперсных порошков конденсационным методами — большое пересыщение и присутствие в конденсируемом паре молекул нейтрального газа.
Лабораторная установка для получения металлических ультрадисперсных порошков была разработана в Институте химической физики Академии наук СССР в 1960-е гг. [ 5]. Капля расплавленного металла, висящая в индукционном поле, обдувается потоком высокочистого аргона, выносящего сконденсировавшиеся наночастицы в специальный порошковый сборник, разгрузка которого осуществляется в контролируемой безокислительной атмосфере. Последующее хранение порошков и соответствующие технологические операции проводятся также в аргоне.
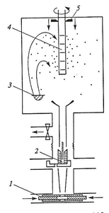
Конденсационный метод был использован в установке Глейтера (Рисунок 1), в которой получение ультрадисперсного порошка в атмосфере разреженного инертного газа совмещается с вакуумным прессованием. Конденсируемые на поверхности охлаждаемого вращающегося цилиндра наночастицы снимаются специальным скребком и собираются в пресс-форме 2 предварительного прессования (давление до 1 ГПа), а затем в специальной пресс-форме 1 проводится компактирование при более высоких (до 3— 5 ГПа) давлениях. Производительность установки Глейтера невелика, она лимитируется преимущественно невысокими скоростями испарения
Рисунок 1. Схема установки Глейтера: 1 - узел компактирования при высоком давлении; 2 - узел предварительного прессования; 3 - испаритель; 4 - вращающийся коллектор, охлаждаемый жидким азотом; 5 - скребок
Конденсационные методы, в принципе, обеспечивают изготовление ультрадисперсных порошков с размером частиц до нескольких нанометров, но длительность процесса получения таких объектов (и соответственно стоимость) довольно велика. По желанию потребителей на поверхность порошка можно нанести тонкие полимерные пленки, предотвращающие агломерацию и коррозионное воздействие.
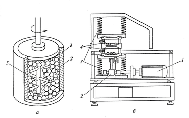
Высокоэнергетическое измельчение. Механохимический синтез. Измельчение – это типичный пример технологий типа «сверху – вниз». Измельчение в мельницах, дезинтеграторах, аттриторах и других диспергирующих установках происходит за счет раздавливания, раскалывания, разрезания, истирания, распиливания, удара или в результате комбинации этих действий. На Рисунок 2 показаны схема аттритора, в котором за счет вращения измельчаемой шихты и шаров совмещаются ударное и истирающее воздействия, и схема вибрационной мельницы, конструкция которой обеспечивает высокую скорость движения шаров и частоту ударов. Для провоцирования разрушения измельчение часто проводится в условиях низких температур. На эффективность измельчения оказывает влияние соотношение массы шаров и измельчаемой смеси, которое обычно поддерживается в интервале от 5:1 до 40:1.
Рисунок 2 Схема установок для измельчения:
Характеристики
Тип файла документ
Документы такого типа открываются такими программами, как Microsoft Office Word на компьютерах Windows, Apple Pages на компьютерах Mac, Open Office - бесплатная альтернатива на различных платформах, в том числе Linux. Наиболее простым и современным решением будут Google документы, так как открываются онлайн без скачивания прямо в браузере на любой платформе. Существуют российские качественные аналоги, например от Яндекса.
Будьте внимательны на мобильных устройствах, так как там используются упрощённый функционал даже в официальном приложении от Microsoft, поэтому для просмотра скачивайте PDF-версию. А если нужно редактировать файл, то используйте оригинальный файл.
Файлы такого типа обычно разбиты на страницы, а текст может быть форматированным (жирный, курсив, выбор шрифта, таблицы и т.п.), а также в него можно добавлять изображения. Формат идеально подходит для рефератов, докладов и РПЗ курсовых проектов, которые необходимо распечатать. Кстати перед печатью также сохраняйте файл в PDF, так как принтер может начудить со шрифтами.















