123578 (717228), страница 3
Текст из файла (страница 3)
Магнетронное напыление весьма универсально, его можно применять не только для металлических, но и для неметаллических мишеней (и, следовательно, для получения соответствующих пленок). При магнетронном напылении температуры подложек невелики (менее 100-200 °С), что расширяет возможности полученяя наноструктурных пленок с небольшим размером зерен и аморфных пленок. Однако скорости напыления в несколько раз ниже, чем в случае дуговых методов.
Рисунок 5 Схема установки магнетронного распыления
1 – катод-мишень; 2 – постоянный магнит; 3 – источник питания; 4 – анод; 5 – траектории движения электронов; 6 – зона (дорожка) распыления; 7 – силовые линии напряженности магнитного поля
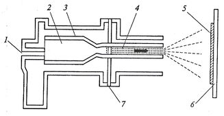
При ионно-лучевой обработке выбивание атомов мишени происходит за счет бомбардировки ее поверхности ионными пучками. На рисунке 6 приведена схема установки бинарного ионно-стимулированного осаждения нитридных пленок. Металлические ионы образуются при бомбардировке метталической мишени ионами инерных газов или азота из источника 3, а источник 2 используется для бомбардировки непосредственно пленки (в случае ионов азота пленки синтезируемых нитридов могут быть сверхстехиометричными).
Рисунок 6 Схема установки бинарного ионно-стимулированного осаждения нитридных пленок [15]:
1 – мишень (Ti, Zr, Hf); 2 – источник ионов аргона, ксенона, неона или азота для подложки; 3 – источник тех же ионов для мишени; 4 – подложка; 5 – механизм вращения; 6 – фиксатор координат; 7 – счетчик плотности тока; 8 – счетчик скорости осаждения
Применительно к некоторым металлам и сплавам (Ni, Cu, Ni-P, Ni-Mo, Ni-W и др.) для получения наноматериалов оказался весьма эффективным метод импульсного электроосаждения, когда реализуется высокая скорость зарождения кристаллитов и за счет адсорбционно-десорбционных ингибирующих процессов обеспечивается их низкая скорость роста.
Получает распространение метод газотермического напыления наноструктурньтх покрытий [16]. В качестве сырья используются различные оксидные (Al2O3-TiO2, Al2O3-ZrO2, Cr2O3-TiO2, ZrO2-Y2O3 и др.) и карбидные (WC-Co, Cr3C2-Ni и др.) композиционные нанопорошки. Схема установки для газотермического напыления твердосплавных порошков с использованием кислород-углеводородных газовых смесей показана на Рисунок 7. Перед напылением исходные порошки обрабатывают в высокоэнергетических измельчающих агрегатах, а затем для улучшения сыпучести подвергают агломерации (смешиванию с пластификатором и обкатке). В результате получают округлые частиц размером 10—50 мкм. Последняя операция обеспечивает достаточную скорость поступления агломерированных сфероидов в плазменную струю. Хотя температура последней достаточно высокая (примерно 3000 К и выше), но высокие скорости газового потока (около 2000 м/с) приводят к кратковременному пребыванию наноструктурных частиц в высокотемпературном интервале. Размер нанокристаллитов обычно увеличивается от 30-40 нм до 200 нм, но показатели твердости и износостойкости таких покрытий превосходят таковые для обычных покрытий в 1,3-2 раза.
Рисунок 7 Схема установки газотермического напылсния:
1 – ввод газовых смесей; 2 – смеситель; 3 – система охлаждения; 4 – плазменный ствол; 5 – покрытие; 6 – подложка; 7 – ввод порошка
Ионно-плазменная обработка поверхности, включая имплантацию, используется применительно к самым различным материалам (металлам, сплавам, полупроводникам, полимерам и др.) для создания поверхностных сегрегаций и нанорельефа, что полезно для многих практических приложений.
2.3 Технология полимерных, пористых, трубчатых и биологических наноматериалов
Анализ множества вариантов синтеза наноматериалов типа полимер-неорганических и полимер-органических композитов, нанобиоматериалов, катализаторов, супрамолекулярньтх, нанопористых и трубчатых структур выходит за рамки нашего рассмотрения. Ограничимся лишь краткой их характеристикой.
2.3.1 Гибридные и супрамолекулярные материалы
Безусловный интерес представляют нанокомпозиты, получаемые на стадии полимеризации, когда в полимеризующихся матрицах генерируются одновременно металлические или оксидные наночастицы, образующиеся при разложении металлоорганических соединений, вводимых в полимерные прекурсоры (например, нанокомпозиты на основе метилметакрилата и металлических наночастиц).
Многослойные полимер-неорганические нанокомпозиты изготавливают на основе так называемых пленок Ленгмюра-Блоджеп. На Рисунок 2 показана схема наслаивания слоев полимера поли(4-стиролсульфоната натрия) (ПСС) и наночастиц Тi0 сред него размера 4 нм, получаемых гидролизом тетрахлорида титана. Число таких бислоев, определяющих различные оптические, проводящие, магнитные и другие свойства, может составлять несколько десятков.
Рисунок 8 Схема получения многослойных пленок TiO2/ПСС [17]
Специалисты по генной инженерии разработали методы расщепления и сшивания нитей ДНК «липкими» комплементарными концами, а также приемы «подвешивания» нанопроволочек к «липким концам». Слипание ДНК таким образом может приводить к соединению нанопроволочек. Участки ДНК в таких структурах обычно имеют длину 2-3 витков двойной спирали (примерно 7-10 нм) [18]. Такая алгоритмическая сборка представляется весьма перспективным направлением в создании новых наноматериалов, структура и свойства которых могут программироваться в одном, двух или трех измерениях. Закономерности ДНК-нанотехнологии исследуют весьма интенсивно, поскольку высокая степень «межмолекулярного распознавания» позволяет надеяться на создание путем самосборки разнообразных структур, функциональные свойства которых могут быть предсказаны.
Супрамолекулярный синтез предполагает сборку молекулярных компонентов, направляемую межмолекулярными нековалентными силами. Супрамолекулярная самосборка представляет спонтанное соединение нескольких компонентов (рецепторов и субстратов), в результате чего на основе так называемого «молекулярного распознавания» происходит самопроизвольное образование новых структур (например, изолированных олигомерных сверхмолекул или крупных полимерных агрегатов). Такие органические соединения, как ротаксаны, в которых кольцевая молекула надета на ось с «заглушками», и катенаны, в которых кольцевые молекулы продеты одна в другую, были получены на основе спонтанного нанизывания донорно-акцепторных партнеров, а также за счет вспомогательного образования водородных связей.
На основе металлоорганических строительных блоков путем самосборки могут быть также получены разнообразные неорганические архитектуры (например, цепи сурьмы и теллура, различные каркасы металлов, сплавов и соединений и т.д.). Объекты супрамолекулярной инженерии становятся все более разнообразными.
2.3.2 Нанопористые материалы (молекулярные сита)
Это цеолитные и цеолитоподобные, а также углеродные и полимерные наноструктуры с пространственно-регулярной системой каналов и полостей, которые предназначены как для диффузионного раз деления газовых смесей, так и для размещения и стабилизации наночастиц функционального назначения (подложки для катализа, эмиттеры, датчики и др.). Технологические приемы получения нанопористых материалов весьма разнообразны: гидротермальный синтез, золь-гель-процессы, электрохимические методы, обработка хлором карбидных материалов и др. Различные сотовые структуры создаются комбинацией приемов стандартной литографии (нанесение рисунка будущей решетки), щелочного травления, анодного растворения, окисления-восстановления и т. д.
При обработке полимеров, диэлектриков и полупроводников высокоэнергетическими ионами образуются так называемые ионные треки нанометрового размера, которые могут быть использованы для создания нанофильтров, наношаблонов и т.д. [19].
Применительно к нанокомпозитным молекулярным ситам цеолитного типа различают, по крайней мере, два метода получения таких матричных структур: кристаллизация пористого материала из геля, где присутствуют наночастицьи будущего композита, и синтез наночастиц in siti из прекурсоров, предварительно введенных в цеолиты.
2.3.3 Трубчатые материалы
При изучении осадков, образующихся при испарении графита в условиях дугового разряда, было обнаружено, что полосы атомных сеток графита (графенов) могут свертываться в бесшовные трубки. Внутренний диаметр трубок колеблется от долей нанометра до нескольких нанометров, а их длина – в интервале 5-50 мкм.
Рисунок 9 Схема установки для получения фуллеренов и углеродных нанотрубок [20]:
1 - графитовый анод; 2 - графитовый катод; 3 - токовводы; 4 - изолятор; 5 - держатели; 6 - охлаждаемый реактор; 7 - медный жгут; 8 - электродвигатель; 9 - вакуумметр; 10 - фильтр; 11-13 - вакуумные и газовые подводы
На Рисунок 9 показана схема лабораторной установки для получения углеродных нанотрубок. Графитовый электрод 1 распыляется в гелиевой плазме дугового разряда; продукты распыления в виде трубок, фуллеренов, копоти и т.п. осаждаются на поверхности катода 2, а также на боковых стенках охлаждаемого реактора. Наибольший выход трубок наблюдается при давлении гелия около 500-600 кПа; параметры дугового режима, геометрические размеры электродов, длительность процесса, размеры реакционного пространства так же оказывают значительное влияние. После синтеза концы трубок обычно закрыты своеобразными «шапочками» (полусферическими или коническими). Важным элементом технологии нанотрубок является их очистка и раскрытие концов, что выполняется различными методами (окисление, обработка кислотами, обработка ультразвуком и т.д.).
Для получения нанотрубок используют также лазерное распыление графита и пиролиз углеводородов с участием катализаторов (металлы группы железа и др.). Последний метод считается одним из самых перспективных в плане повышения производительности и расширения структурного разнообразия трубок.
Заполнение внутренних полостей нанотрубок различными металлами и соединениями может осуществляться либо в процессе синтеза, либо после очистки. В первом случае добавки могут вводиться в графитовый электрод; второй метод более универсален и может реализовываться многими приемами («направленное» заполнение из расплавов, растворов, из газовой фазы и др.).
Вскоре после открытия углеродньтх нанотрубок было обнаружено, что свойством сворачивания обладает не только графит, но и многие другие соединения – нитриды и карбиды бора, халькогениды, оксиды, галогениды и различные тройные соединения. В последнее время были получены и металлические трубки (Аu). Самоформирующиеся трехмерные наноструктуры типа нанотрубок на основе полупроводников и других веществ могут быть получены в результате самосворачивания тонких слоев в трубки-свитки [21]. В данном случае используется различие в остаточных напряжениях, возникающих в эпитаксиальном слое (растягивающие напряжения) и в подложке (сжимающие напряжения).
2.3.4 Полимерные материалы
С помощью нанопечатной литографии удается изготавливать полимерные шаблоны (темплаты) с отверстиями диаметром 10 нм и глубиной 60 нм. Отверстия образуют квадратную решетку с шагом 40 нм и предназначены для размещения нанообъектов типа углеродных нанотрубок, катализаторов и т.д. Такие шаблоны создаются путем деформации специальными штампами с последующим реактивным ионным вытравливанием полимерных остатков из отверстий.
Описаны также приемы литографически индуцированной самосборки наноструктур. В этом случае решетка формируется за счет образующейся матрицы столбов, растущих из полимерного расплава, находящегося на кремниевой поддожке. Отмечается, что этот процесс может быть применен и к другим материалам (полупроводникам, металлам и биоматериалам), что важно для создания запоминающих устройств различных типов [22].
3. ОБЩАЯ ХАРАКТЕРИСТИКА ПРИМЕНЕНИЯ НАНОМАТЕРИАЛОВ
Различные отрасли промышленности и сферы человеческой деятельности являются потребителями наноматериалов.
В промышленности уже давно эффективно используются полировальные пасты и противоизносные препараты на основе наночастиц. Последние (например, на основе бронзы) вводят в зоны трения машин и различных механизмов, что значительно повышает ресурс их работы и улучшает многие технико-экономические показатели (например, снижается в 3-6 раз содержание СО в выхлопных газах). На поверхности пар трения в процессе эксплуатации формируется противоизносный слой, образующийся при взаимодействии продуктов износа и вводимых в смазку наночастиц. Препараты типа РиМЕТ в промышленном масштабе производятся в России научно-производственным предприятием «Высокодисперсные металлические порошки» (Екатеринбург) [23].
Добавки частиц и волокон в полимерные матрицы – хорошо известный прием повышения физико-механических свойств полимеров, а также их огнестойкости. Замена многих металлических материалов на полимеры, армированные наночастицами, приводит в автомобилестроении к уменьшению массы автомобиля, снижению потребления бензина и вредных выбросов [22].
Пористые наноструктуры используются для диффузионного разделения газовых смесей (например, изотопов и других сложных газов, отличающихся молекулярной массой). Размер пор («окон в обычных цеолитах изменяется в интервале 0,4-1,5 нм и зависит от числа атомов кисло рода в циклическях структурах, образующих цеолит. Следует иметь в виду, что поверхность многих пористых наноструктур сама по себе обладает каталитическями свойствами. Высокая селективность в различных процессах разделения возрастает за счет каталитических явлений, что, например, используется при изомеризации органических соединений типа ксилолов.
Значительное внимание уделяется также изучению каталитических, сорбируюших и фильтрующих свойств углеродных нанонтрубок. Отмечены, например, их высокие сорбирующие характеристики применительно к очистке отходящих газов от трудноразрушаемых канцерогенных диоксинов [24]. Заманчивы также перспективы использования фуллеренов и углеродных нанотрубок для водородсорбирующих целей [25]. Кроме этого, в связи с размерными особенностями (большое отношение длины к диаметру и малые размеры), возможностью изменения проводимости в широких пределах и химической устойчивостью углеродные нанотрубки рассматриваются как принципиально новый материал для электронных приборов нового поколения, в том числе и ультраминиатюрных [26, 27].
Для наноструктурных объектов характерны необычные оптические свойства, что используется в декоративных целях. Поверхность куполов московского храма Христа Спасителя состоит из титановых пластин, покрытых нитридом титана [28]. В зависимости от отклонений от стехиометрии и наличия примесей углерода и кислорода цвет пленок ТiNx может изменяться от серого до синего, что используют при нанесении покрытий на посуду.















