123578 (717228), страница 2
Текст из файла (страница 2)
а — аттритор (1 — корпус, 2 — шары, 3 — вращающаяся крыльчатка); б — вибрационная мельница (1 — двигатель, 2 — вибратор, 3 — пружины, 4 — барабаны с шарами и измельчаемой шихтой)
Обеспечивая, в принципе, приемлемую производительность, измельчение, однако, не приводит к получению очень тонких порошков, поскольку существует некоторый предел измельчения, отвечающий достижению своеобразного равновесия между процессом разрушения частиц и их агломерацией. Даже при измельчении хрупких материалов размер получаемых частиц обычно не ниже примерно 100 нм; частицы состоят из кристаллитов размером не менее 10—20 нм. Следует считаться и с тем, что в процессе измельчения практически всегда происходит загрязнение продукта материалом шаров и футеровки, а также кислородом.
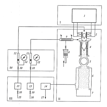
Плазмохимический синтез [ 6]. Синтез в низкотемпературной плазме осуществляют при высоких температурах (до 6000-8000 К), что обеспечивает высокий уровень пересыщения, большие скорости реакций и конденсационных процессов. Используются как дуговые плазмотроны, так и высоко- и сверхвысокочастотные (СВЧ) генераторы плазмы. Дуговые аппараты более производительны и доступны, однако СВЧ-установки обеспечивают получение более тонких и более чистых порошков. Схема такой установки приведена на Рисунок 3. В качестве исходных продуктов для плазмохимического синтеза используются хлориды металлов, металлические порошки, кремний и металлоорганические соединения.
Рисунок 3 Схема СВЧ-установки плазмохимического синтеза [6]:
I – силовое оборудование (1 - микроволыовый генератор); II – основное технологическое оборудование (2 - плазмотрон, 3 - устройство ввода реагентов, 4 - реактор, 5 - теплообменник, 6 - фильтр, 7 - сборник порошка, 8 - дозатор реагентов, 9 - испаритель); III, IV – соответственно вспомогательное технологическое оборудование и блок управления (10 - вентили, 11 - ротаметры, 12 - манометры, 13 – система очистки газов, 14 - скруббер, 15 – ввод плазмообразующего газа, 16 - ввод газа-носителя, 17 - вывод газов)
В силу особенностей плазмохимического синтеза (неизотермичность процесса, возможность коагуляции частиц и др.) распределение получаемых частиц по размерам в большинстве случаев достаточно широкое.
Синтез в условиях ультразвукового воздействия [7]. Этот метод известен как сонохимический синтез, в основе которого лежит эффект кавитации микроскопических пузырьков. При кавитации в малом объеме развиваются аномально высокое давление (до 50 - 100 МН/м2) и высокая температура (до 3000 К и выше), а также достигаются огромные скорости нагрева и охлаждения (до 1010 К/с). В условиях кавитации пузырек становится как бы нанореактором. С использованием экстремалъных условий внутри кавитационных пузырьков получено много нанокристаллических (аморфных) металлов, сплавов и тугоплавких соедине ний (например, наночастицы Fe, Ni и Со и их сплавов из карбонилов, коллоиды золота и меди, нанооксид Zr и др.).
Электрический взрыв проволочек [8]. Уже давно было замечено, что при пропускании через относительно тонкие проволочки импульсов тока плотностью 104-106 А/мм2 происходит взрывное испарение металла с конденсацией его паров в виде частиц различной дисперености. В зависимости от окружающей среды может происходить образование металлических частиц (инертные среды) или оксидных (нитридных) порошков (окислительные или азотные среды). Требуемый размер частиц и производительность процесса регулируются параметрами разрядного контура и диаметром используемой проволоки. Форма наночастиц преимущественно сферическая, распределение частиц по размерам нормально-логарифмическое, но достаточно широкое. Для наночастиц размером 50-100 нм таких металлов, как Аl, Сu, Fе и Ni, производительность установки составляет 50-200 г/ч при энергозатратах до 25-50 кВтч/кг. Нанопорошки оксидов (Аl2O3, TiO2, ZrO2, MgAl2O4 и др.) также могут быть изготовлены, причем после седиментационной обработки размер частиц может быть весьма малым (20-30 нм).
Рассмотренные выше в общем виде некоторые из методов получения нанопорошков, конечно, нуждаются в детализации. Выбор оптимального метода должен основываться на требованиях, предъявляемых к нанопорошку и наноматериалу, с учетом экономических и экологических соображений.
Методы консолидации. Практически все известные в порошковой технологии методы: прессование и спекание, различные варианты горячего прессования, горячее экструдирование и т.д. – применимы и к ультрадисперсным порошкам. В установках типа изображенной на Рисунок 1, несмотря на использование довольно высоких давлений прессования (до 2-5 ГПа) даже в вакуумных условиях и при небольшой высоте образцов (до 1мм), удается получить образцы пористостью не менее 10-15%. Для ультрадисперсных порошков характерна низкая уплотняемость при прессовании в силу значительного влияния характеристик трения между частицами. В технологии прессования нанопорошков при комнатных температурах эффективно применение ультразвуковых колебаний, которые уменьшают упругое последействие после снятия нагрузки при прессовании и несколько повышают относительную плотность спрессованных изделий, расширяя возможности их изготовления в виде втулок и других форм [9].
Для устранения остаточной пористости необходима термическая обработка спрессованных образцов – спекание. Однако применительно к изготовлению наноматериалов обычные режимы спекания порошковых объектов не позволяют сохранить исходную наноструктуру. Процессы роста зерен (рекристаллизадия) и уплотнения при спекании (усадка), являясь диффузионно-контролируемыми, идут параллельно, накладываясь друг на друга, и совместить высокую скорость уплотнения с предотвращением рекристаллизации нелегко.
Таким образом, использование высокоэнергетических методов консолидации, предполагающих применение высоких статических и динамических давлений и умеренных температур, позволяет в известной степени задержать рост зерен.
Обычные режимы прессования и спекання ультрадисперсных порошков могут использоваться для получения наноструктурных пористых полуфабрикатов, подвергаемых затем для полной консолидации операциям обработки давлением. Так, медные порошки, полученные конденсационным методом, с размером частиц 35 нм с оксидной (Сu2O3) пленкой толщиной 3,5 нм после прессования при давлении 400 МПа и неизотермического спекания в водороде до 230 ºС (скорость нагрева 0,5 ºС/мин) приобретали относительную плотность 90% с размером зерна 50 нм [10]. Последующая гидростатическая экструзия приводила к получению беспористых макрообразцов, обладающих высокой прочностью и пластичностью (предел текучести при сжатии 605 МПа, относительное удлинение 18 %).
Задержать рост зерен при обычном спекании можно, используя специальные неизотермические режимы нагрева. В этом случае удается за счет конкуренции механизмов усадки и роста зерен оптимизировать процессы уплотнения, исключив в значительной степени рекристаллизационные явления [11]. Электроразрядное спекание, осуществляемое пропусканием тока через спекаемый образец, и горячая обработка давлением порошковых объектов (например, ковка или экструзия) могут также способствовать торможению рекристаллизации и использоваться для получения наноматериалов. Спекание керамических наноматериалов в условиях микроволнового нагрева, приводящего к равномерному распределению температуры по сечению образцов, также способствует сохранению наноструктуры. Однако размер кристаллитов в перечисленных вариантах консолидации обычно на уровне верхнего предела размера зерен наноструктуры, т.е. обычно не ниже 50—100 нм.
2.2.2 Интенсивная пластическая деформация
Формирование нано структуры массивньтх металлических образцов может быть осуществлено методом интенсивной деформации. За счет больших деформаций, достигаемых кручением при квазигидростатическом высоком давлении, равноканальным угловым прессованием и использованием других способов, образуется фрагментированная и разориентированная структура.
На Рисунок 4 показаны две схемы интенсивной пластической деформации – кручение под высоким давлением и равноканальное угловое прессование. В случае схемы a дискообразный образец помещают в матрицу и сжимают вращающимся пуансоном. В физике и технике высоких давлений эта схема развивает известные идеи наковален Бриджмена. Квазигидростатическая деформация при высоких давлениях и деформация сдвигом приводят к формировани неравновесных наноструктур с большеугловыми межзеренными границами. В случае схемы б, принципиальные основы которой были разработаны В. М. Сегалом (Минск), образец деформируется по схеме простого сдвига и существует возможность повторного деформирования с использованием различных маршрутов. В начале 1990-х гг. Р. З. Валиев с соавт. [12] использовали обе схемы для получения наноматериалов, детально исследовав закономерности получения в связи с особенностями структуры и свойств.
Рисунок 4 Схемы интенсивной пластической деформации:
а – кручение под высоким давлением; б – равноканальное угловое прессование
При кручении под высоким давлением степень деформации обычно регулируется числом оборотов. Так, для меди, подвергну той 2, 3 и 4 оборотам, средний размер зерен составил (162 ± 19) нм, (149 ± 12) нм и (85 ± 8) нм соответственно. При проведении деформирования кручением и равноканальным угловым прессованием размер зерен наноматериалов составляет около 100 нм. Достоинство метода интенсивной пластической деформации состоит в возможности получения беспористых наноматериалов, причем последние могут быть довольно значительных размеров, имея в виду возможности равноканального углового прессования.
2.2.3 Контролируемая кристаллизация из аморфного состояния
Как известно, многие из элементов, металлических сплавов и соединений (например, Si, Se, сплавы Fe, Ni, Al, Zr и др.) могут находиться в аморфном состоянии, т.е. характеризуются только ближним порядком при отсутствии дальнего порядка в расположении атомов.
Методы получения аморфных материалов весьма разнообразны и хорошо разработаны в разных вариантах: конденсация из газовой фазы, закалка из жидкого состояния, ионная имплантация, высокоэнергетическое измельчение и др. Если аморфные материалы подвергать контролируемому рекристаллизационному отжигу, управляя процессами зарождения и роста кристаллитов, то можно получить наноматериалы с кристаллитами небольшого размера (около 10-20 нм и менее) и практически беспористые.
Следует также иметь в виду, что в зависимости от условий закалки из жидкого состояния можно выделить три типа наноструктур [13]:
1) полная кристаллизация непосредственно в процессе закалки из расплава и образование одно- или многофазной как обычной поликристаллической структуры, так и наноструктуры;
2) кристаллизация в процессе закалки из расплава протекает не полностью и образуется аморфно-кристаллическая структура;
3) закалка из расплава приводит к образованию аморфного состояния, которое трансформируется в наноструктуру только при последующей термической обработке.
Для переработки аморфньих порошков, получаемых, например, газовым распылением жидких расплавов, используют приемы горячей обработки давлением, как это было продемонстрировано японскими исследователями [14] на примере объемных заготовок высокопрочного сплава Al – Y – Ni – Co.
2.2.4 Технология пленок и покрытий
Эти методы весьма универсальны в отношении состава наноматериалов, которые могут быть изготовлены практически в беспористом состоянии в широком диапазоне размеров зерен, начиная от 1-2 нм и более. Единственное ограничение – это толщина пленок и покрытий – от нескольких долей микрона до сотен микрон. Используются как физические методы осаждения, так и химические методы, а так же электроосаждение и некоторые другие приемы. Разделение методов осажаения на физические и химические условно, поскольку, например, многие физические приемы включают химические реакции, а химические методы стимулируются физическими воздействиями.
В Таблица 2 приведены основные методы получения наноструктурных пленок на основе тугоплавких соединений (карбидов, нитридов, боридов) [15]. Возбуждение дугового разряда в азотной или углеродсодержащей атмосфере – один из наиболее распространенных вариантов технологии ионного осаждения; в качестве источника ионов металлов используют металлические катоды. Электродуговое испарение весьма производительно, но сопровождается образованием металлической капельной фазы, освобождение от которой требует специальных конструктивных мер. Этого недостатка лишен магнетронный вариант ионно-плазменного осаждения, в котором мишень (катод) распыляется за счет бомбардировки ионами плазмы газового разряда низкого давления, которая формируется между катодом и анодом. Поперечное постоянное магнитное поле локализует плазму у распыляемой поверхности мишени и повышает эффективность распыления.
Таблица 2 Основные методы получения наноструктурвых пленок на основе тугоплавких соединений
| Метод | Вариант метода | Соединение |
| Физические методы | ||
| Термическое испарение | Активированное реактивное испарение | Нитриды и карбиды |
| Электронно-лучевой нагрев | Бориды и карбиды | |
| Лазерная обработка | Нитриды и карбиды | |
| Ионное осаждение | Ионно-дуговое распыление | Нитриды и карбиды |
| Магнетронное распыление | Нитриды, карбиды, бориды | |
| Ионно-лучевая обработка; имплантация | Нитриды и бориды | |
| Химические методы | ||
| Осаждение из газовой фазы | Плазмосопровождаемые и плазмоактивируемые СDV-процессы | Нитриды, карбиды, бориды |
| Электронный циклотронный резонанс | То же | |
| Термическое разложение | Газообразные и конденсированные прекурсоры | Нитриды и бориды |
На Рисунок 5 показана схема магнетронного распыления с мишенью прямоугольной формы, на поверхности которой в районе выхода и входа магнитных силовых линий возникает «дорожка распыления». Напыляемые подложки (на схеме не показаны) расположены над мишенью и для достижения равномерности пленок по составу и структуре подвергаются вращению.















