110472 (709390)
Текст из файла
Тема: Конструкции и расчёт объёмных гидромашин и элементов гидропривода
-
Гидравлические машины объёмного действия
а) поршневые
б) планетарные
в) пластинчатые
г) шестерённые
-
Гидродвигатели В.П. движения
-
Кондиционеры (резервуары, охладители, Р.В.Д.)
-
Контрольно-регулирующие и распределительные элементы
-
Фильтры и рабочие жидкости гидроприводов
При изучении гидродинамических машин (насосов) мы уже рассматривали их конструкцию.
Вспомним: Гидронасос − машина, преобразующая механическую энергию твёрдого тела в гидравлическую энергию жидкости.
Гидродвигатель − машина, преобразующая гидравлическую энергию жидкости в механическую энергию твёрдого тела.
Объемной гидравлической машиной называют такие гидравлические машины у которой рабочий процесс происходит за счёт попеременного (поочерёдного) заполнения и вытеснения рабочей жидкости из рабочей камеры.
Объёмный гидропривод находит всё большее распространение в сельскохозяйственной отрасли.
При изучении с/х техники в хозяйствах с ней поступит документация, а именно:
- тех паспорт
- инструкция по эксплуатации, где найдёте схему гидросистемы, как ей пользоваться? Что есть что?
Давайте рассмотрим:
Обозначение на схемах:
Насосы:
Q- const Q≠const Q−const Q≠const
не регул. Регул. Не регул. Регул.
не реверс. Не реврс. Реверс. Реверс.
Гидроматоры:
Применение: ГСТ, в ходовых системах Дон-1500, Е-512, 516 КСК-100 «Полесье»
Гидромашины классифицируются:
-
по принципу действия
− с постоянным и регулируемым объёмом
− с постоянным и регулируемым потоком потоком
- одно, - двух и – многократного действия
2) По конструкции:
− шестерённые, − поршневые,
− пластинчатые, - винтовые, - планетарные и др.
Общие параметры и характеристики гидромашин:
-
рабочий объём, q0, см3/об
-
расход жидкости (производительность)
Q=q0∙n где n[c-1]
К.П.Д. ηг.м.=n0∙ n1∙ nм
-
Момент, развиваемый гидролмашиной:
M=0.159ΔP∙ q0∙n
где q0−см3/об
ΔP=Pн−Pcп, МПа
-
Мощность
N= M∙ω, где ω-[c-1]
Поршневые гидромашины: − предназначены для перекачки воды, топлива, масел, жидких удобрений и т.д.
Бывают одно-, двух-, трёх- … … многопоршневые
Для любого поршневого насоса объёмная постоянная будет оределятся:
q0=
где h − ход z − число поршней
Для обеспечения постоянства подачи (равномерности) применяют демпферные устройства:
- гидроколпаки, - гидроаккумуляторы, и др.
Аксиально-поршневые гидромашины:
Применяются в ГСТ:
Особенность: имеют наклонный диск 6
-
Корпус
-
Распределитель
-
Поршень
-
Направляющие обоймы
-
Каналы
Корпус не вращается, вращается наклонный диск (шайба)
q0=
угол β регулируется (−30…+30)
Имеются машины с наклонным блоком у них угол β − const = 200…300.
Применяют у машин, совершающих поворотное движение:краны, экскаваторы, грейдеры и т.п.
Планетарные гидромашины
Применяют для привода рабочих органов с/х машин
При повороте вала на один оборот происодит переключение каналов по следующему циклу: I−IV−VII−VI−II−I. Следовательно, за один оборот ротора у гидромашин происходит шесть рабочих циклов при семи циклах распределителя.
Рабочий узел это шестерённая пара внутреннего зацепления.
q0=
Dе − диаметр делительной окружности
z1 − число зубьев ротора
z2 − число зубьев статора
е − эксцентриситет
b − величина шестерни
− объёмный К.П.Д.
К.П.К. гидропривод на выгрузном шнеке комбайна
Механические характеристики гидродвигателей в тех. паспорте
Радиально-поршневые машины
Используются в ходовых системах как гидродвигатели;
q0=
где е − эксцентриситет
z − число поршней
К − число рядов
Радиально-поршневые машины
-
Плунжер
-
Ротор с цилиндрами
-
Распределительное устройство
-
Направляющая обойма
-
Канал
Подача регулируется изменением «е»
Одной из распространённых модификаций является высокомоментальный гидропривод для ходовых колёс.
Высокомоментальный гидродвигатель называют ещё тихоходные гидромоторы.
К.П.Д.
M=
Шестерённые гидромашины
бывают с наружным зацеплением и с внутренним.
Схема шестерённых гидромашин
а) 1. Ведомая шестерня
2. Корпус
3. Ведущая шестерня
4. Вал
А и Б − всасывающая и нагнетательная полости
б) С внутренним зацеплением
1. Внутренняя шестерня
2. Подвижная шестерня
3. Разделитель
4. Вал
5. Корпус
А и Б − всасывающая и нагнетательная полости
q0=
где m − модуль
b − ширина шестерни
z − число зубьев
где R − радиус выступов
r − радиус впадин
b − ширина шестерни
z − число зубьев
Используются Р=20…50 МПа
Роторно-пластинчатые гидромоторы:
Пластинчатый насос однократного действия
-
Всасывающее окно
-
Пластина
-
Нагнетательное окно
-
Ротор
-
Статор
Объём рабочей жидкости:
где k − число пластин
h − толщина пластин
b − ширина пластин
Промышленный выпуск насосов с постоянным объёмом рабочей жидкости:
q0=10…850 см3/об
Рабочее давление ΔP=16…20 МПа
Для роторно-пластинчатых гидромоторов:
q0=80…16000 см3/об
Mкр= до 50 кН∙м
Гидродвигатели возвратно-поступательного движения (действия)
Гидродвигатели возвратно-поступательного движения (действия) – машина преобразующая гидравлическую энергию жидкости в возвратно-поступательное движение твёрдого тела.
К ним относятся
− гидроцилиндры
− поворотники различного рода
− вибраторы (ДВП−80)
Гидроцилиндры
1) 2)
-
Гидродвигатель одинарного действия
-
Гидродвигатель двойного действия
-
Телескопический
Основной характер является усилие на штоке
где ηц=0,97…0,98
Мощность гидроцилиндра
N=F∙σ=
Крутящий момент
ΔP − перепад давления
Sп − площадь поршня
De − диаметр делительной окружности шестерни
z − количество одновременно работающих поршеней
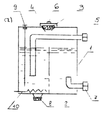
3. КОНДИЦИОНЕРЫ (Резервуары, охладители, гидроаккумуляторы, трубопроводы, фильтры)
О
бозначаются на схемах
Корпус
-
Перегородка
-
Фильтр
-
Горловина
-
Сливная магистраль
-
Сапун
-
Всасывающая магистраль
-
Сливная пробка с магнитом
-
Щуп
-
Охладитель
Резервуары могут быть с атмосферным давлением и с избыточным
Тракторный резервуар с атмосферным
ГСТ−90 с избыточным
Объём резервуара:
V=
c − количество тепла выделяемое при работе
a − коэффициент перевода [Дж] 0,06−0,069
Ктп − коэффициент теплопередачи жидкости окружающему воздуху.
tж − темп. жидк.
tв − тепература
Трудно подсчитать V − резервуара можно подсчитать, используя формулу:
V=(0,5÷2)qH
где qH − производительность насоса в л/мин
НШ−32 − qH=40 л/мин
Если работает система перемешки, то V=0,5 qH≈20 л
то V=2∙qH≈80 л
ОХЛАДИТЕЛИ
На схемах:
открытый закрытый охладитель отвода
тепла
Площадь охладителя:
В результате нагрева рабочей жидкости
C − тепло гидроприв. отвод.
Cp − количество тепла отводящееся поверхности резервуара
ГИДРОАККУМУЛЯТОРЫ
Могут быть диафрагмовые, плунжерные, поршневые
V=Sп∙h
h − зависит от глубины обработки
При сжатии газа происходит политропный процесс (закон)
χ=1,4
V1 − объём при Рт
V,P − объём и давление текущее (изменение) при текущем Р
Гидроаккумулятор газовый поршневой
ТРУБОПРОВОДЫ
Н
а схемах: соедин. не соед.
необходимо соед.
Диаметр труб выбирает исходя из уравнения неразрывности
Q=v∙S
где v − скорость движения жидкости в трубопроводе.
Q − расход.
Для тонкой очистки необходимы керамические фильтры. Если бы примеси удалось уменьшить с 25 до 5, то срок службы увеличился бы в 10 раз.
Жидкости могут отстаиваться (очищаться) в − гравитационном поле
− центробежном поле
− магнитном поле
− и очищающих элементах
Фильтры: поверхностные, объёмные, комбинированные.
Различают фильтры: 1) сетчатые
-
из тонкой войлочной бумаги
-
сетки с войлочной бумагой
Фильтры характеризует коэффициент фильтрации:
К=
,
где n1 − количество частиц вне фильтрации
Пропускная способность фильтра Qф
,
где К − удельная пропускная способность
S − полощадь фильтрующего материала
μ − коэффициент динамической вязкости
Если взять загрязнённость воздуха она находится в пределах (от 0,047 до 3,43) г/м3 пыли
Для жидкости это загрязнение активное.
На схеме:
фильтр
Контрольно-регулирующие и распределительные элементы.
Клапана: − переливные
− предохранительные
− разности потоков
Н
а схемах: регулируемые винтом
Наиболее распространённые
− шариковые
h − величина подъёма клапана (сжатая пружина)
− конусные
dу − условный диаметр
Расход жидкости через клапан
Коэффициент расхода μкл=0,6÷0,72;
Характеристики
Тип файла документ
Документы такого типа открываются такими программами, как Microsoft Office Word на компьютерах Windows, Apple Pages на компьютерах Mac, Open Office - бесплатная альтернатива на различных платформах, в том числе Linux. Наиболее простым и современным решением будут Google документы, так как открываются онлайн без скачивания прямо в браузере на любой платформе. Существуют российские качественные аналоги, например от Яндекса.
Будьте внимательны на мобильных устройствах, так как там используются упрощённый функционал даже в официальном приложении от Microsoft, поэтому для просмотра скачивайте PDF-версию. А если нужно редактировать файл, то используйте оригинальный файл.
Файлы такого типа обычно разбиты на страницы, а текст может быть форматированным (жирный, курсив, выбор шрифта, таблицы и т.п.), а также в него можно добавлять изображения. Формат идеально подходит для рефератов, докладов и РПЗ курсовых проектов, которые необходимо распечатать. Кстати перед печатью также сохраняйте файл в PDF, так как принтер может начудить со шрифтами.
















